2 -ой раздел конструкции (1220423), страница 2
Текст из файла (страница 2)
Коэффициент поперечного армирования:
; Asw = 0,5 см2 (четыре диаметра 4 Bp-I);
w1 = 1 + 5 · 7,08 · 0,0013 = 1,05 < 1,3.
Коэффициент b1 = 1 – b2Rb = 1 – 0,01 · 0,9 · 10,35 = 0,9, где = 0,01 для тяжелого бетона.
Q = 25,3 кН < 0,3·1,05·0,9·0,9·11,5·37,7·19·100 = 210179 Н = 210,2 кН.
Следовательно, размеры поперечного сечения плиты достаточны.
Проверяем необходимость постановки расчетной поперечной арматуры из условия:
(2.17)
Коэффициент b3 = 0,6 для тяжелого бетона.
Проверяем условие [4, форм. 73]
2,5Rbtbh0=2.5·0.81·377·190=145.1кНQ=33,81кН т.е. условие выполняется.
Проверяем условие [4, форм. 74], принимая упрощенно Qb1=Qb,min и с=2,5; h0=2,5·0,19=0,475м.
Находим усилие обжатия от растянутой арматуры:
P=0,7spAsp=0.7·745·471=245.6Кн (2.17)
Вычисляем:
(2.18)
тогда Qb,min=
кН
Qb1 =Qb,min=47,38кН
Так как Q=Qmax – ql·c=33,81 – 12,14·0,475=28,04кН, следовательно для прочности наклонных сечений по расчету арматуры не требуется. Поперечная арматура ставится по конструктивным требованиям.
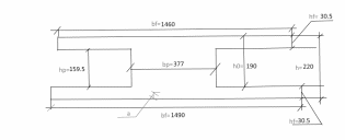
Рисунок 2.5 — Расчетное сечение плиты для расчетов по второй группе предельных состояний.
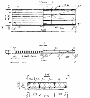
Рисунок 2.6 — Плита П-1
2.4.4 Расчет плиты по предельным состояниям второй группы.
Согласно [2, табл. 2 ], круглопустотная плита эксплуатируется в закрытом помещении и армируется напрягаемой арматурой класса А-500 диаметром 10мм и должна удовлетворять 3-й категории требований по трещиностойкости, то есть допускается непродолжительное раскрытие трещин шириной аcrc1=0,4мм, и продолжительное аcrc2=0,3мм. Прогиб плиты от действия постоянных и длительно действующих нагрузок не должен превышать fn=30,7мм по [8, табл.19]
Вычисляем геометрические характеристики сечения плиты:
Площадь приведенного сечения:
Ared=bfhf+bhp+ bf hf+
Asp=
=1460·38,9+458·143,1+1490·38+7,04·402=1817,84·102мм2 (2.19)
Sred= bfhf(h-0.5 hf)+bhp(hf+0.5hp)+0.5 bf hf2+
Aspa=
=1460·38,9(220-0,5·38,9)+458·143,1(38+0,5·143,1)+0,5·1490·382+7,04·
·24=1971,36·104мм3 (2.20)
y0= Sred/ Ared=1971,36·104мм3/1817,84·102мм2=108.5мм (2.21)
y0=h- y0=220-108.5=111.5мм (2.22)
Момент инерции:
Ired= bfhf3/12+ bfhf( y0-0.5 hf)2+bhp3/12+bhp(y0- hf -0.5hp)2+ bf hf3/12+ bf hf·
·( y0-0.5 hf)2+
Asp(y0-a)2 (2.23)
Ired=1460·38,93/12+1460·38,9(111,5-0,5·38,9)2+458·143,13/12+458·143,1·
·(108,5-38-0,5·143,1)2+1490·383/12+1490·38(108,5-0,5·38)2+7,04·402·
·(108,5-24)2=1080,86·106мм4 (2.24)
Момент сопротивления:
W
= Ired/ y0=1080,86·106/108.5=996.18·104мм3 (2.25)
W
= Ired/ y0=1080,86·106/111.5=969.38·104мм3 (2.26)
По [5, табл. 38] находим коэффициент
=1,5
W
=
W
=1,5·996.18·104=1494,27·104мм3 (2.27)
W
=
W
=1,5·969.38·104=969,38·104мм3 (2.28)
2.4.4.1 Определение потерь
Первые потери определяем по [2, табл. 5]
Коэффициент точности натяжения арматуры p=1. Потери от релаксации напряжений в арматуре при электротермическом способе натяжения:
sp=0.03745=22,35 МПа (2.29)
Потери от температурного перепада между натянутой арматурой и упорами: 2=1,25·65=81,25МПа
Остальные потери 3, 4, 5 – отсутствуют.
Таким образом усилие обжатия P1 с учетом потерь по [2, табл. 5] равно: P1=As(sp-1-2)=471(745-22,35-81,25)=257,84кH (2.29)
Точка приложения усилия P1 совпадает с центром тяжести сечения напрягаемой арматуры, по этому: eop=y0-а=108,5-30 = 78,5мм
Определяем потери от быстро натекающей ползучести бетона, для чего вычисляем напряжение в бетоне в середине пролета от действия силы P1 и изгибающего момента Мw от собственной массы плиты.
Нагрузка от собственной массы плиты равна qw=3,0·1,5=4,5кН/м, тогда
Мw= qwl0/8=4,5·5,572/8=17,45кНм
Напряжение на уровне растянутой арматуры bp (т.е. при y= eop=78.5) будет равно:
(257,84·103)/(1817,84·102)+(257,84·103·78,5-17,45·
·106) ·78,5/(1080,86·106)=1,76МПа (2.30)
Напряжение на уровне крайнего сжатого волокна bp (т.е. при у=h-у0=220- 108,5=111,5мм)
bp=(257,84·103)/(1817,84·102)-(257,84·103·78,5-17,45·106) ·111,5/(1080,86·
·106)=0,97МПа
Назначаем придаточную прочность бетона Rbp=20МПа (R
=15МПа, R
=1,4МПа) удовлетворяющую требованиям [2, п 2.6]
Потери от быстро натекающей ползучести бетона будут равны:
- на уровне растянутой арматуры
=0,25+0,025
Rbp=0,25+0,025
20=0,75≤0,8
Поскольку bp/ Rbp=1,76/20=0,088
=0,75, то 6=40
0,85(bp/ Rbp)=40
0,85
(1,76/20)=2,99МПа (коэффициент 0,85 – учитывает тепловую обработку при твердении бетона)
– на уровне крайнего сжатого волокна 6=40
0,85(0,97/20)=1,65МПа
Первые потери составят: loc1=1+2+6=22.35+81.25+2.99+106.6МПа
Тогда усилие обжатия с учетом первых потерь
P1= Аsp(sp-los1)=471(745-106.6)=256.64кН (2.31)
Определяем максимальное сжимающее усилие в бетоне от действия силы P1, без учета собственной массы, принимаем у=у0=108,5мм,
(2.32)
Поскольку bp/Rbp=3,59/20=0,18≤0,95, требования [2, п 1.29] удовлетворяются.
Определяем вторые потери предварительного напряжения по [2, табл.5]
Потери от усадки тяжелого бетона: 8–8=35МПа
Напряжения от действия силы P1 и изгибающего момента Мw будут равны:
bp=
bp=
Так как bp/Rbp0,75 и bp/Rbp0,75, то
9=150
(bp/Rbp)=150·0,85(1,74/20)=11,09МПа
9=150·0,85(0,97/20)=6,18МПа
Тогда вторые потери будут равны:
loc2=8+9=35+11.09=46.09МПа
Суммарные потери будут составлять:
loc=loc1+loc2=106,6+46,09=152,7МПа100 МПа, по этому, согласно п. 1.25 (2) потери не увеличиваем.
Усилие обжатия с учетом суммарных потерь будет равно:
P2= Аsp(sp-los)=471(745-152,7)=238,1кН (2.33)
Проверку образования трещин в плите выполняем по формулам п. 4.5 (2) для выяснения необходимости расчета по ширине раскрытия трещин и выявления случая расчета по деформациям.
При действии внешних нагрузок в стадии эксплуатации максимальное напряжение в сжатом бетоне равно:
(2.34)
Тогда
=1,6-b/ R
=1,6-3,47/15=1,371, принимаем
=1, а rsup=
·
·(W
/ Аred)=1(996.18·104/1817.84·102)=54.8мм
Так как при действии усилия обжатия P1 в стадии изготовления минимальное напряжение в бетоне (в верхней зоне) равно:
(2.35)
то есть будет сжимающим, следовательно верхние начальные трещины не образуются.
Согласно[2, п.4.5] принимаем:
Mr=Mtot=41.07кНм
Mrp=P2(eop+rsup)=238.1·103(84.5+54.8)=33.17кНм (2.36)
Mcrc= R
W
+ Mr=1,4·1494,27·104+33,17·106=54,1кНм (2.36)
Так как Mcrc=54,1кНм Mr=41,07кНм, то трещины в нижней зоне не образуются, то есть не требуется расчет ширины раскрытия трещин.
Расчет прогиба плиты выполняем согласно[2, п.4.24] при условии отсутствия трещин в растянутой зоне бетона.
Находим кривизну от действия постоянной и длительной нагрузок (М=Мl=37,32кНм,
b1=0.85,
b2=2)
Прогиб плиты без учета выгиба от усадки бетона при предварительном обжатии будет равен:
Это значит, что прогиб допустимый.
2.5 Выбор типа фундаментов. Анализ инженерно-геологических условий площадки строительства
ИГЭ-1 – насыпной грунт мощностью 1,1м. Плотность составляет 1,65г/см3. Влажность w=12%. Физико-механические свойства не определяются. Основанием служить не может.
ИГЭ-2 – песок средней крупности, в состоянии средней плотности, во влажном состоянии. Мощность слоя – 1,7м. Влажность – w=13,6%; плотность-
=1,88г/см3; коэффициент пористости – е=0,61. Категория грунта– II. Условное расчетное сопротивление – R0=200кПа100кПа. Основанием фундамента мелкого заложений служить может.
ИГЭ-3 – Суглинок твердый, влажный. В случае аварийного замачивания будет в стабильном состоянии. Мощность слоя – 3,5м. Плотность грунта -
=1.85г/см3; коэффициент пористости – е=0,65; модуль общей деформации – Е=20,6МПа. Категория грунта– II. Условное расчетное сопротивление R0=257кПа100кПа. Основанием фундаментов мелкого заложения служить может. Основанием свайного фундамента служить может.
ИГЭ-4 – Песок средней крупности, в состоянии средней плотности, насыщен водой. Мощность слоя 2,2м. Плотность грунта -
=2,00г/см3; коэффициент пористости – е=0,65; модуль общей деформации – Е=31,8МПа. Категория грунта– III. Основанием свайного фундамента являться не может, так как мала мощность слоя и грунт насыщен водой.
ИГЭ-5 – Глина тугопластичная, насыщена водой, находится в стабильном состоянии. Мощность слоя 3,9м. Плотность грунта -
=2,01г/см3; коэффициент пористости – е=0,723; Категория грунта– III. Условное расчетное сопротивление R0=330кПа100кПа. Основанием свайного фундамента служить может.
ИГЭ-6 – Супесь твердая, насыщенная водой. Вскрытая мощность слоя 2,6м. . Плотность грунта -
=2,10г/см3; коэффициент пористости – е =0,57; Категория грунта– II. Условное расчетное сопротивление R0=280кПа100кПа. Основанием свайного фундамента служить может.
Выводы: за основание фундаментов мелкого заложения принимаем ИГЭ-2 – песок средней крупности. За основание свайного фундамента принимаем ИГЭ-5 и ИГЭ-6. Категорию грунтов строительной площадки принимаем по [17]














