РАЗДЕЛ 1 АРХИТЕКТУРА (1218348), страница 2
Текст из файла (страница 2)
Крыша - цвет серый (№4 кровельные сэндвич – панели)
1.3 Обоснование выбора конструктивных элементов
Выбрав на основе эскизного проектирования здания, принципиальное решение его элементов и конструкций приступаем к обоснованию и уточнению размеров и разработке отдельных деталей конструкций.
1.3.1 Фундаменты
Фундаменты – монолитные железобетонные столбчатые под колонны из бетона класса В 25, F 150, W 6. Заглубление ,согласно нормативной глубине промерзания, производим на глубину - 2,450 м.
Армирование выполняется по расчету, арматура класса А400.
Под фундаментами устраивается бетонной подготовка из бетона класса
В 7,5, толщиной 100 мм. До начала укладки фундаментов грунты очищаются от строительного мусора и осушаются.
.
Рисунок 1.5 Фундамент здания
-
Колонны
Колонны – металлические из прокатного профиля, сечения двутавровые, принятые по расчету (см. раздел Конструкции).
Колонны запроектированы с поэтажной разрезкой. Соединение колонн основного каркаса с фундаментом – жесткое. Соединение колонн основного каркаса с ригелями в двух направлениях – жесткое. Заводские сварные швы выполняются полуавтоматической сваркой в углекислом газе. Монтажные швы делаются ручной сваркой. Все швы К=6 мм, кроме оговоренных.
1.3.3 Наружные стены
Наружные стены здания выполнены из трехслойных сэндвич-панелей для чистых помещений Sterilium® с утеплением минераловатными плитами БАЗАЛИТ ВЕНТИ-В, прикрепленные к стойкам и ригелям фахверка специальными крепежными системами.
Стеновые сэндвич-панели — уникальный, высокотехнологичный, современный строительный материал, благодаря которому появилась возможность возводить стеновые конструкции жилых домов, промышленных объектов и общественных сооружений в максимально короткие сроки.
Конструкция стеновых сэндвич-панелей состоит из основных элементов: наружной облицовки, гидро-ветрозащиты, утеплителя, основы. Основой данных облицовочных панелей является так называемый сэндвич-профиль, изготавливаемый из стали толщиной 0,7, 0,8 и 1 мм, обработанной специальным образом. На сталь нанесено полимерное покрытие, которое является дополнительной защитой от коррозии.
Сэндвич-панели Sterilium®. (рисунок 1.6) Лицевая сторона L Control – плёнка-ламинат ПВХ, нанесённая на грунтовку. Такие сэндвич-панели не абсорбируют запахи, выдерживают широкие температурные колебания.
Рисунок 1.6 Стеновая сэндвич-панель
-
Теплотехнический расчёт наружных стен
При строительстве здания нужно привести конструкции к действующим требованиям. Общее сопротивление ограждения теплопередаче должно быть не менее требуемого R0тр. Теплотехнический расчет ограждающих конструкций производится для отапливаемых помещений в зимних условиях, когда тепловой поток направлен из помещений в наружную среду.
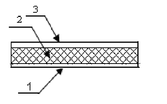
Рисунок 1.7 Схема слоёв наружной стены из сэндвич-панелей
1, 3 – сталь; 2 – утеплитель;
Таблица 1.3 - Теплотехнические характеристики материалов
| №№ слоя | Наименование материала | Удельный вес γ0, кг/м3 | Толщина слоя δ, м | Коэффициент теплопроводности λ, Вт/м0С |
| Наружная стена | ||||
| 1 | Сталь оцинкованная | 2600 | 0,001 | 221 |
| 2 | Плиты на основе базальтового стекловолокна | 100 | х | 0,045 |
Проведем расчет термического сопротивления принятых толщин утеплителя:
Требуемое сопротивление теплопередач R02тр, ограждающих конструкций, исходя из условия энергосбережения по [2, табл. 3].
Градусо-сутки отопительного периода, при этом определяют по
формуле: ГСОП = ( tв – tот.пер)×Zот.пер., (2.2)
где Zот.пер - средняя продолжительность относительного периода, со среднесуточной температурой воздуха ниже или равной 80С [2] Zот.пер = 223 сут.; tот.пер.- средняя температура отопительного периода, 0С, tот.пер.=-0,4°С по [1];
ГСОП = (22 + 0,4) × 223 = 4995,2 (°С×сут)
По [3, табл. 3] исходя из значения ГСОП R0тр определяется по формуле:
,
= 0,00035х4995,2+1,4=3,15 (м2×°С)/Вт
Необходимую толщину слоя утеплителя наружной стены определяем по формуле
, (2.3)
где di, li - соответственно толщина, м, и коэффициент теплопроводности материала, Вт/(м/°C), i-го конструктивного слоя ограждения;
dут, lут - соответственно толщина, м, и коэффициент теплопроводности утеплителя, Вт/(м/°C);
aн=12 - коэффициент теплоотдачи наружной поверхности ограждающей конструкции для зимних условий, Вт/(м2·°С), [ 2, табл. 6].
(м)
Принятая толщина утепляющего слоя 0,14 м; при этом сопротивление стены теплопередаче составит: R0=3,27 (м2∙0С)/Вт и условие
(3,27>3,15) выполнено следовательно толщина утеплителя для данного пункта строительства рассчитана верно.
-
Перекрытия, покрытия
Перекрытие междуэтажное – монолитная железобетонная плита по профилированному настилу Н40-1000-0.8 и ГОСТ 24045-94 из тяжелого бетона класса В 15. Толщина плит принимаем (средняя) 90 мм. Плиты армируют арматурными сетками по ГОСТ 23279-85.
Стальной профилированый настил Н40-1000-0,8 крепят к стальным ригелям и распоркам покрытия дюбель-гвоздями ДГ4.5-20 по ТУ 14-4-1434-87 с шагом 500 мм (по 2 шт. на ширину листа) по месту. Между собой листы крепят комбинированными заклепками 3К-10 по ТУ 67-74-75 с шагом 1,0-0,9 м.
Чердачное перекрытие выполнено из стального рифлённого настила по металлическим балкам настила.
Покрытие – кровельная сэндвич-панель с утеплением теплоизоляцион-ными плитами из базальтового волокна «Базалит ПТ-200», объемным весом Р=200 кг/куб.м.
1.3.6 Теплотехнический расчёт покрытия
Схема расположения слоёв ограждающих конструкций покрытия представлена на рисунке 1.4
Рисунок 1.8 Схема слоёв покрытия.
1, 3 – сталь; 2 – утеплитель.
Таблица 1.4 - Теплотехнические характеристики материалов
| №№ слоя | Наименование материала | Удельный вес γ0, кг/м3 | Толщина слоя δ, м | Коэффициент теплопроводности λ, Вт/м0С |
| 11,3 | Сталь оцинкованная | 2600 | 0,001 | 221 |
| 22 | Плиты на основе базальтового стекловолокна | 100 | х | 0,045 |
Производим расчет термического сопротивления принятых толщин утеплителя:
Нужное сопротивление теплопередач R02тр, ограждающих конструкций, исходя из условия энергосбережения по [2, табл. 3].
Градусо-сутки отопительного периода, при этом определяют по формуле: ГСОП = ( tв – tот.пер)×Zот.пер., (2.2)
ГСОП = (22 + 0,4) × 223= 4995,2 (°С×сут)
По [2, табл. 3] исходя из значения ГСОП R0тр определяется по формуле:
,
= 0,0005х4995,2+2,2=4,7 (м2×°С)/Вт
Необходимую толщину слоя утеплителя покрытия определяем по формуле:
, (2.3)
где di, li - соответственно толщина, м, и коэффициент теплопроводности материала, Вт/(м/°C), i-го конструктивного слоя ограждения;
dут, lут - соответственно толщина, м, и коэффициент теплопроводности утеплителя, Вт/(м/°C);
aн=23 - коэффициент теплоотдачи наружной поверхности ограждающей конструкции для зимних условий, Вт/(м2·°С), [ 3, табл. 6].
(м)
Принятая толщина утепляющего слоя 0,21 м; при этом сопротивление покрытия теплопередаче составит: R0=4,83 (м2∙0С)/Вт и условие
(4,83>4,7) выполнено следовательно толщина утеплителя для данного пункта строительства рассчитана верно.
-
Лестницы
Лестницы внутренние – сборные железобетонные, ступени индивидуального изготовления по металлическим косоурам.
Лестничный марш сделана из двух лестничных площадок и двух косоуров. Лестничные площадки выполнены из монолитного бетона, косоуры – из прокатного швеллера. В уровне косоуров запроектированы ступени из монолитного бетона. Ступени сечением 15х30 см, ширина марша для каждой лестницы различна и составляет 1200-1250 мм. Толщина лестничной площадки 20 см.
Ступени усиливаются гнутыми сетками из арматуры класса АI, стержни которых привариваются к внутренней грани стенки швеллеров. Площадки армируются двумя сетками из арматуры класса АIII. В том месте, где сетка подходит к закладной детали для крепления косоура, стержни загибаются и привариваются к внутренней грани стенки швеллера. Сетки вяжутся на месте из отдельных стержней мягкой проволокой диаметром 2 мм. Косоуры привариваются к закладной детали, которая обрамляет лестничные площадки. Косоуры замоноличиваются бетоном толщиной 30 мм при выполнении ступеней. Ограждение лестницы крепятся к верхней полке швеллера.
Наружные эвакуационные лестницы – металлические по серии 1.450.3-7.94.
1.3.8 Перегородки
Перегородки выполняются поэлементно, толщиной 120 мм, (по технологии «Кнауф», сер. 1.031.9-3.07, в.1).
Таблица 1.5 - Технические характеристики перегородок
| Марка | Максимальная высота, м | D, мм | d, мм | Шаг стоек, а, мм | Марка элементов каркаса | IВ, дБ | |||
| С 112 | 3,9 | 100 | 12,5 | 600 | ПН 50 | ПС50 | С 112 | 3,9 | |
Узлы крепления перегородок приведены на рисунке Г.1, Г.2, Г.3, Г.4 (приложение Г)
1.3.9 Полы
Половое покрытие должно удовлетворять требованиям прочности и сопротивляемости износу-истиранию и царапинам ударам; должны обладать малым теплоусвоением, легко очищаться; быть нескользкими, бесшумными, беспыльными, влагостойкими и водонепроницаемыми. Пола состоит из ряда последовательно лежащих слоев.
В тамбуре, вестибюле, спальных помещениях, коридорах, обеденном зале, медпункте, служебных помещениях делают полы из линолеума по бетонной подготовке со слоем утеплителя. Эти полы обладают прочностью, легко поддаются очистке, что немаловажно в помещениях с длительным пребыванием людей.
В технических помещениях, тепловом пункте, мастерских устраивается бетонный пол по грунту. В качестве гидроизоляции используется стеклогидроизол, также выполняется подстилающий слой из бетона.
Полы на лестничных площадках выполняются из каменной плитки на прослойке из цементно- песчаного раствора.















