ВКР Дудченко С .Ю. (1213117), страница 7
Текст из файла (страница 7)
Данная полезная модель обеспечивает достижение цели полезной модели.
Полезная модель поясняется чертежами:
-
на фиг. 1 приведен разрез пылеуловителя.
-
на фиг. 2 показано сечение а-а верхней части корпуса.
-
на фиг. 3 показан разрез в-в выходного устройства очищенного газа пылеуловителя.
-
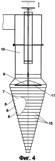
на фиг. 4 приведен вертикальный разрез выходного устройства очищенного газа пылеуловителя.
-
на фиг. 5 приведено вертикальное сечение клапана выходного устройства в двух положениях a) и b).
-
на фиг. 6 показан вид снизу на диск клапана.
-
на фиг. 7 - фиг. 9 показана конструкция клапана с отверстиями, регулируемыми по размеру отверстия, при этом на фиг. 7 - сечение клапана, на фиг. 8 - поворотные диски клапана на видах снизу и на фиг. 9 - диски клапана в сборе.
-
на фиг. 10 показана схема воздушных потоков пылеуловителя.
Пылеуловитель (Фиг. 1 - Фиг. 3) содержит корпус 1, в верхней цилиндрической части которого выполнено входное устройство 2. Входное устройство 2 включает щелевое сопло 4 для ввода загрязненного газа, установленное тангенциально к внутренней поверхности корпуса 1. Верхняя часть корпуса снабжена пластиной 16, выполненной из металла с шероховатой поверхностью На внутренней поверхности цилиндрической части корпуса 1 выполнены карманы 5 (Фиг. 2), ближайшая, в направлении входящего потока газа, стенка каждого из карманов 5 выполнена в виде уступа 6. Нижняя часть корпуса 1 выполнена в виде усеченного конуса, обращенного вершиной вниз. К нижней части корпуса 1 присоединен бункер 14 для сбора пыли. Корпус выходного устройства 3 очищенного газа выполнен конусным, с вершиной, направленной вниз, и включает камеру 7 сбора очищенного газа (Фиг. 4) и входы очищенного газа в камеру 7, выполненные в корпусе устройства 3 в виде множества кольцевых каналов 8. Множество кольцевых каналов 8 в корпусе выходного устройства 3 (Фиг. 1, Фиг. 3 и Фиг. 4) образованы посредством множества цилиндрических колец 15, при этом диаметр каждого кольца 15, расположенного ниже по объему корпуса, меньше, чем верхнего. Кольца закреплены между собой посредством вставок (показаны только на Фиг. 3). Между выходным устройством 3 очищенного газа и внутренней стенкой корпуса 1 пылеуловителя установлена конусная обечайка 13 (фиг. 1).
В верхней части выходного устройства 3 расположено устройство 10 отвода очищенного газа, включающее затвор 9, выполненный с возможностью регулировки прохода 22 очищенного газа между камерой 7 сбора очищенного газа и устройством 10 отвода очищенного газа (Фиг. 4, Фиг. 5). Затвор 9 включает диск 11 и седло затвора 21. Диск 11 затвора 9 (Фиг. 6) содержит проходные отверстия 12, примерно равномерно распределенные по площади диска 11, предназначенные наряду с зазором 22 для прохода очищенного воздуха из камеры 7 в устройство 10 отвода очищенного газа.
Проходные отверстия 12 диска затвора 9 могут быть выполнены регулируемыми по размеру проходного отверстия, как это показано на Фиг. 7 - Фиг. 9. Затвор 9 (Фиг. 7) может быть выполнен в виде двух дисков 17 и 18, установленных соосно относительно друг друга с возможностью поворота. Механизм поворота может быть выполнен в воде поворотных штанг, или поворот дисков может осуществляться с помощью рычагов (на фигурах не показаны). Верхний диск 17 (Фиг. 8 a)) и нижний диск 18 (Фиг. 8 b)) могут содержать прорези 19 и 20 соответственно. При повороте дисков вокруг оси на угол (угол а) (Фиг. 9) может выставляться различный размер проходного отверстия 12. Прорези 19 и 20 в дисках 17 и 18 могут быть выполнены другой формы.
Для регулировки размера отверстий, в частности, может использоваться лепестковый механизм.
Пылеуловитель работает следующим образом. Загрязненный газ подается через щелевое сопло 4 внутрь корпуса 1 с помощью нагнетающего вентилятора. Пылегазовый поток соударяется с пластиной 16, в пристенной области возникают турбулентные потоки, которые снижают механический контакт корпуса пылеуловителя с частицами высокой плотности пылегазового потока. Поток газа закручивается внутри верхней части корпуса 1 в спираль, при этом в зоне уступов 6 создается разряжение. Вихревые потоки в карманах 5 способствуют снижению скорости пылевых частичек, которые по образующим карманов 5, а затем по стенке нижней части 3 корпуса 1 падают в бункер 14. За счет расширения объема в нижней части корпуса 1 поток газа снижает свою скорость, и мелкодисперсная пыль также осаждается в бункер 14. Загрязнения, в основном, попадают в бункер по промежутку между корпусом 1 и обечайкой 13 (Фиг. 10). Однако легкая пыль может быть взвешена по всему объему. Для того чтобы только очищенный газ, в основном, попадал в камеру 7 сбора очищенного газа и выполнено множество кольцевых каналов 8, расположенных последовательно по образующей конусного корпуса выходного устройства 3 очищенного газа. Множество каналов 8 позволяют установить минимальную скорость прохода очищенного газа через каналы 8, причем газ медленно поднимается вверх, не увлекая частички пыли. В камере 7 происходит окончательная очистка потока от легкой пыли, которая оседает вниз и попадает в бункер 14. Это происходит потому (Фиг. 1 - Фиг. 6, Фиг. 10), что подъем воздуха в камере 7 медленный и практически ламинарный за счет проходных отверстий 12 в диске 11 затвора и зазору 22 между диском 11 и седлом 21 затвора 9. Далее очищенный газ попадает в устройство 10 отвода очищенного газа и может быть выведен в атмосферу. Если конструкция затвора 9 пылеуловителя предусматривает регулировку размера проходных отверстий 12, это позволяет настраивать пылеуловитель на более эффективную очистку.
Пылеуловитель может использоваться в различных областях техники, где необходимо очищать достаточно большие объемы запыленного газа, содержащие дисперсные частицы высокой плотности.
Заявленная конструкция пылеуловителя позволяет улавливать, как крупные и средние фракции пыли, мелкодисперсную пыль и даже легко планирующие частицы пыли с сохранением надежности за счет снижения механического износа корпуса аппарата.
















