ВКР Дудченко С .Ю. (1213117), страница 3
Текст из файла (страница 3)
В лаборатории образуется 6 организованных источников выбросов. В атмосферу выделяются пыль неорганическая, свинец и его соединения, сера диоксид, азота диоксид, азота оксид.
Склады реагентов
На складах реагентов источником выбросов загрязняющих веществ в атмосферный воздух является погрузчик. В атмосферу выделяются продукты сгорания дизельного топлива.
Котельная на промплощадке
На промплощадке предусмотрена котельная установка, работающая на твердом топливе. В атмосферу при сжигании твердого топлива выделяются азота оксиды, серы диоксид, углерода оксид, сажа, пыль неорганическая, бенз(а)пирен. Котельная является организованным источником выбросов.
Пожарное депо
Источником выбросов в пожарном депо являются автомашины, при въезде-выезде. В атмосферу поступают оксиды азота, диоксид серы, оксид углерода, сажа, керосин.
Склад ГСМ
На складе ГСМ осуществляется хранение запаса дизельного топлива. При хранении дизельного топлива в резервуарах и при заправке топливозаправщика в атмосферу поступают углеводороды предельные С12-С19 и сероводород.
Гаражно-ремонтный блок
Гаражно-ремонтный блок предназначен для выполнения технического обслуживания, периодического и текущего ремонтов карьерных автосамосвалов, гусеничной техники и вспомогательного автотранспорта предприятия.
Все источники выбросов загрязняющих веществ являются организованными. В атмосферу выделяются, оксиды азота, углерода оксид, серы диоксид, керосин, сажа, фториды газообразные, фториды плохорастворимые, марганец и его соединения, железа оксид.
Открытая стоянка горной и транспортной техники, открытый склад материалов являются неорганизованными источниками загрязнения атмосферы продуктами сгорания дизельного топлива.
Дизельные электростанции
Дизельные электростанции являются организованными источниками загрязнения атмосферного воздуха продуктами сгорания дизельного топлива.
Отвал полусухих хвостов
Отвал полусухих хостов является неорганизованным источником загрязнения атмосферного воздуха. В атмосферу выделяются продукты сгорания дизельного топлива при работе бульдозера-болотохода, который занят на формировании отвала. Для исключения пыления отвала, осуществляется засыпка на отсыпанные поверхности слоя суглинка толщиной 0,3 м.
Площадка вахтового поселка
Котельная со складом угля в вахтовом поселке
В вахтовом поселке предусмотрена котельная установка, работающая на твердом топливе. В атмосферу при сжигании твердого топлива выделяются азота оксиды, серы диоксид, углерода оксид, сажа, пыль неорганическая, бенз(а)пирен. Котельная является организованным источником выбросов. С поверхности склада угля выделяется пыль.
Склад ВМ с полигоном для испытаний и уничтожения ВМ
Источниками выбросами на складе ВМ являются автомашины, работающие на холостом ходу в период разгрузки и погрузки ВВ. В атмосферу выделяются продукты сгорания дизельного топлива.
При уничтожении ВВ в атмосферу выделяются диоксид азот и углерода оксид.
Площадка полигона ТБО
Источником выбросов загрязняющих веществ на полигоне ТБО является площадка складирования отходов. В атмосферу выделяется биогаз, в состав которого входят: оксиды азота, аммиак, сера диоксид, сероводород, углерода оксид, метан, толуол, ксилол, этилбензол, формальдегид.
Автодороги на склад исходной руды, на отвал пустых пород, на полигон ТБО, на склад ВМ
Источниками выбросов на технологических дорогах являются автомашины, выполняющие перевозку грузов. В атмосферу выделяются оксиды азота, углерода оксид, сера диоксид, керосин, сажа. С поверхности дорог выделяется пыль. Дороги являются неорганизованными источниками выбросов загрязняющих веществ.
Проектом предусмотрена максимально возможная при принятой технологии организация местных отсосов и систем вытяжной вентиляции. Всего при эксплуатации проектируемого предприятия образуется 54 источника загрязнения атмосферы, из них неорганизованных – 22. Валовый выброс загрязняющих веществ составит 2102,3 т/год.
2.3 Комплекс мероприятий по уменьшению выбросов в атмосферу
Проектом предусмотрены мероприятия по снижению объема валового выброса загрязняющих веществ в атмосферу, как на организованных, так и на неорганизованных источниках.
На организованных источниках выбросов промплощадки предусмотрены следующие мероприятия по снижению выбросов:
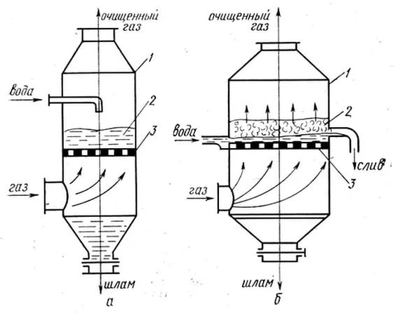
1)В узле приема руды очистка от пыли предусмотрена в установках типа СИОТ-М с эффективностью очистки 95% (рисунок 2.3).
Предназначены для сухой очистки газов, выделяющихся при некоторых технологических процессах (сушке, обжиге, агломерации, сжигании топлива и т.д.), а также аспирационного воздуха в различных отраслях промышленности (черной, цветной металлургии, химической, нефтяной и машиностроительной промышленности, промышленности строительных материалов).Применение циклонов СИОТ-М в условиях взрывоопасных сред недопустимо. Рекомендуется применять циклоны СИОТ при начальной запыленности до 300 г/м3 [20].
Рисунок 2.3 Схема аппаратного устройства СИОТ-М и СИОТ-М1
2)В отделениях измельчения, цианирования и сорбции, сгущения очистка воздуха от паров гидроцианида и щелочи производится в фильтрах типа ФВГ-П-М-С-Ц-1,6. Коэффициент очистки по данным завода-изготовителя – 90%.
3)В отделении десорбции, электролиза и кислотной обработки очистка воздуха от паров гидроксида натрия производится в фильтрах типа ФВГ-П-М-С-Ц-0,37. Коэффициент очистки по данным завода-изготовителя – 90%.
4)В отделении приготовления цианида натрия очистка от паров гидроцианида и щелочи производится в фильтрах типа ФВГ-П-М-С-Ц-1,6 (рисунок 2.4). Коэффициент очистки по данным завода-изготовителя – 90%.
Фильтры волокнистые, гальванические предназначены для высокоэффективной очистки воздушных вентиляционных выбросов от жидких и растворимых в воде твердых аэрозольных частиц и паров в гальванических, травильных и химических производствах; из вытяжных шкафов, лабораторных помещений; моечных камер для струйной обработки поверхностей. Могут использоваться в пищевой промышленности.
Основные преимущества: простота обслуживания (легкая замена фильтрующего материала), небольшие габариты, наличие встроенного гидрозатвора, возможность очищать воздух от аэрозольных частиц кислот, щелочей, солей и их паров [8].
Применение фильтров позволяет снизить выбросы в атмосферу токсичных веществ до норм ПДВ.
Фильтры ФВГ-Т-М, ФВГ-П-М, ФВГ-М без камер входа и выхода (исполнение - 00 ) состоят из прямоугольного корпуса с фланцами для присоединения к газоходам. Фильтры устанавливаются горизонтально, конструкция позволяет встраивать их непосредственно в воздуховоды [8].
Фильтры ФВГ-Т-М, ФВГ-П-М, ФВГ-М с камерами входа и выхода (исполнения 01; 06; 07; 08; 09) имеют габаритные и присоединительные размеры как у ранее разработанных фильтров ФВГ-Т, но по сравнению с ними фильтры ФВГ-Т-М, ФВГ-П-М, ФВГ-М обладают рядом преимуществ:
-
конструкция кассеты обеспечивает легкое извлечение ее из корпуса фильтра при операциях промывки или замене материала и исключает ее поломку даже в случае зарастания кассеты солями и «закисания» ее в направляющих пазах (в фильтрах ФВГ-Т из-за неудачной конструкции деформация и поломка кассет при их извлечении наблюдаются очень часто) [8];
-
легкая и удобная замена фильтрующего материала кассеты фильтра;
-
наличие встроенного гидрозатвора, предотвращающего переток неочищенного воздуха, минуя фильтрующую перегородку;
-
возможность промывки кассеты как внутри, так и вне корпуса фильтра.
Рисунок 2.4 Аппаратное устройство ФВГ-П-М-С-Ц-1,6
5)В отделении приготовления железного купороса очистка от пыли сульфата железа производится в агрегатах типа АОУМ-2000-1 с коэффициентом очистки по данным завода-изготовителя – 99,5%. (рисунок 2.5)
Рисунок 2.5 Схема аппаратного устройства АОУМ-2000-1
Агрегаты для отсоса и улавливания пыли АОУМ предназначены для очистки воздуха от твердых частиц сухих пылей (абразивных, металлических, неметаллических - графит, стекло и т.п.) при среднем размере частиц от 3 мкм и более или от 0,3 мкм и более при наличии блока ультратонкой очистки.[9] Агрегаты АОУМ рекомендуется использовать для отсоса и очистки воздуха от различных типов станков: шлифовальных, заточных, обдирочных, полировальных, а также при операциях зачистки деталей наждаком, дробления, рассева и затаривания пылящих материалов, обработки полимеров, дерева, резины и кожи, графита, пескоструйной обработке, сухой уборке производственных помещений, порошковой окраске и других техпроцессах для возвращения в производство дорогостоящих материалов [9].
Рисунок 2.6 Схема аппаратного устройства АОУМ-1000-1
6)В плавильном отделении установлен скруббер ЦБУ-5Т-2 с эффективностью очистки 99,9% (рисунок 2.7). Центробежно - барботажный аппарат (ЦБА) – это аппарат с идеальным смешением газа и жидкости. Принцип работы ЦБА основан на прохождении газа через вращающийся слой жидкости, удерживаемый центробежными силами в барботажной ступени (завихрителе) [10].
Рисунок 2.7 Схема аппаратного устройства ЦБУ-5Т-2
ЦБА могут использоваться в качестве скруббера, абсорбера, десорбера, контактного теплообменника, аэратора, деаэратора, химического реактора в технологических процессах [10].
Аппараты могут использоваться в следующих процессах:
-
очистка газов от примесей (абсорбция);
-
очистка жидкости от примесей и газов (десорбция);
-
мокрая очистка воздуха/газов от крупно-, средне- и мелкодисперсной пыли;
-
осушка дымовых газов (конденсация водяных паров за счёт охлаждения газов);
-
снижение температуры дымовых газов (охлаждение за счёт теплоёмкости воды и испарения);
-
утилизация тепла отходящих газов;
-
очистка воды от примесей и газов (обезжелезивание (доокисление железа), аэрация, деаэрация и т.д.);
-
очистка нефти от примесей;
-
очистка углеводородных газов от примесей;
-
другие диффузионные процессы.
Сферы применения
Аппараты ЦБА могут применяться в таких отраслях, как:
-
энергетика;
-
металлургия;
-
химическая, нефтехимическая отрасль;
-
нефтеперерабатывающая промышленность;
-
сельскохозяйственная отрасль;
-
промышленность строительных материалов;
-
добывающая и обрабатывающая промышленность;
-
машиностроение;
7)В лаборатории в плавильном отделении и в разварочной очистка выбросов от соединений свинца и газов осуществляется в фильтрах ФВГ-М-0,37-0,9 с эффективностью очистки 96%.
8)В лаборатории в отделении химической подготовки проб очистка от пыли оксида азота производится в фильтрах ФВГ-П-М-0,12-00 с эффективностью очистки 96%.
3 Обращение с отходами на предприятии
Основными мероприятиями по охране окружающей среды от отходов производства и потребления проектируемого предприятия являются следующие.
Организация мест временного складирования отходов, что позволяет предотвратить появление неорганизованных свалок, захламление и химическое загрязнение территории предприятия и прилегающих земель.
На промплощадке предприятия предусмотрена организация специальных мест и емкостей для сбора и накопления отходов, не допускающих их разлива или ветрового разноса по поверхности, в том числе:
-
места хранения в закрытых складских помещениях;
-
открытые площадки временного хранения с водонепроницаемым твердым покрытием;
-
установка закрытых металлических контейнеров.
Предельный объем временного накопления отходов обусловлен требованиями экологической и пожарной безопасности. Периодичность вывоза отходов зависит от класса опасности и физико-химических свойств отходов, требований санитарных правил по удалению отходов, норм предельного накопления отходов, необходимости накопления определенной партии отходов для передачи другим организациям, грузоподъемности транспортных средств, осуществляющих вывоз отходов.
-
Организация специальных сооружений для размещения отходов добывающего, перерабатывающего и вспомогательного производства:
-
отвалов вскрышных пород «Западный» и «Восточный»;
-
отвал полусухих хвостов, предназначенного для размещения отходов переработки руды на ЗИФ;
-
полигона ТБО, предназначенного для размещения твердых бытовых отходов и производственных отходов 4-5 классов опасности предприятия.
-
Предварительное обезвреживание отходов перед размещением с целью снижения класса опасности.
-
Передача отходов специализированным предприятиям для последующей переработки или обезвреживания.
-
Организация технологического контроля производственных процессов, соблюдение правил эксплуатации и промышленной безопасности для предотвращения возникновения аварийных ситуаций которые могут привести к загрязнению окружающей среды отходами.
-
Организация производственного контроля мест накопления и временного хранения отходов. Целью контроля являются:
-
соблюдение установленных норм предельного накопления отходов;
-
соблюдение условий временного хранения отходов;
-
соблюдение периодичности вывоза отходов.
-
Соблюдение мер безопасности по обращению с опасными отходами. Для соблюдения мер безопасности по обращению с опасными отходами разрабатываются инструкции по сбору, хранению, перевозке в таре отходов различных классов опасности. Инструкции доводятся до сведения персонала, работающего на предприятии, их соблюдение контролируется [16].
При соблюдении проектных решений по сбору, накоплению, временному хранению и утилизации отходов захламления земель, загрязнения отходами атмосферного воздуха, природных вод и почвенного покрова не произойдет.
Характеристика временного хранения отходов и обоснование предельного количества накопления отходов.
Обоснование предельного количества накопления отходов и организация мест временного хранения отходов на территории проектируемого предприятия предусмотрены из условия выполнения экологических, санитарных, противопожарных требований, норм и правил и обеспечивают:
-
отсутствие или минимизацию влияния отходов на окружающую природную среду;
-
недопустимость риска возникновения опасности для здоровья людей в результате локального влияния токсичных отходов;
-
недоступность хранимых высокотоксичных отходов для посторонних лиц;
-
предотвращение потери отходом свойств вторичного сырья в результате неправильного сбора и хранения;
-
сведение к минимуму риска возгорания отходов;
-
недопущение замусоривания территории;
-
удобство осуществления контроля за обращением с отходами;
-
удобство вывоза отходов.
4 Защита гидросферы
Охрана природных вод осуществляется посредством выполнения комплекса организационных, инженерно-технических и других мероприятий под постоянным контролем состояния и качества вод.















