ВКР-Сварка и наплавка Выхристюк Д.В. 155 группа (1212659), страница 8
Текст из файла (страница 8)
Наиболее простой конструкцией местного отсоса является цилиндрический всасывающий патрубок, расположенный коаксиально вокруг сварочной головки.
Однако следует отметить, что при близком расположении всасывающего патрубка от среза сопла, подающего защитный газ и сварочную проволоку, наблюдается существенное перетекание защитного газа в местный отсос, и тем самым ухудшается качество газовой защиты шва.
Рисунок 5.1 - Местные отсосы для сварочных полуавтоматов:
а - отсос фирмы Bernard; б - отсос фирмы ESAB с регулируемым насадкой.
Поэтому в держателе фирмы Bernard (США) для сварки порошковой проволокой патрубок местного отсоса несколько удален от сварочной головки (рисунок 5.1, а). В конструкции сварочной головки шведской фирмы ESAB местный отсос выполнен регулируемым и может перемещаться вдоль оси сварочной головки, фиксируясь ь требуемом положении специальным винтом (рисунок 5.1, б).
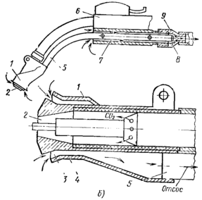
Одна из подобных конструкций местных отсосов разработана и успешно испытана при сварке сталей в С02 и аргоне на Ленинградском судостроительном заводе им А. А. Жданова [29]. Местный отсос выполнен с коаксиальной щелью, охватывающей сварочное сопло. Срез отсоса отодвинут от среза сопла примерно на 5—7 мм. При сварке током силой 100—220 А местный отсос обеспечивал эффективное улавливание вредных веществ, расход воздуха составлял 48 м3/ч. Удаление загрязненного воздуха осуществлялось пылесосом «Вихрь».
По данным Г. А. Федоренко нарушения газовой защиты швов не наблюдалось, качество сварки хорошее.
Наибольшая производительность труда достигается при сварке наклонным электродом, расположенным под углом 70—80° к горизонту. Поэтому разработано несколько специальных конструкций отсосов для указанных условий. Силами предприятий и научно-исследовательских организаций изготовлены и испытаны только небольшие партии опытных горелок со встроенными местными отсосами. Наиболее эффективные из них описаны ниже.
На Николаевском судостроительном заводе им. 61 коммунара и Киевском заводе «Стройдормаш» применялись сварочные горелки с отсосами, разработанные в СКВ под руководством инженера Е. М. Тупчия (Киевский институт гигиены труда и профзаболеваний).
Рисунок 5.2 - Горелка со встроенным отсосом конструкции Е. М. Тупчия
Особенностью конструкции данной горелки (рисунок 5.2) является то, что местный отсос представляет собой конический, суживающийся внизу насадок, несколько сплющенный с боков. Сварочное сопло размещено внутри насадка, выступая в нижней части всасывающего отверстия наружу. Как видно из рисунка 5.2, всасывающая щель приближена к зоне сварки, но площадь всасывающей щели на разных участках существенно различна. Основное количество загрязненного воздуха удаляется над сварочной дугой, т. е. в месте наиболее интенсивного образования вредных веществ. Трубка, по которой удаляется загрязненный воздух, проложена выше, чем канал для подачи сварочной проволоки и защитного газа. По данным авторов, при сварке токами силой до 300 А расход удаляемого воздуха дол-жен составлять примерно 25—35 м3/ч. Недостатком горелки является невозможность регулирования ее работы.
В 1974 г. ВИСП (г. Киев) совместно с КТИППом была разработана конструкция местного отсоса, который легко может быть установлен на широко используемых в промышленности сварочных полуавтоматах А-537 и А-547*. Местный отсос представляет собой перфорированный насадок, состоящий из цилиндрической и конической частей (рисунок 5.3).
Рисунок 5.3 - Местный отсос для полуавтоматов А-537 и А-547
На конической части отсоса 1 сверху имеется три щелевидных отверстия, удаляющих часть вредных веществ из зоны сварки с максимальными концентрациями. Наиболее интенсивный отсос, удаляющий оставшиеся вредные вещества, производится через отверстия в цилиндрической части насадка 2, размещенные в верхней части и с боков на периметре, соответствующем дуге примерно 270о. Такая конструкция местного отсоса была выбрана для того, чтобы обеспечить эффективное улавливание вредных веществ на пути их подъема вверх. Местный отсос надевается сверху на сварочное сопло с возможностью перемещения его вверх и вниз вдоль оси горелки; благодаря цанговому соединению 3 сопло может вращаться вокруг оси горелки, обеспечивая требуемую регулировку интенсивности всасывания. Масса местного отсоса 70—80 г, выполнен он из листовой латуни, наружная его поверхность хромирована, что препятствует налипанию брызг металла.
На испытаниях в ВИСПе при сварке током силой до 450 А расход воздуха для эффективного улавливания вредных веществ составлял около 80 м3/ч. Удаление загрязненного воздуха осуществлялось вакуум-насосом РМК-2. Сопротивление отсоса составляло 8500 Па, коэффициент местного сопротивления 1,37. Отсос загрязненного воздуха осуществлялся резиновым шлангом Ø 19 мм, сопротивление шланга 6300 Па на 1 м длины. Спектр всасывания для данного местного отсоса приведен на рисунке 5.4.
Рисунок 5.4 - Спектр всасывания отсоса при расходе воздуха 80 м3/ч
Экспериментальный график зависимости эффективного расхода воздуха от силы сварочного тока приведен на рисунке 5.5.
Рисунок 5.5. График зависимости эффективного расхода воздуха от силы сварочного тока для местного отсоса конструкции ВИСП — КТИПП
Опыты показывают, что основные гидравлические потери происходят в местном отсосе и на участке шланга малого диаметра длиной 1,2—1,5 м, присоединяемого непосредственно к рукоятке горелки. Минимальный диаметр всасывающего шланга 18—20 мм. Указанный размер шланга следует принимать, чтобы не создавать большую нагрузку на руку сварщика. Целесообразно устанавливать подающие механизмы полуавтоматов выше на специальной сварочной колонне [20], что значительно уменьшает массу держатель, передаваемую на руку рабочего и, следовательно, улучшает условия труда. Разработанная конструкция местного отсоса может успешно применяться также в различных сварочных автоматах для сварки током силой до 630 А.
Рисунок 5.6 - Конструкция малогабаритного отсоса с клиновидными щелями конструкции НИИСТ
Одна из конструкций местных отсосов, разработанных лабораторий охраны труда НИИСТ, показана на рисунке 5.6. Отсос предназначен для сварочных полуавтоматов А-537 или А-765, а также сварочных автоматов, например, А-1411. Отсос состоит из корпуса 1 и воздухоприемной части 2. Корпус крепится к сварочной горелке, в верхней части корпуса имеется штуцер для присоединения гибкого шланга от вытяжной вентиляционной системы. Воздухоприемная часть отсоса представляет собой усеченный конус, на боковой поверхности которого выполнены клиновидные всасывающие щели 3, служащие для удаления вредных веществ. Воздухоприемная часть монтируется соосно с горелкой и выполнена легкосъемной, что позволяет обеспечить необходимое обслуживание сварочной аппаратуры. Авторы отмечают, что благодаря развитой всасывающей поверхности отсоса скорости воздуха в зоне его действия убывают обратно пропорционально удалению от отсоса (а не квадрату расстояния, как для большинства остальных отсосов). Вследствие указанного предлагаемый отсос обладает хорошей эффективностью. При сварке током силой до 500 А необходимый расход воздуха равен 80 м3/ч, коэффициент местного отсоса 5, масса отсоса примерно 100 г. Для данной конструкции местного отсоса необходимая скорость воздуха (в м/с) может определяться по формуле, предложенной В. Р. Зайченко:
(1.1)
где
- соответственно средняя по сечению скорость;
- диаметр потока;
- и плотность воздуха;
- суммарная площадь;
- длина всасывающих щелей отсоса;
- угол наклона оси щели относительно вертикали, град.
Чрезвычайно большое значение имеет возможность регулирования количества удаляемого воздуха в зависимости от конкретных условий сварки. В качестве примеров ниже приведены некоторые рациональные конструкции местных отсосов. На рисунке 5.7 схематически показана сварочная горелка с местным отсосом фирмы Airco Welding Products (США).
Рисунок 5.7 - Отсос для сварочных автоматов конструкции Airco Welding Products:
1 - корпус отсоса; 2 - сопло; 3 - кольцевая вытяжная щель; 4 - вытяжные отверстия;5 - регулировочная манжета; 6 - отверстия для регулировки интенсивности отсоса.
В нижней части корпуса отсоса 1 имеется узкая кольцевая щель 3, образованная развальцованной частью отсоса и сварочным соплом 2. Через щель 3 вредные вещества удаляются с площади свариваемых деталей, прилетающей к зоне сварки. В средней части местного отсоса расположен ряд мелких отверстий 4, служащих дополнительным отсосом для улавливания газов и пыли, поднявшихся вверх над зоной сварки. Местный отсос обеспечивает хорошую эффективность при сварке деталей из листового металла в нижнем положении. В отдельных случаях, например, при сварке V- или Т-образных соединений, когда требуется дополнительная регулировка количества, отсасываемого из разных зон воздуха, поворотом манжеты 5 на всасывающем патрубке открываются или закрываются отверстия 6. Подсос воздуха через указанные отверстия и обеспечивает требуемую интенсивность удаления вредных веществ.
По опытным данным [21], при полуавтоматической сварке для эффективной работы данной конструкции местного отсоса требуется удалять 54—68 м3/ч воздуха. Отсос может быть также рекомендован для сварочных автоматов при сварке в среде защитных газов.
Конструкция сварочной горелки по патенту США № 3886344 приведена на рисунке 5.8 .
Рисунок 5.8 - Горелка со встроенным отсосом (США, патент № 3886344):
а — общий вид горелки; б — местный отсос.
1 — местный отсос; 2 — сварочное сопло; 3 кольцевая всасывающая щель; 4 развальцейка корпуса отсоса; 5 — вытяжной трубопровод; 6 — рукоятка горелки; 7 — отверстие в рукоятке; 8 — регулируемая щель; 9 — подвижная втулка.
Местный отсос 1 (рисунок 5.8, а) размещен достаточно близко от сварочного сопла 2. Однако кольцевая всасывающая щель 3 образована развальцованной нижней частью корпуса отсоса 4 и конусной поверхностью сопла (рисунок 5.8, б). За счет этого всасывание загрязненного воздуха происходит не снизу, а сбоку, вокруг зоны сварки. Трубка 5 от местного отсоса имеет диаметр 12 мм и введена внутрь трубчатого канала, расположенного в рукоятке 6. Авторы указывают, что большую роль в эффективном удалении выделяющихся при сварке вредных веществ играет отсос через отверстие 7, расположенное в рукоятке держателя. Здесь подсасывается примерно 75% всего удаляемого воздуха. Тем самым почти полностью улавливаются вредные вещества, ушедшие из зоны сварки, и обеспечивается охлаждение воздухом рукоятки. Расход воздуха составляет около 100 м3/ч. Регулирование работы отсоса производится изменением ширины зазора 8 путем перемещения по резьбе втулки 9. Местный отсос данной конструкции улавливает до 95% выделяющихся вредных веществ.
Отдельно следует рассматривать конструкцию местного отсоса к держателю полуавтомата, предназначенного для сварки швов на вертикальных поверхностях. Особенностью указанной операции является сварка шва снизу-вверх. При этом вдоль сварочного шва вверх поднимается загрязненный нагретый поток воздуха, налипающий на вертикальную плоскость изделия. Авторы проводили исследования работы местных отсосов в указанных условиях; было установлено, что улавливание вредных веществ возможно только при создании зоны интенсивного отсоса непосредственно над сварочным соплом. В опытных горелках над соплом устанавливался вытяжной патрубок Ø10 мм, обеспечивающий отсос загрязненного воздуха.
Примерно по такому же принципу сконструирована специальная горелка, приведенная на рисунке 5.9. Разработанная под руководством Е. Г. Киперника (г. Одесса).
Рисунок 5.9 - Горелка для сварки швов на вертикальных поверхностях, оборудованная встроенным отсосом: 1 — сопло горелки; 2 — местный отсос; 3 — щелевой всасывающий канал; 4 —корпус; 5 — сборный вытяжной канал.
Система отсоса встроена в конструкцию горелки. Местный отсос 1 представляет собой цилиндрический патрубок с фигурным вырезом, который расположен над соплом 2. Благодаря резьбовому соединению отсос устанавливается в корпусе горелки 4 с возможностью перемещения в осевом направлении для регулировки. Вредные вещества отсасываются через щелевой канал 3 и движутся по каналу 5, расположенному внутри рукоятки горелки. К рукоятке присоединяется эластичный шланг-кабель диаметром 25—32 мм, по которому загрязненный воздух обсасывается в вытяжную систему. Технические данные авторы в литературе не приводили. В настоящее время готовятся к выпуску опытные партии таких горелок, которые найдут применение в судостроении и других отраслях промышленности.
Непосредственно к местным отсосам для удаления вредных веществ могут присоединяться пылесосные шланги диаметром 25 и 30 мм длиной до 1,5—2 м
ЗАКЛЮЧЕНИЕ
В ходе выполнения данного дипломного проекта был произведён анализ работоспособности узлов вагона рассмотрен процесс ремонта узлов и деталей грузовых вагонов с применением новых технологий в сварочном и наплавочном производстве, рассмотрены основные виды дефектов вагонов, а также способы восстановления и упрочнения изношенных деталей.
Произведён технико-экономический расчёт внедрения автоматической электродуговой наплавки изношенных поверхностей надрессорной балки грузовой тележки 18-100. Были описаны меры безопасности вовремя сварочно-наплавочных работ.
Список используемых источников
-
Инструкция по сварке и наплавке при ремонте грузовых вагонов. – М.: Транспорт – Трансинфо, 1999. – 255с.
-
Сварочное производство: учебное пособие. – Макиенко, В.М., Верхотуров, И.О., Романов, А.Д., Востриков, Я.А.. Издание второе переработанное. – Хабаровск: Изд-во ДВГУПС, 2016. – 168 с.: ил.
-
Инструкция по сварке и наплавке при ремонте грузовых вагонов М.: ТРАНСИНФО, 2009. – 176с.
-
Герасимов, В.С, Левков, Г.В., Высоцкий, В.А., Полевов, В.А. Восстановление изношеных деталей вагонов сваркой и наплавкой: Учебное пособие. –СПб: ПГУПС, 1996. – 60с.
-
http://www.toool.ru/ - Каталог сварочного оборудования
-
http://texnad.ru/catalog-2.html - Наплавочное оборудование
-
http://hssco.ru/ - Автоматическая и полуавтоматическая наплавка
-
Фоминых, В.П., Яковлев, А.П. Электросварка. Учебник для проф.-техн. училищ. Изд. 4-е, перераб. и доп. М., «Высш. Школа», 1976. 288с. с ил.
-
http://expertsvarki.ru/ - Виды сварки
-
Теория сварочных процессов: Уче. для вузов по спец. «Оборуд. и технология сварочн. пр-ва» / Волченко, В.Н., Ямпольский, В.М., Винокуров, В.А. и др.; Под ред. Фролова, В.В.. – М.: Высш.шк., 1988. 559с.: ил
-
http://www.osvarke.com/ - Информационный сайт о сварке
-
Юхин, Н.А. Механизированная дуговая сварка плавящимся электродом в защитных газах (MIG/MAG). Под ред. доке. техн. наук Стеклова, О.И.. Издательство «Соуэло», 2008. 73с.
-
http://rail.uzdk.ru/ - Система технического обслуживания и ремонта вагонов
-
ГОСТ 3.1105-84 Форма 5а САПР «Технологическая инструкция»: ВЧДР Хабаровск
-
Макиенко, В.М. Повышение долговечности деталей подвижного состава электрошлаковой сваркой и наплавкой : автореф. дис. канд. техн. наук [Текст] / Макиенко, В.М.; Омский ин-т. инж. ж-д. транспорта. – Омск, 1986. – 24 с.
-
Баранов, М. И. Справочник по сварке [Текст] / Баранов, М. И., Бринберг, И.Л., Васильев, К.В.; под ред. Соколова, Е. В. – М.: Машиностроение 1961. -665с.
-
Восстановление и повышение износостойкости деталей вагонов: учеб. Пособие / Дюргеров, Н.Г., Морозкин, И. С., Кротов, В.Н.; Рост. гост. ун-т путей сообщения. – Ростов н/Д, 2011. – 2: ил – Библиогр.: 66 назв.
-
http://elar.urfu.ru/ - Электронный научный архив
-
Технология вагоностроения и ремонта вагонов: Учебник для вузов / Герасимов, В.С., Скиба, И.Ф., Кернич, Б.М. и др.; Под редакцией Герасимова, В.С. – 2е изд., перераб. И доп. – М.: Транспорт, 1988. -381 с.
-
http://tool-land.ru/ - Работа сварочным аппаратом
-
Стрекалина, Р.П. Экономика и организация вагонного хозяйства: Учебник для техникумов и колледжей ж-д транспорта. – М.: Маршрут, 2005. – 436 с.
-
Вентиляция рабочих мест в сварочном производстве. – Писаренко, В. Л., Рогинский, М. Л. – М.: Машиностроение, 1981. – 120с., ил.















