ВКР-Сварка и наплавка Выхристюк Д.В. 155 группа (1212659), страница 5
Текст из файла (страница 5)
При ремонте подвески тормозных башмаков грузовых вагонов (рисунок 2.19) разрешается:
- наплавка опорной поверхности Л, если размер поперечного сечения в местах наибольшего износа не менее 22 мм, а размер в углах по усиленному сечению не менее 26 мм;
- наплавка стенок или полная заварка с последующим сверлением отверстий Б при глубине износа не более 5 мм на сторону.
Рисунок 2.19 – Подвеска тормозных башмаков вагона
2.3.5 Детали автосцепного устройства
Работы проводить по технологии, согласованной Комиссией Совета.
Ремонт сваркой деталей автосцепного устройства следует выполнять электродами типа Э50А или проволокой марки Св-08Г2С в углекислом газе. Для ремонта деталей наплавкой рекомендуется использовать износостойкие наплавочные материалы, приведенные в таблице 1.1.
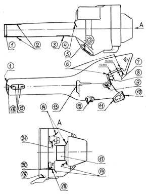
2.3.5.1 Корпус автосцепки
Материал - сталь 15ГЛ, 20ГЛ, 20ФЛ, 20Л с термообработкой по ГОСТ 977 и 20ГТЛ, 20ГІФЛ; 20ФТЛ; 20ГФТЛ по ГОСТ 22703.
Рисунок 2.20 Корпус автосцепки
При всех видах ремонта разрешается (рисунок 2.20):
а) заварка вертикальных трещин в зеве сверху и снизу в углах большого зуба, дефект 6, при условии, что после разделки они не переходят на горизонтальные плоскости наружных ребер;
б) заварка трещин в углах окна для замка и замкодержателя дефект 14, при условии, что после разделки они не выходят:
- в верхних углах окна для замка - на горизонтальную стенку поверхности головки;
- в верхнем углу окна для замкодержателя - за верхнее ребро со стороны большого зуба.
Заварку трещин производить с местным предварительным подогревом до температуры 250 – 300°С;
в) заварка трещины перемычки между отверстием для сигнального отростка и отверстием направляющего зуба замка, если такая трещина не выходит на вертикальную стенку кармана;
г) заварка трещины в месте перехода от головной части к хвостовой, дефект 4, при условии, что после ее разделки поперечное сечение стенок не уменьшается более, чем на 25%.
Трещины длиной свыше 25%, но не более 40% периметра поперечного сечения в данном месте, допускается устранять согласно технологии, согласованной Комиссией Совета, с обязательным ультразвуковым контролем после их заварки;
д) заварка трещин перемычки, дефект 16, для автосцепок типа СА-3, СА-3М по технологии, согласованной Комиссией Совета, с обязательным ультразвуковым контролем после сварки.
е) наплавка изношенной поверхности полочки для верхнего плеча предохранителя, дефект 21;
ж) приварка отломанной полочки для верхнего плеча предохранителя.
Допускается приварка новой полочки, изготовленной из стали Ст3, в соответствии с размерами, указанными на чертежах корпуса автосцепки типа СА-3 или СА-3М.
Полочка перед приваркой должна устанавливаться в проектное положение при помощи специального кондуктора. Сварка должна производиться с полным проваром по всей толщине полочки;
и) заварка трещин, распространяющихся от отверстия для сигнального отростка, дефект 20, длиной не более 30 мм по технологии согласованной Комиссией Совета;
к) наплавка изношенной торцевой поверхности хвостовика, дефект 1, если длина хвостовика менее 645 мм для автосцепок, СА-3 и менее 654 мм - для автосцепки СА-3М. После наплавки длина хвостовика должна быть не менее 650 мм для автосцепки СА-3 и 657 мм - для СА-3М;
л) наплавка изношенных поверхностей хвостовика, дефект 2, и дефект 3, при глубине износа более 3 мм;
м) наплавка изношенной поверхности в окне для замка, дефект 18, и поверхности задней наклонной части кармана в месте опоры замка, дефект 5, при износе не свыше 6 мм;
н) наплавка изношенных тяговых поверхностей малого, дефект 11, и большого зуба, дефект 7, а также ударной поверхности малого зуба, дефект 10, и зева, дефект 8, при условии, что износостойкость нанесенного слоя металла или твердость наплавленного металла при устранении дефектов 7;10; 11, должна быть не менее 250 НВ для грузовых и не менее 450 НВ - для рефрижераторных вагонов.
Наплавленный металл не должен доходить ближе 15 мм к месту закруглений (см. рисунок 5.41). При наплавке ударной поверхности малого зуба, дефект 10, кромку угла не скруглять;
п) наплавка изношенных стенок отверстий для валика подъемника, дефект 12;
р) наплавка изношенной цилиндрической поверхности и торца шипа для замкодержателя, дефект 9, или его приварка в случае излома;
с) наплавка изношенной поверхности места опоры шейки замкодержателя, дефект 17;
т) наплавка изношенных более 3 мм но не более 8 мм стенок овального отверстия под клин, дефект 15. Перед наплавкой задней стенки данного отверстия толщина перемычки хвостовика должна быть не менее 40 мм для автосцепок СА-3 и 44 мм - для СА-3М, измеренная в средней части.
Наплавку производить после удаления дефектов в ранее наплавленном металле механической обработкой и устранения дефект 1;
у) приварка шайбы в кармане корпуса со стороны меньшего отверстия для валика подъемника в случае уширения кармана;
ф) заварка трещины ограничителя вертикального перемещения, дефект 19, или его приварка взамен погнутого или отломанного;
х) наплавка деформированной поверхности затылочной ударной части, дефект 13;
ц) заварка мелких сетчатых трещин глубиной не более 8 мм на перемычке хвостовика при условии, что после их вырубки толщина перемычки автосцепки СА-3 будет не менее 40 мм, для СА-3М – не менее 44 мм;
ч) заварка мелких сетчатых трещин на боковых поверхностях отверстия под валик или клин тягового хомута глубиной не более 8 мм при условии, что после разделки толщина оставшейся стенки автосцепки СА-3 не менее 34 мм, СА-3М - не менее 28 мм.
2.3.5.2 Замок
Материал - сталь 20ФЛ; 20ГЛ; 20Г1ФЛ по ГОСТ 977.
При всех видах ремонта разрешается (рисунок 2.21):
а) наплавка изношенной замыкающей поверхности, дефект 1, при условии, что износостойкость или твердость наплавленного (нанесенного) слоя металла не менее 250 НВ для грузовых вагонов и не менее 400 НВ - для рефрижераторных вагонов;
Рисунок 2.21 – Замок
б) наплавка изношенной задней стенки овального отверстия для валика подъемника, дефект 3, при износе не более 8 мм;
в) приварка сигнального отростка, дефект 4;
г) наплавка изношенных мест нижней торцевой части замка и направляющего зуба, дефект 5, 6;
д) наплавка изношенных поверхностей шипа, дефект 7, или приварка нового шипа взамен отломанного;
е) заварка отверстий в замке и вставке автосцепки типа СА-3 (рефрижераторная - для секций ЦБ-5) и СА-3М, если диаметр их в замке более 17 мм, а во вставке - более 17,5 мм;
ж) наплавка изношенной замыкающей части вставки (СА-3М) в случае несоответствия ее шаблону.
2.3.5.3 Замкодержатель
Материал - сталь 15Л, 20Л, 20ГЛ, 20ФЛ по ГОСТ 977.
При всех видах ремонта разрешается (рисунок 2.22):
а) наплавка изношенной упорной поверхности противовеса, дефект 1;
б) наплавка изношенных стенок овального отверстия, дефект 2;
в) заварка не более одной трещины, дефект 3;
г) наплавка изношенной опорной части и торцов лапы, дефект 4;
д) наплавка изношенных поверхностей расцепного угла, дефект 5.
Рисунок 2.22 – Замкодержатель
Тяговый хомут отливается из сталей 20ГЛ, 20ФЛ по ГОСТ 977–88 и 20ГТЛ, 20ГФЛ по ГОСТ 22703–91. При ремонте хомутов (рисунок 2.24) разрешается:
- заварка трещин А в ушках для болтов, поддерживающих клин;
- заварка трещин Б в углах соединительных планок, не выходящих на тяговую полосу;
- заварка трещин Д в соединительных планках;
- наплавка изношенной поверхности Г потолка проема головной части хомута;
- наплавка изношенных мест Д на задней опорной поверхности хомута;
- заварка трещин Е задней опорной части хомута, не выходящих на тяговую полосу;
- наплавка выработанных мест Ж на тяговых полосах при условии, что толщина тяговой полосы в месте износа не менее 20 мм, а ширина не менее 95 мм для тяговых хомутов автосцепки СА-3 с шириной полосы 120 мм и не менее 130 мм для хомутов с шириной полосы 160 мм. Для автосцепки СА-ЗМ толщина тяговой полосы в месте износа должна быть не менее 22 мм, а ширина - не менее 115мм;
- наплавка перемычки 3 отверстия для клина при условии, что толщина изношенной перемычки не менее 45 мм;
- наплавка поверхности И.
- наплавка стенок отверстия для валика с последующей механической обработкой;
- заварка трещин К в зоне перехода ушка к тяговой полосе, не переходящих на тяговую полосу (по отдельному разрешению ЦВ).
Рисунок 2.24 – Тяговый хамут
При ремонте тяговых хомутов автосцепки СА-ЗМ дополнительно разрешается:
- наплавлять изношенные по высоте поверхности проема;
- восстанавливать наплавкой изношенные стенки отверстий для валика;
- восстанавливать наплавкой расстояние от опорной поверхности корпуса поглощающего аппарата до передних кромок отверстия для валика.
После наплавки необходимо произвести механическую обработку для восстановления размеров, установленных чертежами.
При ремонте центрирующей балочки (рисунок 2.25) из сталей Ст3, 20Л, 20ГЛ, 20Г1ФЛ разрешается наплавка изношенных мест А крюкообразных опор для маятниковых подвесок, боковых упоров Б, опорных поверхностей В и поверхности крюкообразных опор Г при условии, что износ не превышает 10 мм. При износе опорной поверхности В в пределах 5-10 мм разрешается приварка одной плотно пригнанной планки с предварительной; механической обработкой места приварки. Разрешается заварка трещин при условии, что после ее разделки рабочее сечение балочки уменьшится не более чем на 25%. Разрешается приварка сухарей к концам крюкообразных опор или предохранительных пластин, соединяющих крюкообразные опоры, согласно типовому технологическому процессу Т 82.38.
Рисунок 2.25 – Центрирующая балочка грузового вагона
Детали центрирующего прибора с подпружиненной опорой для хвостовика автосцепки разрешается наплавлять при износе до 8мм.
Маятниковая подвеска (рисунок 2.26) изготавливается из сталей Ст3, Ст5 и 38ХС. Разрешается наплавка изношенных поверхностей головки А подвески при условии, что в изношенном месте ее высот не менее 18 мм. Наплавленный металл не должен доходить до стержня подвески на 3-5 мм во избежание подреза.
Рисунок 2.26 – Маятниковая подвеска
Наплавка подвесок из стали 38ХС производится с предварительным подогревом до температуры 250-300 °С.
2.3.6 Балка хребтовая
Рисунок 2.27 - Балки хребтовые с трещинами и изломами, отремонтированные накладками
При всех видах ремонта разрешается (рисунок 2.27):
а) по всей длине хребтовой балки:
- заварка изломов, трещин, дефект 2, двутавра (тавра) с последующей постановкой усиливающих односторонних накладок (толщина накладок должна отвечать требованиям п.3.8.5 д), при условии, что трещина со стенки не распространяется на нижнюю полку двутавра;
- частичная замена двутавра (тавра) вставками длиной не менее 1000мм;
- правка или замена деформированной части верхнего накладного листа в рамах цистерн с хребтовыми балками из швеллеров, с последующей приваркой продольными угловыми швами к швеллерам и встык к оставшейся части верхнего листа;
- заварка трещины горизонтальной полки, дефект 3, с последующей приваркой угловой накладки.
б) в средней части балки между пятниковыми опорами:
- заварка не более двух трещин, дефект 1, длиной менее 2/3 сечения основных горячекатаных элементов хребтовых балок (двутавр в полувагонах и накладные листы в хребтовых балках цистерн из швеллеров в расчетный периметр не включаются) с усилением накладками. Для постановки горизонтальной накладки в двутавре (тавре) должен быть сделан вырез с последующей обваркой;
- заварка не более двух трещин, дефект 4, переходящих на вертикальную стенку не более чем на 10% высоты хребтовой балки с постановкой угловой накладки;















