П.З. Диплом (1209689), страница 5
Текст из файла (страница 5)
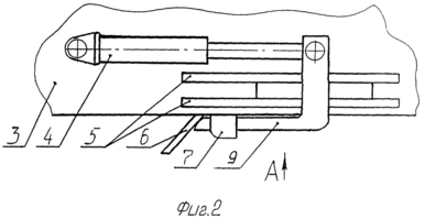
Рисунок 27 (скрепер вид плана А)
Где, 1- базовый тягач, 2- Седловой шарнир, 3- тяговая рама, 4- хобот, 5- поперечная балка, 6- кронштейны, 7- продольные балки , 8- подкосы, 9- задняя ось, 10- бампер, 11- шаровые шарниры, 12- гидромеханизмы, 13- передняя часть ковша, 14- нож, 15- днище, 16- задняя стенка, 17- гидромеханизм перемещения задней стенки, 18- заслонка, 19- гидромеханизм заслонки, 20- промежуточная рама, 21- гидромеханизмы, 22- механизм поворота, 23- задние пневмоколеса.
Модернизация ножа ковша скрепера патент № РФ 2006554:
Скрепер содержит ковш, закрепленный на задней колесной оси посредством сферического шарнира. Скрепер содержит устройство поворота ковша в поперечном направлении с механизмом наклона, выполненным, например, в виде по крайней мере одного гидроцилиндра. Имеется механизм блокировки задних колес. При работе скрепера на плотных грунтах и пересеченной местности ковш изменяет свое положение гидроцилиндрами или зубчатым зацеплением относительно задней оси колес скрепера. При этом ковш поворачивается в шарнире. Нож устанавливают под углом
. Одновременно ковш поворачивается и в шарнире передней оси.
Целью изобретения является повышение производительности работы скрепера на пересеченной местности и плотных грунтах при упрощении конструкции.
Использование предлагаемого устройства позволяет резать грунт не только по всей длине ножа, но и под определенным углом. Причем угол может устанавливаться в диапазоне от 0 до 15о, что значительно повышает производительность работы скрепера на плотных грунтах и пересеченной местности. Повышается устойчивость ковша. Снабжение скрепера механизмом блокировки колес обеспечивает устойчивость скрепера при продольном перемещении скрепера при наборе грунта и при транспортировке. Кроме того, достигается упрощение конструкции за счет ликвидации большого количества дополнительных деталей, необходимых для обеспечения поперечного перекоса ковша в прототипе.
Указанная цель достигается тем, что в скрепере, включающем переднюю и заднюю колесные оси, несущую раму, смонтированную на передней оси посредством сферического шарнира, подвешенный к несущей раме ковш и устройство поворота ковша в поперечном направлении, содержащее механизм его наклона, имеется механизм блокировки задних колес, расположенный на задней колесной оси, при этом ковш соединен с задней колесной осью посредством сферического шарнира, расположенного по вертикали, проходящей через середину задней колесной оси, а механизм наклона соединен с ковшом скрепера и с задней колесной осью. Механизм наклона выполнен в виде по крайней мере одного гидроцилиндра. Механизм наклона может быть выполнен в виде зубчатой пары с приводом, одна из шестерен которой прикреплена к ковшу, а ее ось вращения совмещена с осью вращения шарнира, установленного на задней колесной оси. Ось вращения шарнира, установленного на задней колесной оси, совмещена с геометрической осью вращения задней оси, центр вращения сферического шарнира соединения несущей рамы с передней колесной осью совмещен с геометрической осью вращения передней оси. Механизм блокировки колес выполнен в виде двух сферических роликов, расположенных на задней оси и контактирующих с опорными плитами, соединенными с ковшом скрепера.
Рисунок 28 (скрепер вид сбоку)
Где, 1- ковш, 2- механизм заглубления, 3- заслонка ковша, 4- гидроцилиндр, 5- ось задней колесной пары, 6- пневмоколеса, 7- ось передней колесной пары, 8- пневмоколеса, 9- несущая рама, 10- сферический шарнир, 18- нож.
Рисунок 29 (вид А-А рисунка 28)
Рисунок 30 (вид А-А рисунка 28)
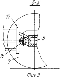
Рисунок 31 (вид Б-Б рисунка 30)
Где, 12- пара гидроцилиндра наклона ковша, 16- сферические ролики, 17- вертикальные плиты, 18- нож.
Модернизация управления ножами скрепера патент № РФ 2278216:
Изобретение относится к землеройно-транспортному машиностроению, а именно к механизмам управления рабочим органом скреперов. Техническая задача – упрощение управлением ножевой системой, повышение ее работоспособности и долговечности механизма управления ножами скрепера. Механизм управления ножами скрепера включает шарнирно закрепленные к днищу ковша секции ножей, связанные с гидроцилиндрами управления. Механизм управления снабжен размещенной в направляющих под днищем ковша и связанной с гидроцилиндрами управления вилкой с толкающими штангами разной длины, на рабочей поверхности которых для взаимодействия с секциями ножей выполнены скосы. Гидроцилиндры управления размещены на боковых стенках ковша, а между днищем и каждой секцией ножей установлен упругий элемент, прижимающий ее к днищу.
Рисунок 32 (общий вид скрепера)
Рисунок 33 (конструкция управления ножами скрепера)
Рисунок 34 (вид А рисунка 33)
Рисунок 35 (вид Б рисунка 34)
Где, 1- тягач, 2- механизм управления ножевой системой, 3- боковые стенки ковша, 4- гидроцилиндры управления, 5,7- направляющие вилки, 6- секция ножей, 8- вилка, 9- штанги, 10- скосы, 11- днище, 12- оси, 13- упругие элементы, 14, 15- упоры.
Копание грунта скрепер начинает, когда все секции ножей прижаты упругими элементами к днищу ковша и находятся в одной плоскости. Штоки гидроцилиндров управления полностью выдвинуты, и вилка 8 находится в крайнем правом положении.
Заполнение ковша грунтом сопровождается увеличением сопротивления копанию, которое ограничено тягово-сцепными качествами скреперного агрегата. Для поддержания последних на требуемом уровне оператор скрепера включает гидроцилиндры управления 4 на втягивание штоков. При этом в направляющих и начинает перемещаться вилка 8, которая своими скосами толкающих штанг начинает взаимодействовать с крайними секциями ножей. В результате крайние секции ножей поворачиваются на осях и, преодолевая сопротивление упругих элементов и сил копания грунта, выходят из зоны резания грунта. При этом сопротивление копанию уменьшается, тяговый баланс восстанавливается и продвижение грунта в ковш возобновляется. Оператор скрепера выключает управляющие гидроцилиндры.
Через некоторое время сопротивление копанию возрастает настолько, что поступление грунта в ковш становится затруднительным. Тогда оператор скрепера снова включает гидроцилиндры управления на втягивание штоков, вилка возобновляет движение и вторая пара (более коротких) толкающих штанг взаимодействует скосами со следующей парой секций ножей, выглубляя их из грунта. Сопротивление копанию уменьшается, и тяговый баланс восстанавливается. Оператор выключает управляющие гидроцилиндры.
Копание грунта скрепер продолжает одной центральной секцией ножей, для выглубления которой оператор вновь включает гидроцилиндры управления. Выглубление центральной секции ножей происходит аналогично описанному выше.
После завершения заполнения ковша грунтом оператор скрепера гидроцилиндрами управления возвращает вилку в исходное правое положение. Все секции ножей освобождаются от взаимодействия с толкающими штангами вилки и под действием упругих элементов и веса грунта возвращаются в исходное для копания положение. Затем оператор скрепера поднимает ковш в транспортное положение и закрывает переднюю заслонку.
Механизм управления ножами скрепера обеспечивает постепенное, поочередное, дискретное выглубление секций ножей, поддерживая тяговый баланс скреперного агрегата, что увеличивает долговечность скрепера.
Модернизация ходовым оборудованием самоходного скрепера патент № РФ 2104369:
Изобретение направлено на решение технической задачи по устранению негативных последствий наклона соединительной рамы и установленных на ней рабочего места машиниста и моторно-трансмиссионного блока. Достигаемый при этом технический эффект заключается в улучшении эксплуатационных свойств скрепера.
Достигаемый эффект также заключается в улучшении эргономических условий работы машиниста и улучшении условий смазки моторно-трансмиссионного блока.
Указанный эффект достигается тем, что в гусеничном скрепере, содержащем скреперный ковш, гусеничные ходовые тележки, соединительную раму, кинематически с ними связанную, с установленными на ней кабиной машиниста и моторно-трансмиссионным блоком и механизм подъема и опускания ковша с гидроцилиндрами, упомянутый ковш снабжен проушинами для его шарнирного крепления к соединительной раме, а соединительная рама имеет боковые фланцы для жесткого крепления к ходовым рамам, причем гидроцилиндры механизма подъема и опускания ковша установлены между ковшом и соединительной рамой и шарнирно с ними связаны.
Приведенные признаки являются существенными и взаимосвязаны между собой с образованием устойчивой совокупности существенных признаков, достаточных для достижения требуемого технического эффекта.
Шарнирное крепление ковша к соединительной раме позволяет обеспечить заглубление ножей скреперного ковша ниже опорной поверхности для набора грунта в ковш. При этом рабочее место машиниста и моторно-трансмиссионный блок не наклоняются, поскольку установлены на соединительной раме, жестко связанной фланцевым соединением с ходовыми рамами гусеничных тележек.
Изобретение иллюстрируется конкретным примером, который, однако, не является единственно возможным, но наглядно демонстрирует возможность достижения указанной совокупностью требуемого технического эффекта.
Рисунок 36 (самоходный скрепер на гусеничном ходу)
Рисунок 37 (самоходный скрепер на гусеничном ходу вид сверху)
Где, 1- ковш, 2,3- гусеничные тележки, 4, 5- ходовые рамы, 6- соединительная рама, 7- кабина оператора, 8- моторно- трансмиссионный блок, 9- механизмы подъема и опускания ковша, 10- проушины, 11- поперечный шарнир для крепления рамы с ковшом скрепера, 12,13- фланцы.
В транспортном положении штоки гидроцилиндров втянуты, ковш поднят над опорной поверхностью гусениц. При наборе грунта штоки гидроцилиндров выдвигаются, ковш поворачивается относительно шарнира, днище с ножами опускается ниже опорной поверхности гусениц. Происходит резание грунта и заполнение им ковша. При этом соединительная рама, жестко связанная фланцами с рамами гусеничных тележек, остается неподвижной, сохраняя нормальные условия работы машиниста и нормальные условия смазки агрегатов.
Модернизация седально- сцепного устройства рабочего оборудования скрепера патент № РФ 2243329:
Изобретение относится к землеройно-транспортному машиностроению, а именно к гидроприводам рабочих органов скреперов. Гидропривод рабочего оборудования прицепного скрепера включает насос, гидробак, гидроцилиндры ковша, передней заслонки, задней стенки, соединенные с гидрораспределителем, напорные клапаны, золотник. Гидропривод дополнительно содержит гидроцилиндр догрузки, соединенный с гидрораспределителем. Напорные клапаны выполнены с возможностью поддержания давления в гидроцилиндре догрузки, рабочая полость которого соединена с входной линией золотника, выполненного гидроуправляемым, камера управления которого сообщена со штоковой полостью гидроцилиндра задней стенки. Каждая из выходных линий гидроуправляемого золотника соединена с входами напорных клапанов, а их выходы подключены к сливной полости гидроцилиндра догрузки. Повышается производительность скрепера.
Рисунок 38(общий вид скрепера)















