П.З. Диплом (1209689), страница 3
Текст из файла (страница 3)
Заслонка скрепера, представляющая собой раму с изогнутым металлическим листом, предназначена для регулирования ширины щели ковша при резании грунта и поступлении его в ковш.
Рисунок 6(заслонка скрепера Д3-20В)
Где, 1- обойма, 2- стойки, 3- проушины, 4- рычаг, 5- две щеки, 6- лобовой лист, 7- головка штока шарнирно соединена.
Разгружающая задняя стенка ковша выполнена в виде слегка изогнутого щита с жестко присоединенным к тыльной его стороне толкателем (хвостовиком).
Рисунок 7(разгружающая стенка скрепера Д3-20В)
Где, 1- щит, 2, 6- подкосы, 3- ролики, 4- толкатель, 5- ролики.
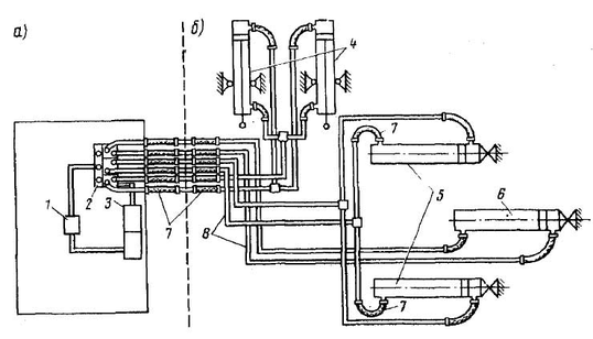
Рисунок 8(принципиальная гидравлическая схема скрепера, с гидравлическим управлением рабочего органа)
Где, а- часть гидросистемы смонтированная на тягаче скрепера, б- смонтирована на ковше скрепера,1- масляной насос, 2- гидрораспределитель, 3- масляный бак,4,5, 6- гидроцилиндры, 7- шланги высокого давления, 8- стальные трубопроводы.
К основным параметрам и размерам скреперов относятся: вместимость ковша; грузоподъемность; ширина резания; максимальное заглубление; толщина слоя отсыпки или дорожный просвет максимально поднятого ковша под ножами; колесная база; колея передних и задних колес; габариты: длина, ширина и высота; масса.
Рабочий процесс скрепера состоит из трех последовательных связанных между собой операции: загрузка ковша; транспортирования грунта до места выгрузки; разгрузка ковша.
Рассмотрим принцип работы самоходного скрепера с пассивной загрузкой движущимся усилиям срезаемого слоя грунта и с принудительной разгрузкой под действием движущейся стенки приводимой в действие с помощью пары гидроцилиндров:
Рисунок 9 (резанье грунта и наполнение ковша)
Где, 1- тягач для дополнительного тягового усилия (используется когда самоходный скрепер не в силах выполнить заданную им функцию по послойной резки грунта в силу ландшафтной особенности местности, климатических условий либо по техническим характеристикам данного скрепера); 2- ковш; 3- выдвижная заслонка; h- срезаемый слой грунта.
При передвижении скрепера поднимается заслонка ковша, а ножи опущенного на грунт ковша под действиями пары гидроцилиндров срезают слой грунта толщиной h, предусмотренного конструктивными особенности и техническими характеристиками скрепера, который поступает в ковш при поднятой подвижной заслонке. При наполнении ковша скорость движения скреперов составляет 2- 4 км/ч
Рисунок 10 (силы действующие на ковш скрепера при наборе грунта послойным резаньем)
Где,
- сопротивление перемещению груженного скрепера;
- сопротивление резанью грунта;
- сопротивление призмы волочения;
- сопротивление наполнению при подъеме и перемещению грунта внутри ковша; h- высота снижаемой стружки грунта; H- высота наполнения ковша.
Рисунок 11 (транспортное положение скрепера)
Наполненный грунтом ковш поднимается в транспортное положении, а заслонка под действием пары гидроцилиндра подъема и опускания заслонки опускается, препятствуя высыпанию грунта из ковша. При транспортном передвижении скорость передвижения скрепера составляет от 50% до 80% от его максимальной скорости.
Рисунок 12 (силы действующие на скрепер в транспортном положении с грузом внутри)
Где, Т- тяговая сила скрепера; Pа- сила сопротивлению подъему;
- сила сопротивления качения задних колес; Р3- вертикальная реакция на задние колеса; G- центр тяжести скрепера;
- сила сопротивления передних колес; Rп- вертикальная реакция на передние колеса.
Рисунок 13 (разгрузка ковша груженного грунтом с последующей его утрамбовкой)
Где, 5- задняя стенка, с- укладываемый слой грунта.
При разгрузке ковша заслонка поднята, а грунт вытесняется принудительно из приспущенного ковша выдвигаемой, гидроцилиндрами, вперед задней стенкой ковша, причем регулируемый зазор между режущей кромкой ковша и поверхностью земли определяет толщину с укладываемого слоя грунта с, который разравнивается (планируется) ножами ковша и частично уплотняется колесами скрепера. При холостом ходе порожний ковш поднят в транспортное положение, а заслонка опущена.
Разработка грунта скрепером осуществляется следующими основными способами: с постоянной толщиной стружки; с переменной толщиной стружки; гребенчатое; «клевками».
Рисунок 14 (виды разработок грунта, скрепером: а-с постоянной толщиной стружки; б- с переменной толщиной стружки; в- гребенчатое; г- «клевками»)
Разработка грунта постоянной толщиной стружки и с переменной толщиной (рис 14, а; б)используют для профилирования и разравнивания местности. Применяют при прямолинейных движениях скрепера с постоянно одинаковой скоростью, ковш наполняется равномерно. Такой способ целесообразен для грунтов Iгруппы.. Путь, заполнения ковша скрепером для метода разработки равномерной стружки составляет в зависимости от толщины срезаемой стружки и составляет от 15 до 25 метров. Срезание тонкой стружки не только снижает производительность скрепера, но и создает трудности заполнения ковша грунтом, так как стружка при этом разрушается на мелкие комья, уходит в призму волочения и растекается в боковые валики
Разработка грунта гребенчатым способом (рис. 14, в) выполняют волнообразно с попеременным заглублением и выглублением ковша. Каждый последующий гребень меньше предыдущего по длине примерно в 2 раза, а по высоте — в 1,5 раза. В начале загрузки ковша следует срезать грунт более толстой стружкой. Толщина срезаемой стружки за один набор ковша в зависимости от группы грунта меняется в 2,5 — 5,0 раза. Для получения более ровного забоя каждое последующее зарезание грунта следует производить на одной и той же полосе с перекрытием гребней, для чего каждый следующий набор грунта начинают, отступив на 2—3 м от начала предыдущего. При гребенчатом способековш загружается полнее, что позволяет рациональнее использовать мощность двигателя трактора-тягача.
Для увеличения объёма заполнения ковша в песчаных грунтах применяют метод многократного резания грунта «клевками» (рис. 14, г), заключающийся в том, что в период загрузки ковш скрепера на ходу несколько раз наклоняют, заглубляя его, и получаются как бы «клевки». При этом вследствие движения ковша вверх грунт несколько раз сдвигается к задней стенке, в результате чего заполнение ковша увеличивается на 10% - 15%.
Грунты разрабатывают скреперами по поперечной или продольной схеме их движения. Схему движения выбирают исходя из следующих основных требований: забой должен иметь длину, достаточную для полного наполнения ковша скрепера, путь движения груженого скрепера должен быть кратчайшим без крутых поворотов. При выполнении земляных работ скреперами применяют следующие схемы движения: эллиптическую; в виде «восьмерки»; спиральную; зигзагообразную, продольно-челночную, поперечно-челночную.
Рисунок 15 (эллиптическая схема движения скрепера)
Где, а- с поперечной разработкой грунта; б- с продольной разработкой грунта; 1- загрузка грунта; 2- разгрузка грунта.
При сооружении земляного полотна наиболее широкое распространение получили три основные схемы: эллиптическая, или кольцевая, в виде «восьмерки» и зигзагообразная. При планировочных работах или при сооружений небольших выемок с транспортированием грунта на близкие расстояния целесообразно выбирать эллиптическую схему движения (рис. 15).
Рисунок 16 (схема движения скрепера «восьмеркой»)
Где, 1- загрузка грунта; 2- разгрузка грунта.
При возведении насыпей из боковых резервов и при разработке выемок с транспортированием грунта в отвалы, находящиеся в непосредственной близости от выемок, при разработке полувыемок- полунасыпей, а также при планировочных работах целесообразно применять схему движения скреперов «восьмеркой» (рис. 16) схемы движения скрепера «восьмеркой» по сравнению со схемой движения по эллипсу в том, что на каждую загрузку ковша приходится только один поворот скрепера на 180°, а попеременные повороты трактора то в одну, то в другую сторону, хотя и равномерно, изнашивают ходовую часть машины. При транспортировании грунта на расстояние 200- 400 м применяют схему движения скреперов в виде растянутой «восьмерки», так называемой «двусторонней петли». По этой схеме скреперы в забое и в насыпи делают замкнутые петли, соединенные между собой прямыми участками.
Рисунок 17 (схема движения скрепера зигзагами: а- при расположении резерва с одной стороны насыпи; б- при расположении резервов по обе стороны насыпи)
Где, 1- набор грунта; 2- разгрузка грунта; 3- ось насыпи; 4- резерв.
Если резервы расположены в одной или с обеих сторон дороги, скрепер может выполнять работу зигзагами (рис. 17). По этой схеме скреперы совершают движения по зигзагообразной насыпи, попеременно заходя в резерв для набора грунта и выезжая на возводимую насыпь для разгрузки, а в конце участка делают поворот на 180° и возвращаются в обратном направлении, повторяя цикл работ.
Эксплуатационная производительность скрепера:
Где,
- продолжительность рабочего времени;
- геометрическаявместимость ковша;
- коэффициент наполнения ковша, зависящийот группы грунта и его состояния, от способа загрузки ковша, работы скрепера безтолкача или с толкачом и других факторов; принимается 0,8—1,2;
коэффициент использования рабочего времени; принимается 0,85-0,9;
- коэффициент разрыхления грунта принимается 1,2-1,4.
Продолжительность полного рабочего цикла скрепера:















