Вся теория (1094484), страница 3
Текст из файла (страница 3)
Kx=1/(1/βx+1/Ap*βy)
Βy- коэф массоотдачи из потока газа к пов-ти фазового контакта
Βx-коэф массоотдачи от пов-ти фазового контакта к потоку жидкисти.
10.Выражение коэф массопередачи через коэф массоотдачи.
Ку=1/(1/βy+Ap/βx)
Kx=1/(1/βx+1/Ap*βy)
Βy- коэф массоотдачи из потока газа к пов-ти фазового контакта[кмоль/(м2*ч*Па]
Βx-коэф массоотдачи от пов-ти фазового контакта к потоку жидкисти.[m/ч]
Чем выше растворимость газа,тем больше значение Ар;для трудно растворимых газов Ар имеет наименьшее значение. Величина Ар влияет на структуру уравнений,описывающих коэф массопередачи.Если ар велико,то можно считать Ку=βу,тогда диффузионное сопротивление сосредоточенно в газовой фазе,если же оно мало ,то Кх=βх, диффузионное сопротивление сосредоточенно в жидкой фазе.
11.Равновесие в системах газ-жидкость. Закон Генри. Ур-е равновесной зависимости. Влияние давления и температуры на абсорбцию.
В качестве основного закона, хар-го равновесие в системах газ-ж, обычно используется закон растворимости газов в ж,сформулированный Генри, согласно которому при данной температуре мольная доля газа в растворе(растворимость пропорциональна парциальному давлению газа над раствором: х=р/Е, где р-парциальное давление газа над раствором;Е-коэф пропорцональности(коэф Генра)[Па],зависит от природы растворяющегося в-ва и температуры;
х-конц-я газа в растворе ,мол.доли
lnE=-q/(RT)+C
q-теплота растворения газа,кДж/кмоль;R-универсальная газовая пост=8.314 кДж/(кмоль*град);Т-темпер растворения,К;С-пост,зависящая от природы газа и ж-ти и опред опытным путем.
С ростом темп-ы растворимость газа в ж-тях уменьшается.При растворении газа в –ти темп-ра последней обычно повышается вследствии выделения значительного кол-ва тепла
Q=qдL(х1-х2), где qд- дифференц теплота растворения в пределах изменения конц-й х1-х2;L-кол-во абсорбента в кг.
Ур-е равновесной зависимости Y=ApX/(1+(1-Ap)X,где Y(конц-я распред газа в смеси) и Х(конц-я распределяемого компонента) выражены в относительных мольных долях,имея в виду соотношения Y=y(1-y) и X=x(1-x);Ар=Е/P константа фазового равновесия.
К факторам улучшающим растворимость газов в жидкостях,и след, условия абсорбции, относят повышенное давление и пониженная температура.
12.Равновесие в процессах пар-ж для идеальных смесей. Закон Рауля. Диаграммы t-x-y и x-y.
Рассмотрим равновесие идеал бинарной смеси состоящей из 2-х компанентов А и В.Если ж-ю идеал бинарную смесь в течении значительного времени выдержать в замкнутом объеме при кипении в условиях пост –го объема и темп-ры, то система состоящая из пара и ж придет в состояние равновесия .В условиях равновесного состояния потоки компанентов из фазы в фазу будут одинаковы, при этом состав пара будет отличаться от ж.
Компанент А имеет меньшую темп-у кипения tкА и называется низкокипящим или легколетучим компанентом бинарной смеси;комп-т В имеет большую темп-у кипения tкВ и наз-ся высококипящим или труднолетучим компанентом.Ра и Рв давление паров соответственно.
Идеальные смеси подчиняются закону Рауля: рА=Ра*х;рВ=Рв(1-х), порциальное давление компонента в растворе равно давлению пара чистого компонента умноженного на его мольную долю в р-ре.
(1-х)-конц-я НЛК в ж-ти
(1-у)- конц-я НЛК в паре
Для установивщегося равновесия Рах=Ру;Рв(1-х)=Р(1-у)
Первый рисунок это зависимость температуры паро-жидкосной системы от состава фаз в условиях равновесия.Нижняя ветвь на диаргамме t-x,у будет отвечать темп-рам кипения жидкой смеси,верхняя-темп-рам концентрации паровой фазыРасполагая этой диаграммой, можно по составу жидкой фазы х1 найти равновесный ей состав пара у1 и температуру t1.
Второй диаграмма равновесных составов.Для анализа процессов ректификации более удобна диаграмма у-х,построенная на основе предыдущей диаграммы. Кривая зависимости ур=f(x) отвечает ур-ю :у=Рах/(Рв+(Ра-Рв)х).
13. Принципиальная схема противоточной абсорбции и графическое изображение процесса.
В хим. технике исп-ют след-щие принципиальные схемы абсорбционных процессов: прямоточные, противоточные, одноступенчатые с рециркуляцией и многоступенчатые с рециркуляцией.
Прямоточная схема
В этом случае потоки газа и абсорбента движ-ся параллельно друг другу, при этом газ с большей концентрацией распределяемого вещества приводится в контакт с жидкостью, имеющей меньшую концентрацию распределяемого вещества, а газ с меньшей концентрацией взаим-ет на выходе из аппарата с жидкостью, имеющей большую концетрацию распределяемого вещества.
Противоточная схема
По этой схеме в одном конце аппарата приводятся в контакт газ и жидкость, имеющие большие концентрации распределенного вещ-ва, а в противоположном конце—меньшие.
Следоват-но, противоточный процесс обеспечивает большую конечную конц-цию поглощаемого газа в абсорбенте, а вместе с этим и меньший расход абсорбента; движущая сила при противотоке меньше, поэтому при прочих равных условиях необходимы бОльшие размеры ап-та. Указанное соотношение носит общий хар-ер и его можно формулировать так: изменение рабочих конц-ций, приводящее уменьшению расхода абсорбента, требует увеличения габаритов ап-та, и наоборот.
14. Принципиальная схема абсорбции с рециркуляцией жидкости и графическое изображение процесса.
Эти схемы предусматривают многократный возврат в аппаратуру либо ж-ти, либо газа. Газ проходит через ап-т снизу вверх, и конц-ция распределяемого вещ-ва в нем изм-ся от Yн до Yк. Поглощающая ж-ть подводится к верхней части ап-та при конц-ции распределяемого вещ-ва Хн, затем смеш-ся с выходящей из ап-та ж-тью, в рез-те чего конц-ция повышается до Хс. Рабочая линия представляется на диаграмме отрезком прямой; крайние точки его имеют координаты Yн, Хк и Yк, Хс соответственно. Величину Хс легко найти из ур-я матер-го баланса.
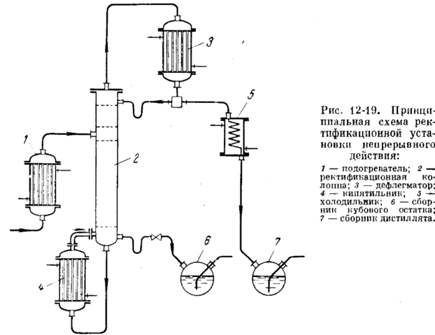
15. Схема ректификационной установки непрерывного действия. Материальный баланс ректификационной колонны. Флегмовое число.
Непрерывно действующие ректификационные установки можно разделить на:
1). Установки для ректификации исходной смеси на две составляющие части в ап-те, обеспечивающем укрепление и исчерпывание летучего компонента; 2) установки, ректификац-я аппаратура которых обеспечивает либо обогащение смеси летучим компонентом, либо исчерпывание его из ж-ти; 3) многоколонные ректиф-ные уст-ки; 4) установки для экстрактивной и азеотропной рект-ции; 5) уст-ки для рект-ции многокомпонентных смесей.
На рис. Исходная смесь поступает в подогреватель 1, где ее темп-ра повыш-ся за счет тепла греющего водяного пара до темп-ры кипения. Нагретая смесь поступает в питающую секцию рект-ной колонны 2,, присоединяясь к орошению, которое обеспеч-ся конденсацией паров в девлегматоре 3.
Необходимое для проведения рект-ции многокомпонентное испарение ж-ти осущ-ся в кипятильнике 4. В дефлегматоре 3 происходит полная конденсация паров. Из делителя потока часть дистиллята, отвечающая флегме, возвращ-ся в колонну, а остальная часть проходит через кипятильник 5 и направляется в сборник 7. Менее летучая часть исх смеси непрерывно отбирается из нижней части рект-ного ап-та и поступает в сборник 6.
Зависимость м-ду рабочими и равновесными концентрациями на рис позволяют находить движущую силу процесса для любой рабочей конц-ции.
Питание рект-ного ап-та флегмой кроме саособа, указ-го на рис, возмоно и другими способами.
В первом случае непосредственно над ректиф-ным ап-том монтируется дефлегматор 2, осущ-щий частичную конденсацию выходящих паров и возврат получ-го конденсата в ап-т 1. Часть паров, отвечающая по кол-ву дистилляту, проходит через холодильник-конденсатор 3 и в виде ж-ти направляется в сборники.
Во втором случае выходящие из ап-та 1 пары полностью конденсируются в конденсаторе 2 и весь конденсат (дистиллят) собирается в сборнике 4. Часть дистиллята, необходимая для орошения ап-та1, при помощи насоса 5 направляется в последний. Остальное кол-во дистиллята идет из сборника 3 либо на дальнейшую переработку, либо в емкости готового продукта. Последний способ питания рект-го ап-та флегмой имеет значительные преимущества перед другими , особенно в многотоннажных производствах.
Разделение смесей , основанное на различии составов ж-ти и пара.
Наряду с рект-цией осущ-ют другие способы, основанные на этом же принципе:
-- однократное испарение;
--простая перегонка;
--молекулярная перегонка;
--перегонка в токе водяного пара.
Материальный баланс ректификационной колонны:
Сущность пр-са рект-ции можно охарактеризовать как разделение жидкой однофазной смеси на часть, обогащенную ЛЛК(дистиллят) и часть, обедненную ЛЛК(кубовый остаток) в результате противоточного вз-я ж-ти и пара.
Gf—кол-во исх. Смеси, поступающей на рект-ную колонну, кг/ч, кмоль/ч;
Gд—кол-во получ-го дистиллята, кг/ч, кмоль/ч;
Gw—кол-во получ-го кубового остатка;
Xf, Xд, Xw—конц-ции ЛЛК соответственно в исх смеси, дистилляте, кубовом остатке.
Gf/Gд=F; Gw/Gд=W
----МБ в безразмерном виде.
Флегмовое число
Кол-во дистиллята, получ-го в дефлегматоре, равно кол-ву пара, вышедшему из колонны.
Gп=Gд+Gф
Полученный дистиллят делится на 2 потока, одна часть отправляется обратно в колонну(флегма),а другая явл-ся отбираемым продуктом-дистиллятором, Gд.
Gф/Gд=R
R—флегмовое число—отношение кол-ва возвращенного дистиллята(флегма) к кол-ву отобранного дистиллята продукта.
D=R+1
Gп=Gд*(R+1)—расход пара, движущегося по колонне.
Разделение смесей рект-цией возможно: в рез-те вз-я потоков гвзв и ж-ти при кратности испарения R+1 и кратности конденсации R.
16. Уравнения рабочих линий процесса ректификации для непрерывно действующей ректификационной колонны. Минимальное и оптимальное флегмовое число.
Матер-ный баланс ректиф-ции по ЛЛК можно записать записать общим для всех массообменных пр-сов равенством:
G*dy=L(-dx)
Для верхней колонны:














