Мазуркевич В.И. - Конспект лекций по экономике (1094330), страница 22
Текст из файла (страница 22)
Таким образом, совокупный спрос в закрытой экономике может быть выражен следующим образом:
АD = C+I+G+Хn.
В закрытой экономике, не имеющей внешнеэкономических связей с другими странами, эта формула принимает следующий вид: АD = С + I + G .
Между совокупным спросом и общим уровнем цен существует обратная связь: чем выше уровень цен, тем меньше совокупный спрос.
Такое положение кривой совокупного спроса обусловлено действием следующих факторов:
-
Эффектом процентной ставки. С повышением уровня цен домашним хозяйствам и фирмам требуется больше денег для покупки товаров и услуг, выдачи заработной платы и приобретения ресурсов. Поэтому в стране увеличивается спрос на деньги и, следовательно, происходит рост процентной ставки;
-
Эффектом богатства. При росте цен в стране происходит обесценение денег. В этом случае сбережения населения и фирм теряют свою покупательную способность. Это снижает совокупный спрос. При падении цен, наоборот, реальная стоимость сбережений растет, а это увеличивает совокупный спрос.
-
Эффектом импортных закупок. При росте внутренних цен на национальном рынке относительно мировых население будет приобретать больше импортных товаров. В то же время иностранные покупатели уменьшат объем закупок отечественных товаров. Это также приведет к падению спроса на них. Снижение внутренних цен относительно мировых, наоборот, стимулирует рост совокупного спроса на национальный продукт.
Кроме того, совокупный спрос подвержен влиянию неценовых факторов. К ним относятся:
а) изменения в потребительских расходах;
б) изменения в инвестиционных расходах;
в) изменения в государственных расходах;
г) изменения в расходах на чистый объем экспорта;
д) валютные курсы: рост курса иностранной валюты /стоимость иностранных денежных единиц в национальной валюте/ при постоянном уровне цен приведет к увеличению закупок отечественных товаров иностранными покупателями и вызовет рост совокупного спроса.
Совокупное предложение
Совокупное предложение - это количество товаров и услуг в экономике, которое все производители желают произвести и продать в данный момент при разных уровнях цен.
Учитывая цену конечной продукции и ее возможную динамику, стоимость факторов производства, величину капитала и доступную технологию, фирмы определяют для себя возможный объем производства. Одновременно на основе существующей величины заработной платы и ее динамики работающие определяют предложение труда.
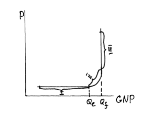
Между уровнем цен и произведенным объемом совокупного предложения существует прямая зависимость: чем выше уровень цен, тем, при прочих равных условиях, будет больше предложено товаров и услуг. Графически кривая совокупного предложения выглядит следующим образом:
К
ривая совокупного предложения состоит из трех отрезков: кейнсианского /горизонтального/ - I, классического /вертикального/ - III и промежуточного - II
Кейнсианский отрезок. Горизонтальное положение этого отрезка свидетельствует о том, что увеличение реального объема производства не сопровождается ростом цен и происходит при стабильном их уровне. Реальный объем национального продукта /Qe/, произведенного в рамках кейнсианского отрезка, меньше потенциального/Qf/, достигнутого в условиях полной, занятости. Это связано с тем, что в экономике имеются неиспользуемые материальные и трудовые ресурсы. Вовлечение их в производство в такой ситуации практически не будет оказывать никакого давления на уровень цен. Производители смогут покупать свободное оборудование и рабочую силу по стабильным ценам. В результате увеличение объема производства не будет сопровождаться ростом издержек производства и общего уровня цен. Изменение общего уровня цен не произойдет также и в случае уменьшения объема производства.
Классический отрезок характеризует реальный объем производства, равный потенциальному /Qf/, произведенному в условиях полной занятости. Экономика использует полностью имеющиеся в данный момент времени свои производственные возможности и даже увеличение уровня цен не приведет к реальному росту производства. Одна или несколько фирм могут попытаться привлечь дополнительные материальные и трудовые ресурсы для наращивания производства, но эти ресурсы и произведенные экономические блага потеряют другие фирмы. Дальнейшее увеличение объема производства требуют определенного времени.
Промежуточный отрезок совокупного предложения /между Qe и Qf/. На нем увеличение реального объема производства сопровождается ростом цен. Это связано с тем, что национальная экономика представляет собой совокупность рынков разнообразных товаров и услуг. Одни из них могут достигать потенциального объема производства, а другие могут иметь неиспользуемые производственные мощности и значительную безработицу. Перераспределение ресурсов в этом случае будет сопровождаться вовлечением в производство менее квалифицированных работников. Это приведет к росту издержек производства на единицу продукции и рост цен на готовые товары.
На величину предложения национального продукта влияют ценовые и неценовые факторы. Неценовые факторы сдвигают кривую предложения вправо вверх или влево вниз. К ним относятся:
-
издержки, рост которых уменьшает объем выпуска национального продукта и ведет к снижению объема предложения;
-
цены на ресурсы, их рост увеличивает издержки, что ведет к уменьшению предложения, и наоборот;
-
производительность труда, увеличение которой ведет к увеличению объема предложения;
-
новая технология, ее массовое распространение позволяет увеличить объем национального продукта и его предложения;
-
налоги и субсидии, увеличение налогового бремени ведет у росту издержек производства единицы продукции, а, следовательно, и предложения; Государственные субсидии ведут к снижению издержек фирм, и, значит, к росту совокупного предложения.
Равновесие совокупного спроса и совокупного предложения
Равновесие совокупного спроса и совокупного предложения в национальной экономике достигается в точке пересечения кривых совокупного спроса и совокупного предложения. При этом сам факт достижения равновесия не означает достижения производством своего потенциального объема. Равновесный объем производства может быть меньше потенциального или даже желаемого, а масштабы безработицы могут превышать естественный уровень.
Вследствие специфики совокупного предложения возможны три варианта макроравновесия (см. графики).
В
случае равновесия на кейнсианском отрезке уровень цен не влияет на изменение равновесия. Производство большего объема национального производства (Q2) не было бы обеспечено платежеспособным совокупным спросом, а производство в объеме (Q1) /меньше равновесного уровня/ будет стимулировать рост производства, так как в обществе существует неудовлетворенный спрос.
При достижении равновесия на промежуточном отрезке совокупного спроса любые изменения значения Pe и Qe, кроме Qe и Qe заставят производителей и потребителей стремиться к равновесному уровню. Предположим, что рыночная цена – P1. При таком ее уровне производители готовы предложить рынку объем производства Q1 (причем Q1<Qe), а потребители желают купить национальный продукт в объеме Q2 (Q2>Qe) . Вследствие этого повышение спроса над предложением будет стимулировать рост цен до уровня Ре и увеличение национального производства до объема Qe.
При достижении равновесия на классическом отрезке на его изменение уже не будет оказывать влияние изменения объема производства. Стимулировать и ограничивать предложение будет только уровень цен.
Макроравновесие может быть нарушено только вследствие изменения величины совокупного спроса или совокупного предложения или одновременного их изменения. При изменении совокупного спроса конкретные последствия нарушения равновесия также зависят от того, на каком отрезке кривой совокупного предложения находится национальная экономика.
Тема 14. Потребление, сбережение и накопление /инвестиции/. Эффект мультипликатора
Одним из важнейших компонентов совокупного спроса, влияющего на равновесный объем национального производства, является потребление населения /С/. Потребление – это та сумма денег, которая используется на приобретение потребительских товаров и услуг. В масштабе национальной экономики под потреблением понимается совокупность денежных расходов населения на приобретение товаров и услуг. Потребление представляет собой основу существования человеческого общества. Удовлетворение потребностей – цель материального производства в любой экономической системе, хотя уровень потребления различен в разных социальных группах. Источником индивидуального потребления населения являются доходы. Доходы населения /D/ формируются из всех суммарных поступлений как в денежной, так и в натуральной формах. Однако реальным источником потребления населения, как мы уже отмечали, является располагаемый доход /D1/, т.е. доход, оставшийся после уплаты налогов.
Личный доход каждой семьи распадается на две части: потребление /C/ и сбережения /S/. Потребление – это часть дохода, расходуемая на приобретение материальных благ и услуг. Сбережения – это неизрасходованная в данный момент часть дохода. Это – отложенный спрос. Таким образом, D1=C+S.
Потребление населения является одним из элементов совокупных расходов общества.
Так как структура потребительских расходов различных групп населения различна, то для анализа влияния потребления на совокупный спрос используются усредненные показатели для разных групп населения с разными доходами. Общая зависимость между величиной дохода, потреблением и сбережением такова: чем больше величина дохода, тем относительно большая его часть сберегается. Как отмечал Дж. Кейнс, люди склонны увеличивать свое потребление, но не в той мере, как растет доход.
Если доход меняется, то потребление также меняется в том же направлении. Но изменение потребления меньше, чем изменение дохода. Психологическая склонность людей к потреблению может быть средней и предельной.
Доля располагаемого дохода, направляемая на потребление, называется средней склонностью к потреблению. Она выражает отношение потребляемой части дохода ко всему доходу:
Но для экономического анализа важно знать не то, какая часть дохода была потрачена на потребление, а то, какая часть прироста дохода домашнего хозяйства будет израсходована на потребление. Отношение прироста /изменения/ потребления к изменению дохода называется предельной склонностью к потреблению.
Предельная склонность к потреблению показывает, какая часть дополнительного дохода используется на потребление.
Сбережение - это та часть дохода, которая не потребляется. Сбережения равны располагаемому доходу за минусом расходов на личное потребление. Наиболее распространенной формой сбережений является размещение их на депозитах в банках и других финансово-кредитных учреждениях. Другая часть сбережений используется для приобретения акций, облигаций или иных ценных бумаг.
Воздерживаясь от текущего потребления, сберегающие стремятся увеличить свой будущий доход за счет поступления дивидендов, процентов, ренты и повышения цены капитала. В национальном масштабе сбережения являются частью текущего национального дохода, которая не расходуется на потребление и представляет изъятие из кругооборота национального дохода.
Сбережения осуществляются домашними хозяйствами, фирмами /в виде нераспределенной прибыли/ и государством в виде бюджетного излишка.















