Шпаргалочка (1094017)
Текст из файла
1.Свойства и классификация вод
Вода играет решающую роль во многих процессах, протекающих в природе, и в обеспечении жизни человека. В промышленности воду используют как сырье и источник энергии, как хладоагент, растворитель, экстрагент, для транспортирования сырья и материалов и др.
В
зависимости от степени минерализованности (в г/л) воды делятся: на пресные (с содержанием солей <1); солоноватые (1…10); соленые (10…50) и
рассолы (>50). В свою очередь пресные воды подразделяются на воды малой
минерализов (до 200 мг/л); средней(200…500мг/л) и повышенной (500…1000 мг/л). По преобладаю-
щему аниону все воды делятся на гидрокарбонатные, сульфатные и хлорид-
ные.
Жесткость природных вод обусловливается присутствием в них солей кальция и магния и выражается концентрацией ионов Са2+ и Mg2+ в ммоль эквл–1. Различают общую, карбонатную и некарбонатную жесткость. Карбонатная жёсткость связана с присутствием в воде гидрокарбонатов кальция и магния Ca(HCO3)2, Mg(HCO3)2.
Некарбонатная жёсткость воды означает содержание сульфатов, хлоридов, нитратов кальция и магния: CaSO4, CaCl2, Ca(NO3)2 и MgSO4, MgCl2, Mg(NO3)2.
Общая жёсткость воды сумма карбонатной и некарбонатной жёсткости.
вследствие загрязнения поверхности водоемов гидрофобными веществами и сокращения доступа кислорода из атмосферы (в отсутствие кислорода в воде идут восстановительные процессы, в частности, сульфаты восстанавливаются до сероводорода).
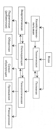
Классификация вод по целевому назначению Воду, используемую в промышленности, подразделяют на охлаждающую, технологическую и энергетическую рис. 1).
Вода часто служит для охлаждения жидких и газообразных продуктов в теплообменных аппаратах, где она не соприкасается с материальными потоками и не загрязняется, а лишь нагревается. В промышленности 65…80 % расхода воды потребляется именно для охлаждения. На крупном химическом предприятии потребление охлаждающей воды достигает 440 млн кубометров в год. Суммарный расход воды в системах охлаждения на всех предприятиях химической промышленности составляет 20 млрд кубометров в год.
Технологическую воду подразделяют на средообразуюшую, промывающую и реакционную. Средообразутощую воду используют для растворения и образования пульп, при обогащении и переработке руд, гидротранспорте продуктов и отходов производства; промывающую — для промывки газообразных (абсорбция), жидких (экстракция) и твердых продуктов и изделий; реакционную — в составе реагентов, а также при азеотропной отгонке и в аналогичных процессах. Технологическая вода непосредственно контактирует с продуктами и изделиями.
Энергетическая вода потребляется для получения пара и нагревания оборудования, помещений, продуктов.
2.Оборотное водоснабжение
Наиболее перспективный путь уменьшения потребления свежей воды — это создание оборотных и замкнутых систем водоснабжения. Схемы оборотного водоснабжения показаны на рис. 2.
Рис. 2. Схемы оборотного водоснабжения: а) с охлаждением воды; б) с очисткой воды; в) с охлаждением и очисткой воды;
П — производство; НС — насосная станция; ОХ — охлаждение воды; ОС — очистка сточной воды
При оборотном водоснабжении следует предусмотреть необходимую очистку сточной воды, охлаждение оборотной воды, обработку и повторное использование сточной воды.
В схеме а вода является теплоносителем и в процессе использования не загрязняется, но нагревается; перед повторным использованием ее охлаждают в градирнях, прудах. В схеме б воду перед повторным использованием очищают. В схеме в воду очищают и охлаждают. Во всех случаях свежая вода добавляется лишь на восполнение потерь.
Оборотную воду в основном используют в теплообменной аппаратуре для отвода избыточного тепла. Она многократно нагревается до 40…45 °С и охлаждается в вентилируемых градирнях или брызгальных бассейнах. Значительная часть её теряется в результате брызгоуноса и испарения. Кроме того, из-за неисправностей и неплотностей теплообменной аппаратуры она несколько загрязняется.
Для предотвращения инкрустации (отложения солей в виде крупных кристаллов), коррозии, биологического обрастания часть оборотной воды выводят из системы (так называемая «продувочная» вода), добавляя свежую воду из источника или очищенные сточные воды.
Основное требование к воде для подпитки оборотных систем — ограничение и карбонатной, и сульфатной жёсткости.
3.Методы очистки сточных вод.
Дистилляция, ионный обмен, обратный осмос, электродиализ.
При создания замкнутых систем водоснабжения промышленные сточные воды подвергаются очистке механическими, химическими, физико-химическими, биологическими и термическими методами до необходимого качества. Классификация методов очистки схема (на обороте)
Обратным осмосом называют процесс разделения истинных растворов продавливанием их через полунепроницаемые мембраны, которые пропускают воду, но задерживают гидратированные ионы солей и молекулы органических соединений.
Обратный осмос производят с помощью полимерных мембран – ацетат целлюлозных, полиамидных и др
Водоподготовка на обратноосмотических фильтрах не требует в отличие от очистки отходов получения высокого солесодержания в концентрате и, следовательно, позволяет использовать низкое давление и более простые аппараты. Электродиализ заключается в направленном движении ионов под действием постоянного электрического тока. Для разделения и удаления ионов в установке имеются специальные катионитные и анионитные мембраны, изготовленные из ионообменных смол, которые пропускают ионы только одного знака заряда.
Ионный обмен — технология очистки питьевой, хозяйственной и производственн воды от растворённых загрязнителей, молекулы которых диссоциируют в воде на парные частицы противоположного электрического заряда — ионы, из которых загрязнителем выступает либо катион (+), либо анион (–), причём очистителем служит особое пористое вещество в твёрдой фазе — ионит, которое при контакте с очищаемой водой извлекает из неё ионы-загрязнители и удерживает их в своих порах, а взамен выделяет в воду безвредные ионы того же знака (противоионы).
Ионный обмен — наиболее эффективен для извлечения из воды ионов тяжёлых металлов: Zn2+, Cu2+, Cr3+, Ni2+, Pb2+, Hg+, Cd2+, V3+, Mn2+, а также соединений мышьяка (As), фосфора (Р), цианидов (CN–) и радиоактивных веществ..
Ионным обменом производится также обессоливание технической воды, в частности для устранения её жёсткости, обусловленной солями кальция и магния.
Дистилляция
Вода, испаряясь, освобождается практически ото всех растворенных и нерастворенных примесей. В дистилляторах для ускорения естественного процесса испарения воды применяется нагревание воды до температуры кипения, что приводит к интенсивному образованию пара. При этом механические частицы, содержащиеся в воде (включая бактерии, вирусы, коллоиды и взвешенные частицы) оказываются слишком тяжелыми, чтобы быть подхваченными паром. Одновременно почти все растворенные в воде химические
вещества (включая соли железа, других тяжелых металлов, соли жесткости и т.д.) достигают предела своей растворимости (за счет повышенной температуры и особенно увеличения концентрации - вода-то постоянно улетучивается) и выпадают в осадок. В дальнейшем пар, охлаждаясь в специальных конденсаторах, простейшим из которых является змеевик, конденсируется, опять превращаясь в воду. Этот конденсат и является той высокоочищенной водой, которую называют дистиллятом.
4.Экстракторы, ректиф, адсорберы (очистка от органических примесей)
Установки жидкостной экстракции применяют для очистки сточных вод, содержащих фенолы, масла, органические кислоты, ионы металлов и др. Процесс состоит в извлечении одного или нескольких компонентов из данной смеси экстрагентом, обладающим ограниченной взаимной растворимостью, либо двумя несмешивающ растворителями, каждый из которых преимущественно растворяет разные компоненты.
В качестве экстрагентов используют органические растворители (бензол, тетрахлоридметан, бутилацетат и др.). Экстракционный метод очистки производственных сточных вод основан на распределении загрязняющего вещества в смеси двух взаимонерастворимых жидкостей соответственно его растворимости в них. Метод экстракции позволяет разделять такие жидкие смеси, которые другими методами разделить невозможно или затруднительно.
Исходная смесь образует одну фазу, экстрагент - другую. Одна из этих фаз является сплошной, другая дисперсной, распределенной в первой в виде капель.
Отношение взаимно уравновешивающихся концентраций в двух несмешивающихся (или слабосмешивающихся) растворителях при достижении равновесия является пост и называется коэффициентом распределения
kp = Cэ/Cст ≈ const,
где Сэ, Сст — концентрация экстрагируемого вещества соответственно в экстрагенте и сточной воде при установившемся равновесии, кг/м3.
Коэффициент распределения kp зависит от температуры, при которой проводится
экстракция, а также от наличия различных примесей в сточных водах и экстрагенте.
После достижения равновесия концентрация экстрагируемого вещества в экстрагенте значительно выше, чем в сточной воде. Сконцентрированное в экстрагенте вещество отделяется от растворителя и может быть утилизировано. Экстрагент после этого
вновь используется в технологическом процессе очистки.
Ректификация.
Сущность процесса ректификации состоит в выделении из смеси двух или нескольких жидкостей с различными температурами кипения одной или нескольких жидкостей в более или менее чистом состоянии. Это достигается многократным тепло- и массообменом между жидкой и паровой фазами; в результате часть легколетучего компонента переходит из жидкой фазы в паровую, а часть менее летучего компонента – из паровой фазы в жидкую.
Процесс ректификации осуществляется в ректификационной установке (рис. ),
состоящей из ректификационной колонны 2, дефлегматора 3, холодильника 4, подогре-
вателя исходной смеси 1, сборников дистиллята 5 и кубового остатка 6. Дефлегматор, холодильник и подогреватель представл собой обычные теплообменники. Основным узлом установки является ректификационная колонна, в которой пар поднимается снизу вверх, а сверху вниз стекает жидкость, подаваемая в верхнюю часть аппарата в виде флегмы. В большинстве случаев конечными продуктами являются дистиллят
и кубовый остаток
Схема ректификационной установки непрерывного действия.
Адсорбция-улавливание из газообразной среды или раствора какого-либо вещества (адсорбтива) и удержание его молекул (как адсорбата) поверхностью твердого тела (адсорбента).
Адсорбционные методы широко применяют для глубокой очистки сточных вод от растворенных органических веществ, в частности, после биохимической очистки, а также в случае невысокой концентрации загрязнителей, когда они биологически не разлагаются или же являются весьма токсичными.
Адсорбцию используют для очистки сточных вод от фенолов, гербицидов, пестицидов, ароматических нитросоединений, ПАВ, красителей. Достоинства метода: он эффективен, позволяет очищать промстоки от нескольких веществ одновременно. Адсорбционная очистка бывает регенеративная, когда после извлечения загрязнителя из воды, адсорбент очищают от него с восстановлением исходных свойств, или деструктивная, когда извлечённый загрязнитель уничтожают вместе с адсорбентом.
Адсорбенты, как правило, представляют собой порошковые или пористые вещества и материалы с развитой активной поверхностью зёрен или сообщающихся пор.
В качестве адсорбентов используют активные угли, синтетические сорбенты и некоторые отходы производства (золу, шлаки, опилки и пр.).
5.Методы гидромеханической очистки
Промышленные сточные воды представляют собой дисперсные системы, где дисперсонной средой служит вода, которая, как правило, сама содержит растворённые в ней вредные твёрдые, жидкие вещества и/или газы.
Для удаления суспензий и взвесей из сточных вод используют периодические и непрерывные гидромеханические процессы:
— процеживание,
Характеристики
Тип файла документ
Документы такого типа открываются такими программами, как Microsoft Office Word на компьютерах Windows, Apple Pages на компьютерах Mac, Open Office - бесплатная альтернатива на различных платформах, в том числе Linux. Наиболее простым и современным решением будут Google документы, так как открываются онлайн без скачивания прямо в браузере на любой платформе. Существуют российские качественные аналоги, например от Яндекса.
Будьте внимательны на мобильных устройствах, так как там используются упрощённый функционал даже в официальном приложении от Microsoft, поэтому для просмотра скачивайте PDF-версию. А если нужно редактировать файл, то используйте оригинальный файл.
Файлы такого типа обычно разбиты на страницы, а текст может быть форматированным (жирный, курсив, выбор шрифта, таблицы и т.п.), а также в него можно добавлять изображения. Формат идеально подходит для рефератов, докладов и РПЗ курсовых проектов, которые необходимо распечатать. Кстати перед печатью также сохраняйте файл в PDF, так как принтер может начудить со шрифтами.
















