Шпаргалочка (1094017), страница 5
Текст из файла (страница 5)
Производительность фильтра определяют из уравнения:
где Q — производительность фильтрования V — объем фильтрата (за время τ), м3; F — рабочая поверхность фильтрования, м2;
τ — продолжительность фильтрования, с;
ΔР — перепад давления, Па;
μ динамическая вязкость фильтрата, Пас;
Rос и Rф.п. — сопротивление осадка и фильтрующей перегородки соответственно, м-1
Напорные фильтры с зернистой загрузкой применяются для механической очистки нефтесодержащих сточных вод после их гравитационного отстаивания. Фильтр с зернистой перегородкой представляет собой резервуар, в нижней части которого имеется дренажное устройство для отвода воды. На дренаж укладывают слой поддерживающего материала, а затем фильтрующий материал. Для скорых фильтров используют открытые (самотечные) или закрытые (напорные) резервуары с восходящим (снизу вверх) или нисходящим (сверху вниз) потоком.
Для разделения труднофильтруемых дисперсных систем (вода + твёрдые частицы) применяют непрерывные высокопроизводительные барабанные вакуум-фильтры со сходящим полотном и поверхностью фильтрования до 40 м2.
1фильтровальн ткань;2,5,7-ролики;3-нож;
4-сопло для подачи промывной воды;6 лоток для удал промывн жидк;8-корыто
Сточная вода поступает внутрь вращающегося под действием вакуума, а выводится через распределительное устройство. Твердая фаза собирается на поверхности полотна, от которого отделяется ножом. Ткань регенерируют промывной жидкостью, подаваемой под давлением.
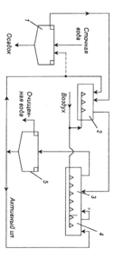
Схема скоростного контактного фильтра:
1 — корпус, 2 —удаление промывных вод, 3 —подача сточных вод, 4 —подача промывных вод, 5 — пористый дренаж, 6 — фильтрующий материал
Сточная вода поступает внутрь фильтра, проходит через слой однородного фильтрующего материала и дренаж, после чего выводится из фильтра. Когда фильтрующий материал будет полностью забит осадком, снизу вверх пропускают промывочную воду. Дренажное устройство выполнено из пористобетонных сборных плит. На нем насыпан однородный по составу и величине зёрен слой фильтрующего материала высотой 1,5…2 м. Скорость фильтрования 12…20 мч–1.
20.Очистка от соединений Fe.
Переход Fe2+ в Fe3+.
Способы аэрации воды.
В питьевой воде наличие железа полезно и даже необходимо, но в малых дозах — на уровне микроэлементов.
В производстве бумаги, в текстильной промышленности, в прачечных использование воды, содержащей железо, недопустимо: она пачкает ржавыми пятнами продукцию и стираемое бельё. Ионы железа загрязняют ионообменные смолы, поэтому перед ионообменной очисткой воды сначала необходимо удалить из неё эти элементы.
Кроме того, железо содержится в сточных водах химических, металлургических, машиностроительных, металлообрабатывающих, нефтехимических, текстильных, химико-фармацевтических и других производств. При содержании железа более 1 мг/л вода приобретает бурый цвет. При движении такой воды по трубопроводам на их стенках откладываются соединения железа и железобактерии, уменьшая сечение трубопровода.
Обезжелезивание воды — процесс сложный из-за: 1) разнообразия форм железа в воде;
2) лёгкости сдвига реакции Fe2+ ↔ Fe3+ как в ту, так и другую сторону; 3) высоких концентраций.
Даже в чистой и прозрачной на вид воде может содержаться до нескольких мгл–1 Fe2+. Однако, при контакте с кислородом воздуха начинается окисление до Fe3+ в коллоидном состоянии, так что вода желтеет:
Для обезжелезивания поверхностных вод используются только реагентные методы с последующей фильтрацией. Обезжелезивание подземных вод осуществляют фильтрованием в сочетании с одним из такихспособов предварительной обработки воды, как: упрощенная аэрация, аппаратная аэрация, коагуляция в сочетании с осветлением, окисление реагентами.
Иногда приходится использовать и другие методы: ионный обмен, диализ, флотацию, электрокоагуляцию.
Способы аэрации: пневматический, механический и пневмомеханический. Выбор способа аэрации зависит от необходимой интенсивности аэрации.
Пневматические аэраторы.
Воздух нагнетается в аэротенк под давлением. подразделяют на три типа в зависимости от размера продуцируемого
пузырька воздуха: на мелкопузырчатую — с размером пузырька до 4 мм, среднепузыр-
чатую — 5…10 мм и крупнопузырчатую — более 10 мм.
Механические аэраторы
Аэраторы бывают с вертикальной и горизонтальной осью вращения вала. Первые делятся на поверхностные и заглубленные в сточную воду. По принципу аэрации они делятся на турбинные, импеллерные и струйные. Аэраторы с горизонтальной осью
В
вращения бывают поверхностные (роторные) и мешалочные.
Пневмомеханические аэраторы
Пневмомеханические аэраторы применяют, когда требуются интенсивное перемешивание и высокая окислительная мощность. Сжатый воздух поступает через аэрационное кольцо с большими отверстиями и разбивается на мелкие пузырьки. Это повышает эффективность использования кислорода и снижает энергозатраты на создание мелких пузырьков по сравнению с аэраторами из пористых плит и труб.
Устройства для аэрации
При пневматической аэрации сжатый воздух воздуходувкой подают через пористые керамические плиты, пористые и перфорированные трубы разного диаметра. При механической аэрации происходит перемешивание жидкости различными устройствами, дробящими струи воздуха. Вблизи этих устройств возникают пузырьки газа, способствующие переходу кислорода в сточную воду.
21.Очистка нефтесодержащих ст вод.
Гальванокоагулятор.
Электрохимические коагуляторы. Коагуляция вод, содержащих мелкодисперсные и кололидные частицы, может происходить при пропуске сточных вод через электролизер с анодом, изготовленным из алюминия или железа. Металл анода под действием постоянного тока ионизируется и переходит в сточную воду, частицы загрязнений которой коагулируются образовавшимися труднорастворимыми гидроксидами алюминия или железа.
Метод электрохимического коагулирования может быть применен для обработки сточных вод, содержащих эмульгированные частицы масел, жиров и нефтепродуктов,хроматы, фосфаты. Компактность установок, отсутствие реагентного и складского хозяйства, простота обслуживания являются несомненным достоинством метода электроимической коагуляции. Однако значительные расходы электроэнергии и металла, являющиеся следствием образования окисной пленки на поверхности электродов, их механического загрязнения примесями сточных вод, а также нагревания обрабатываемой сточной воды, ограничивают область применения этого метода.
Электрокоагуляционная установка:
1-насос; 2-бункер для осадка;
3-гидроциклон; 4-выпрямитель; 5-выпуск очищ воды;6-уловленн нефтепродукты;7-вертикальный отстойник;8-электродный блок;9-выгрузка осадка.
При электрокоагуляции в резервуаре (электрокоагуляторе) через систему плоских стальных электродов, установленных на расстоянии 10 мм друг от друга, пропускается постоянный ток плотностью 0,6 А/дм2 под напряжением 10…18 В.
Для очистки нефтесодержащих сточных вод применяют также и нефтеловушки. Нефть, масла, смолы и жиры легче воды, не смешиваются с ней, и смесь «вода—примесь» не образует стойкой эмульсии, то при отстаивании сточной воды происходит её саморасслоение на очищенную воду (внизу) и слой примеси в виде лёгкой жидкости (ЛЖ), всплывающей на поверхность воды, откуда эту примесь можно собрать и удалить.
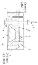
Горизонтальная прямоугольная нефтеловушка (схема)
1-корпус,2-гидроэлеватор,3-слой нефти,4-нефтесборная труба
5-нефтеудерживающая перегородка, 6 — скребковый транспортер
Нефть всплывает на поверхность воды в отстойной камере. При помощи скребкового транспортёра нефть подают к нефтесборным трубам, через которые она удаляется. Скорость движения воды в нефтеловушке: 0,005…0,01 мс–1. Полнота очистки от загрязняющей нефти 96…98 %.
Радиальные и полочные тонкослойные нефтеловушки-это усовершенствованные конструкции горизонт нефтеловушек, с меньшими габаритами и более экономичные. Остаточное содержание нефтепродуктов в воде 100 мгл–1.
Тонкослойная нефтеловушка:
1-вывод очищ воды,2-нефтесборная труба 3-перегородка,4-плавающий пенопласт, 5-слой нефти,6-ввод сточной воды,7-секция из гофрированных пластин, 8 — осадок
22.Схемы аппаратов обратного осмоса и ультрафильтрации.
Обратным осмосом называют процесс разделения истинных р-ров продавливанием их через полунепроницаемые мембраны, которые пропускают воду, но задерживают гидратированные ионы солей и молекулы органических соединений.
Обратный осмос производят с помощью полимерных мембран – ацетат целлюлозных, полиамидных и др
Ультрафильтрация — мембранный процесс разделения растворов, осмотическое давление которых мало. Этот метод используется при отделении сравнительно высокомолекулярных веществ, взвешенных частиц, коллоидов. Ультрафильтрация по сравнению с обратным осмосом— более высокопроизводительный процесс, так как высокая проницаемость мембран достигается при давлении 0,2…1 МПа.
Обратный осмос и ультрафильтрацию применяют в системах локальной обработки сточных вод при небольших их расходах для концентрирования и выделения относительно ценных компонентов и для очистки воды.
Аппараты для мембранных процессов подразделяют на четыре основных типа,
различающихся способом укладки мембран: аппараты с плоскими мембранными элементами, с трубчатыми мембранными элементами, с мембранными элементами рулонного типа. В зависимости от конструкции аппаратов и схемы установок аппараты могут работать как в режиме идеального вытеснения, так и в режиме идеального перемешивания.
С плоскими мембранными элементами
Основой этих аппаратов является мембранный элемент, состоящий из плоских (листовых) мембран, уложенных по обе стороны плоского пористого материала-дренажа, либо приготовленных непосредственно на его поверхности.
Расстояние между соседними мембранными элементами - в пределах 0,5…5 мм.
Разделяемый раствор последовательно проходит между всеми мембранными элементами, концентрируется и удаляется из аппарата. Часть этого раствора, прошедшая через мембрану в дренаж, образует пермеат (фильтрат).
1мембранные элементы;2фланец;3направляю штанги;4опорные пластины;5мембраны;
6 проточное кольцо;7 замковое кольцо;
8 заглушка;9 шланг;10коллектор пермеата (фильтрата).
С трубчатыми мембранными элементами
Трубчатый мембранный элемент состоит из
мембраны 2 и дренажного каркаса. Дренажный каркас изготовляют из трубки, являющейся опорой для мембранного элемента и обеспечивающей отвод пермеата, и микропористой подложки 3, исключающей
вдавливание мембраны 2 в дренажные каналы трубки под воздействием рабочего давления разделяемой смеси. Различают трубчатые
мембранные элементы с мембраной 2 внутри (а), снаружи (б) трубки и с комбинированным (в) ее расположением.
С рулонными мембранными элементами
Многослойный аппарат со спиральной рулонной упаковкой мембран:
I-ввод исходн воды;II-вывод концентрата; III — вывод фильтрата (пресной воды);
1-мембраны;2пористый или сетчатый материал для отвода фильтрата; 3 - поропласт для подвода исходной воды к
















