Вариант №16 (1093153)
Текст из файла
Московский Государственный Университет Инженерной Экологии
Кафедра «Технология машиностроения и материаловедение»
Курсовая работа.
Разделы I и III.
Вариант №16
Чертежи взяты с сайта Колчкова, их надо править в соответствии с расчетами!!!
Преподаватель:
Колчков В.И.
Задание
Раздел I
Расчёт и выбор точности деталей подшипникового узла.
-
Рассчитать и определить необходимые для нормального функционирования редуктора посадки:
а) внутреннего кольца подшипника на вал – d;
б) наружного кольца подшипника в корпус – D;
в) крышек (глухой и с отверстием) с корпусом – d1;
г) дистанционного кольца (втулки) с валом – d2;
д) червячного колеса с валом – d3; -
Построить схемы расположения полей допусков для принятых посадок по диаметрам: d, D, d1, d2, d3.
-
Рассчитать предельные параметры посадок (зазоры, натяги) и их средние значения.
-
Рассчитать допуски посадок.
-
Начертить эскизы деталей: корпуса, вала, червячного колеса, дистанционного кольца, крышек и проставить обозначения требований к точности.
-
Обозначить посадки на сборочном чертеже.
-
Обозначить требования к качеству поверхностей и допуски формы для деталей сопрягающихся с кольцами подшипников качения (ПК).
Раздел III
Выбор средств контроля размеров деталей редуктора
Выбрать средства для деталей и соединений п.п. 1,2,3
1.Крышка подшипникового узла.
2.Распорная втулка (кольцо).
3.Осевой зазор при сборке.
4.Расчитать исполнительные размеры контрольных калибров (см. Лекции) для контроля размеров деталей посадки "зубчатое колесо - вал" (по d3).
5. Обозначить требования к точности калибров на эскизах калибров пробки и скобы.
Раздел I
Расчёт и выбор точности деталей подшипникового узла.
р
ис. 1
1. Посадки подшипника качения на вал и в корпус
Исходные данные: подшипник 5-7309 – однорядный конический, 5-го класса точности; радиальная реакция опоры Fr = 15000 Н; условия работы – удары, вибрация, перегрузка до 150%; вал – сплошной dотв/d = 0; корпус разъемный; вращается вал, корпус – неподвижен.
Решение. По справочнику находим посадочные размеры подшипника: диаметр наружного кольца – D = 100 мм, внутреннего – d = 45 мм, посадочная ширина, т.е. ширина без учёта радиусов закругления – b = 20 мм; нижние предельные отклонения колец определяем по табл.13 – eiD= -0.013мм, EId = -0.010 мм, верхние отклонения равны 0, тогда D = 100 -0,013 , d = 45 -0,012.
Вид нагружения колец: наружное – местное, внутреннее – циркуляционное.
Основное отклонение корпуса находим по табл.7 с учетом того, что: корпус неразъемный, перегрузка 150%, D = 100 мм, получим основное отклонение – H. Поле допуска отверстия корпуса с учетом класса точности подшипника – H6. Посадка наружного кольца в корпус –
100H6/l5. Пользуясь табл. 1 и табл.13 строим схему расположения полей допусков (рис. 2а).
Основное отклонение валов определятся по интенсивности нагружения R.
PR =( Fr/b)·k1·k2·k3 [Н/мм]
Коэффициент k1=1,0 (табл.9), с учетом перегрузки 150%;
k2=1,0 , т.к. сплошной вал;
k3 = 1,0 , т.к. подшипник однорядный.
PR = (15000/20) ·1,0 ·1,0 ·1,0 = 750 Н/мм. По табл.8 находим основное отклонение вала – k; поле допуска вала, с учетом класса точности подшипника – k5. Посадка внутреннего кольца на вал -
45L5/k5. Пользуясь табл.1 и табл. 4 строим схему расположения полей допусков (рис. 2б).
Параметры посадки:
а) Smax= ESD – eid = 22 +13 =35 мкм
Smin=EID – esd =0 мкм
TS = Smax – Smin = 35 мкм
Scp = (Smax + Smin)/2 = 35/2 =17,5 мкм
б) Smax= ESD – eid = 13 +10 =23 мкм
Smin=EID – esd = 17 мкм
TS = Smax – Smin = 23 –17 =6 мкм
Scp = (Smax + Smin)/2 =(23 +17)/2 =40/2 =20 мкм
рис. 2
2. Посадка крышки в корпус
Посадка крышки в корпус зависит от:
-
конструкция крышки – глухая, с отверстием для выхода вала;
-
поля допуска отверстия в корпусе, которое выполнено под подшипник;
-
необходимости обеспечить возможность легкой сборки – разборки;
-
требований к точности центрирования манжетного уплотнителя (крышка с отверстием).
Исходные данные соответствуют примеру 1.
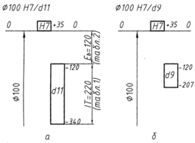
Решение. Требуемым условием удовлетворяют поля допусков предпочтительного применения (табл.5) d11 – для глухих крышек и d9 – для крышек с отверстием. Таким образом, получаем комбинированные посадки
100H6/d11 и
100H6/d9. Схемы расположения полей допусков представлены на рис. 3а и 3б.
а) Smax= ES – ei = 22 + 340 =362 мкм
Smin= EI – es = 0 –120 =120 мкм
TS = Smax – Smin = 362 –120 =242 мкм
Scp = (Smax + Smin)/2 =(362 +120)/2 =241 мкм
б) Smax= ES – ei = 22 +207 =229 мкм
Smin= EI – es = 0 –120 =120 мкм
TS = Smax – Smin = 229 –120 =109 мкм
Scp = (Smax + Smin)/2 =(229 +120)/2 =174,5 мкм
3. Посадка дистанционного кольца (втулки) на вал
Исходные данные: вал выполнен под подшипник, поле допуска - k5; дистанционное кольцо должно достаточно легко собираться с валом, т.е. Smin f >0; максимальный зазор в соединении не должен вызывать повышенную неуравновешенность при вращении – пусть, например, Smax f
100 мкм, т.е. допустимый эксцентриситет ef
50 мкм, т.к. Smax
2ef.
Решение. Возможны, например, варианты применения предпочтительных полей допусков
45F8 ,
45D8 и рекомендуемой
45Е9 (рис. 4).
рис. 4
В примере, исходным условиям лучше всего удовлетворяет посадка
45F8. К тому же, она является предпочтительной.
Smax= ES – ei = 64 –13 =51 мкм < 100
Smin= EI – es = 25 –2 =23 мкм >0,
TS = Smax – Smin = 51 –23 =28 мкм
Scp = (Smax + Smin)/2 = (51 +23)/2 =37 мкм
Для посадки
45D8:
Smax= ES – ei = 119 –13 =106 мкм >100
Smin= EI – es = 80 –2 =78 мкм
TS = Smax – Smin = 106 –78 = 28 мкм
Scp = (Smax + Smin)/2 =(106 +78)/2 =92 мкм
Для посадки
45E9:
Smax= ES – ei = 112 –13 =99 мкм
Smin= EI – es = 59 –2 =57 мкм
TS = Smax – Smin = 99 –57 = 42 мкм
Scp = (Smax + Smin)/2 =(99 +57)/2 =78 мкм
4. Посадка червячного (зубчатого) колеса на вал
На сборке (рис. 1) изображена червячная передача, крутящий момент может передаваться шпонкой или без нее, поэтому рассмотрим эти два варианта.
1) Исходные данные: червячная передача 7-ой степени точности, диаметр червячного колеса Dк = 120 мм., диаметр соединения dк = 55 мм. Обеспечить легкую сборку – разборку, крутящий момент передается шпонкой.
Решение. Находим по ГОСТ 16502 – 81 или справочнику допуск на радиальное биение зубчатого венца Fr = 30 мкм; Fr = 2e < Smax. Посадка должна быть выбрана в СА ориентировочно по IT6 – IT8 из числа предпочтительных или рекомендуемых (табл.6). Тип посадки – переходная, из числа обеспечивающих большую вероятность зазора. После предварительных расчетов остановимся например на следующих посадках: 55 Н8/k7; 55 Н7/js6; 55 Н7/k6.
Рис. 6
Как видно из построенных схем полей допусков (рис. 6 а, б, в) принятым условиям удовлетворяет посадка
55 H7/k6, т.к.
Smax = ES – ei = 30 –2 =28 мкм < Smax f
Nmax = es –EI = 21 –0 =21 мкм
TS(N) = Smax + Nmax = 28 +21 =49 мкм
S(N) = (Smax –Nmax )/2 = (28 –21) =3,5 мкм
В других случаях:
а) Smax= ES – ei = 46 –2 =44 мкм >Smax f.
Nmax = es –EI = 32 –0 =32 мкм
TS(N) = Smax + Nmax = 44 +32 =76 мкм
S(N) = (Smax –Nmax )/2 = (44 –32)/2 =6 мкм
б) Smax= ES – ei = 30 +9,5 =39,5 мкм >Smax f ,
Nmax = es –EI = 9,5 –0 =9,5 мкм
TS(N) = Smax + Nmax = 39,5 +9,5 =49 мкм
S(N) = (Smax –Nmax )/2 = (39,5 –9,5)/2 =15 мкм
2) Исходные данные: червячная передача 7-ой степени точности, диаметр червячного колеса D3 = 120 мм, диаметр соединения d3 = 55 мм. Крутящий момент передается посадкой с натягом, расчетные функциональные натяги равны Nmaxf = 90 мкм, Nminf =30 мкм. Обеспечить легкую сборку – разборку, крутящий момент передается без шпонки.
Решение. Оценим квалитет точности соединения, приняв систему отверстия (СА): TD' = Td'= (Nmaxf – Nminf)/2 = (90 – 30)/2 = 30 мкм, полученное значение подходит под квалитет IT7 (IT =30 мкм), (табл.1). Тип посадки – переходная, из числа обеспечивающих большую вероятность зазора.
Возможное отклонение вала: E'b = TD + Nminf; для IT7 E'b = 30 + 30 =60 мкм. Штрихами обозначены расчетные значения, без штрихов стандартные. Ближайшее стандартное основное отклонение находим по табл.3 для d3 =55 мм оно соответствует t и равно 66 мкм. Рассмотрим три варианта посадок: а)55 H7/t7; б)55 H6/t6; г)55 H6/t6.
Условие: Nmax < Nmaxf и Nmin должно отличатся не более чем на 5 % от Nminf
Условиям соответствует вариант:
в) Nmax = ES – ei =85 –0 =85 мкм
Nmin = ei – ES = 66 –30 =36 мкм, отличается от Nmax f на 5%.
TN = Nmax –Nmin =85 –36 =49 мкм
Ncp =(Nmax +Nmin)/2 = (85 +36)/2 =121 мкм
Варианты а) и б) не подходят:
а) Nmax = ES – ei =96 – 0 =96 мкм >Nmax f
Nmin = ei – ES =66 –30 = 36 мкм
TN = Nmax –Nmin =96 –36 =60 мкм
Ncp =(Nmax +Nmin)/2 =(96 +36)/2 =66 мкм
б) Nmax = ES – ei =85 –0 = 85 мкм
Nmin = ei – ES = 66 –19 = 47 мкм, отличается от Nmin f больше, чем на 5%.
TN = Nmax –Nmin =85 –47 =38 мкм
Ncp =(Nmax +Nmin)/2 = (85 +47)/2 =66 мкм
Допуски определяются по рекомендациям: корпус – IT/8 = 35/8 = 4,374 мкм = 0.004 мм; Вал – IT/8 = 19/8= 2,375 мкм = 0.002 мм. Шероховатость поверхности определяется по табл.12
Характеристики
Тип файла документ
Документы такого типа открываются такими программами, как Microsoft Office Word на компьютерах Windows, Apple Pages на компьютерах Mac, Open Office - бесплатная альтернатива на различных платформах, в том числе Linux. Наиболее простым и современным решением будут Google документы, так как открываются онлайн без скачивания прямо в браузере на любой платформе. Существуют российские качественные аналоги, например от Яндекса.
Будьте внимательны на мобильных устройствах, так как там используются упрощённый функционал даже в официальном приложении от Microsoft, поэтому для просмотра скачивайте PDF-версию. А если нужно редактировать файл, то используйте оригинальный файл.
Файлы такого типа обычно разбиты на страницы, а текст может быть форматированным (жирный, курсив, выбор шрифта, таблицы и т.п.), а также в него можно добавлять изображения. Формат идеально подходит для рефератов, докладов и РПЗ курсовых проектов, которые необходимо распечатать. Кстати перед печатью также сохраняйте файл в PDF, так как принтер может начудить со шрифтами.
















