Разработка технологического процесса изготовления литейных форм и отливок (1092918)
Текст из файла
Министерство образования Российской Федерации
МОСКОВСКИЙ ГОСУДАРСТВЕННЫЙ УНИВЕРСИТЕТ ИНЖЕНЕРНОЙ ЭКОЛОГИИ
Кафедра «Технология машиностроения и материаловедение»
РАЗРАБОТКА ТЕХНОЛОГИЧЕСКОГО ПРОЦЕССА ИЗГОТОВЛЕНИЯ ЛИТЕЙНЫХ ФОРМ И ОТЛИВОК
Методические указания
1. ЦЕЛЬ РАБОТЫ
1. Самостоятельное изучение студентами раздела курса МиОМ "Основы литейного производства".
2. Приобретение практических навыков в разработке технологического обеспечения способа литья в разовую песчаную форму.
2. РЕШАЕМЫЕ ЗАДАЧИ
1. Для конкретной детали разработать методы и средства технологического обеспечения способа литья в разовую песчаную форму.
2.Привить студентам навыки самостоятельной работы с нормативно-справочной литературой.
З.СРЕДСТВА ДЛЯ ПРОВЕДЕНИЯ РАБОТЫ
1.Методические указания.
2. Исходные данные в виде чертежа детали с указанием требований к ее точности и технологичности.
3. Нормативно-справочные данные.
4. Бланк отчета.
4.ПОРЯДОК ВЫПОЛНЕНИЯ РАБОТЫ
4.1. Анализ конструкции детали и выбор положения
отливки в литейной форме
Анализируя конструкцию детали, нужно четко представить ее пространственную конфигурацию, геометрическую форму, наличие плавных переходов и радиусов закруглений между различными сечениями, конструктивные уклоны на поверхностях, отверстия, внутренние полости и т.д.
При анализе конструкции детали выбирают положение отливки в форме с учетом того, что металл в нижней части отливки получается более плотным, чем в верхней. Вверху при заливке металлом скапливаются шлак и газы. Поэтому наиболее ответственные поверхности отливок, которые в дальнейшем подвергаются механической обработке, следует располагать в нижней части формы или вертикально. Дефекты, имеющиеся в нижней части отливки, обычно удаляются при механической обработке.
Необходимо обеспечить кратчайший путь прохождения металла от литниковой чаши к отливке.
В зависимости от сложности конфигурации детали выбирается количество разъемов формы и. соответственно, модели. Отливки простой конфигурации можно получить по неразъемной модели.
При выборе разъема формы и модели необходимо:
- число разъемов делать наименьшим, а поверхности разъемов плоскими для обеспечения удобства сборки формы;
- обеспечить беспрепятственное удаление модели из формы:
- обрабатываемые поверхности располагать в одной (желательно нижней) полуформе для получения плотной и однородной поверхности:
- более высокую часть модели располагать в нижней полуформе. стержни при сборке устанавливать в нижнюю полуформу. Разъем модели условно обозначают буквами РМ. а разъем литейной формы обозначают РФ. Верх и низ модели в форме обозначают буквами В и Н. Если разъем модели и формы совпадают, то применяют обозначение МФ.
4.2.Разработка средств технологического обеспечения способа литья
4.2.1. Конструирование модели
4.2.1.1. Разработка чертежа отливки
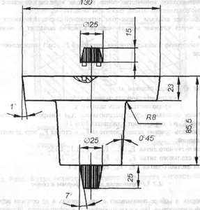
Конструирование модели начинается с разработки чертежа отливки. Для лучшего усвоения и наглядности материал излагается далее применительно к конкретной детали - фланцу. На чертеже детали (рис. 1). которая путем механической обработки будет получена из литой заготовки- наносят все технологические указания, которые в дальнейшем необходимы для изготовления модели. Все размеры детали увеличивают пропорционально величине усадки сплава, из которого будет изготовлена отливка (табл.1). На поверхности детали. подвергаемой механической обработке, на чертеже наносят знак механической обработки. На эти поверхности назначают притек 1 на механическую обработку (рис.2). На все размеры отливок, в том числе и на те размеры, которые относятся к поверхностям, не подвергающимся механической обработке, назначают допуски.
Величина припуска и допуска зависит от материала отливки, ее наибольшего габаритного размера, положения поверхности в форме при заливке (верх. низ. бок), класса точности отливки. Отливки I класса точности получают в условиях массового производства (машинная формовка по металлическим моделям). II класса точности - в условиях серийного производства (машинная формовка по моделям, изготовленным из алюминия). III класса точности - в условиях единичного производства (ручная формовка по деревянным моделям).
рис. 1 Чертеж фланца
Материал детали - серый чугун СЧ 15. тип производства - массовое
Величину припусков (в мм на сторону) и допусков выбирают по ГОСТ 2009-55 для стальных отливок (табл.2), по ГОСТ 1855-55 для отливок из чугуна (табл.3) и по нормалям для отливок из цветных сплавов (табл.4).
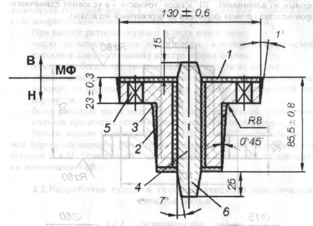
Рис. 2 Эскиз отливки
Величину припуска показывают на эскизе отливки тонкой линией. Если обрабатываемая поверхность является поверхностью вращения, то к номинальному размеру, указанному на чертеже детали. прибавляют(отнимают для внутренних) двойной припуск.
На механическую обработку литых отверстий принимают табличные припуски верха или низа. независимо от расположения отверстия.
4.2.1.2. Уточнение требований к технологичности конструкции отливки
4.2.1.2.1.Выбор величины формовочных уклонов
Для облегчения извлечения модели из уплотненной смеси на всех ее вертикальных поверхностях по отношению к плоскости разъема наносят формовочные или литейные уклоны 2 (рис.2). Величина формовочных уклонов зависит от высоты боковых поверхностей и материала детали (табл.5).
4.2.1.2.2.Выбор величины галтелей
В местах сопряжений поверхностей моделей вводят радиусы скруглений (галтели) 3 (рис.2). Галтели предупреждают осыпание формовочной смеси в углах формы при извлечении модели, способствуют уменьшению внутренних напряжений при кристаллизации отливки.
Размеры галтелей выбирают по соотношению:
R = ((a+b)/2)*((1/3)/(1/5))
где R - радиус галтели, мм;
(а + b)/2 - полусумма толщины сопрягаемых стенок отливки;
Если (а + b)/2 < 50 мм, принимают коэффициент 1/3.
Если (а+b)/2 >50 мм, принимают коэффициент 1/5.
Размеры галтелей округляют до следующих стандартных значений: 1, 2, 3, 5, 8, 10, 15, 20,15, 30, 40 мм.
4.2.1.3. Конструирование стержней и стержневых ящиков.
Внутренние поверхности в отливках, в том числе отверстия, получают с помощью стержней 4 (рис.2). Следует иметь в виду, что при литье в песчаные формы отверстия диаметром менее 20 мм в массовом производстве, диаметром менее 30 мм в серийном производстве и диаметром менее 50 мм в единичном производстве с помощью стержней не выполняют, а сверлят при дальнейшей механической обработке отливок. Исходя из сказанного, размеры отливки должны быть скорректированы с учетом напусков 5 (рис.2), упрощающих конфигурацию заготовки.
У стержней имеется знаковая часть, которая служит для установки и точной фиксации стержня в полости литейной формы при ее заливке. Знаковые части стержня 6 (рис.2) показывают на чертеже отливки выступающими за контуры отливки сплошной тонкой линией. Стержень со знаковыми частями штрихуют по всему контуру.
Если при установке стержня его ось параллельна плоскости разъема формы, то стержень называют горизонтальным, его знаки выполняют цилиндрическими, их размеры определяются по ГОСТ 3606-57 (табл.6).
Если ось стержня при его установке в форму перпендикулярна к плоскости разъема, то такой стержень называют вертикальным, и его знаковые части для удобства сборки формы выполняют коническими.
Для надежного крепления стержня в форме высоту нижнего знака выполняют больше высоты верхнего знака и выбирают по ГОСТ 3606-57 (табл. 7.8)
Уклоны знаков вертикальных стержней выбирают по ГОСТ 3606-57 (табл.9). По эскизу отливки зарисовывают конфигурацию стержня вместе со знаковыми частями и указывают его размеры (рис.3). По эскизу стержня оформляют контур стержневого ящика. Размеры ящика назначают конструктивно, чтобы толщина стенок была примерно равной половине диаметра стержня. Стержневые ящики изготовляют из древесины или металла.
Рис. 3 Эскиз стержня и стержневого ящика
4.2.1.4. Разработка чертежа модели
После разработки чертежа отливки приступают к изготовлению модели (рис.4). Размеры модели и ее очертания соответствуют размерам и очертанию отливки. Если модель разъемная, то для наглядности обе половины показывают раздвинутыми, чтобы можно было представить их фиксацию при сборке. Поверхности деревянных моделей окрашивают для предохранения от влаги и уменьшения шероховатости. Цвет окраски моделей и отдельных ее частей регламентирует ГОСТ 2413-67. Знаковые части моделей всегда имеют черный цвет. корпус моделей может быть красным, зеленым, серым и желтым в зависимости от применяемого сплава.
рис. 4 Эскиз модели
4.2.2. Расчет элементов литниковой системы
Литниковая система служит для заполнения литейной формы металлом. Для различных сплавов и видов форм применяют разные по конструкции литниковые системы, но независимо от конструкций литниковая система должна обеспечивать:
- питание отливки в процессе кристаллизации жидким металлом и предотвращение усадочных раковин:
- равномерное заполнение металлом формы без размывания и подсоса воздуха:
- задержание шлаковых, неметаллических и засорных включений и предотвращение попадания их в полость формы с металлом:
- кратчайший путь металлу в полость формы, чтобы он не терял температуру;
- минимальное количество точек подвода металла к отливке с целью сокращения объема работ при зачистке отливок и пр. Наиболее важным элементом литниковой системы являются питатели, через которые металл непосредственно попадает в полость формы.
Суммарную площадь сечения питателей Fп (см2) определяют по формуле:
Fп = Q/(Ky*t)
где Q - масса отливки, кг:
Ky - удельная скорость заливки, кг/см2*с:
t - продолжительность заливки, с.
Массу отливки студент рассчитывает для конкретной детали, а величины Ky и t определяют в таблицах 10 и 11.
Площадь сечения шлакоуловителя Kш и стояка Kст определяют из соотношений:
для чугунного литья Kп : Kш: Kст = 1 : 1,1 : 1,15:
для стального литья Kп : Kш: Kст =1 : 1,2 : 1,4;
для цветного литья Kп : Kш : Kст = 3 : 2 : 1.
4.2.3.Разработка эскиза формы в сборе
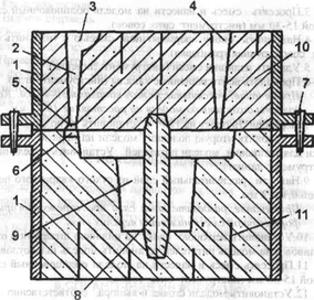
Форму в сборе показывают в двух опоках в ее сечении вертикальной плоскостью. На эскизе изображают конфигурацию отливки - ее внешние очертания, стержень со знаками, установленными в полости знаковых частей полуформ, элементы литниковой системы (рис.5).
Стержень в разрезе штрихуют по контуру. Формовочную смесь показывают тонкими линиями с точками между ними. Опоки фиксируют между собой штырями, чтобы не было их взаимного смещения при заливке расплавом.
Рис. 5 Эскиз формы в сборе
4.3. Разработка технологического маршрута изготовления отливки
В зависимости от принятого способа формовки (ручная, машинная) указывается перечень операций технологического процесса. отображающий последовательность изготовления форм и отливки. Так, например, для ручной формовки в парных опоках по разъемной модели процесс получения литейной формы и отливки можно представить последовательностью следующих операций:
1. Установить на подмодельную плиту (поддон) нижнюю опоку приливом вниз.
2. Установить в опоку на поддон половину модели плоскостью разъема вниз.
3.Просеять смесь и нанести на модель облицовочный слой толщиной 15-30 мм (инструмент: сито. совок).
4.Наполнить опоку формовочной смесью и уплотнить (инструмент: совок, ручная трамбовка).
Характеристики
Тип файла документ
Документы такого типа открываются такими программами, как Microsoft Office Word на компьютерах Windows, Apple Pages на компьютерах Mac, Open Office - бесплатная альтернатива на различных платформах, в том числе Linux. Наиболее простым и современным решением будут Google документы, так как открываются онлайн без скачивания прямо в браузере на любой платформе. Существуют российские качественные аналоги, например от Яндекса.
Будьте внимательны на мобильных устройствах, так как там используются упрощённый функционал даже в официальном приложении от Microsoft, поэтому для просмотра скачивайте PDF-версию. А если нужно редактировать файл, то используйте оригинальный файл.
Файлы такого типа обычно разбиты на страницы, а текст может быть форматированным (жирный, курсив, выбор шрифта, таблицы и т.п.), а также в него можно добавлять изображения. Формат идеально подходит для рефератов, докладов и РПЗ курсовых проектов, которые необходимо распечатать. Кстати перед печатью также сохраняйте файл в PDF, так как принтер может начудить со шрифтами.
















