Вопросы к зачету и экзамену по курсу (1087482), страница 3
Текст из файла (страница 3)
Вращательное движение от электородвигателя (в большинстве случает переменного тока) передается на гидронасос. В зависимости от типа применяемого гидронасоса давление, создаваемое в гидросистеме может быть различное.
Давление масла р имеет размерность Н/м2 (кгс/см2). Это давление рабочей жидкости р создается в гидросистеме и замеряется манометром. Часто его называют «манометрическим давлением». В прессе рабочей жидкостью является минеральное масло.
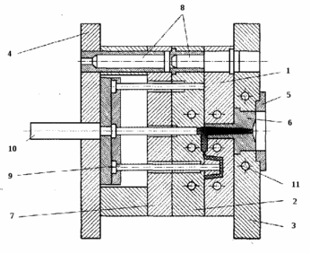
На приведенной ниже схеме (рис. 1) показан основной узел пресса с обозначением основных элементов:
Р
ис. 1. Схема основного узла пресса.
где 1 – цилиндр, 2 – плунжер недифференциального типа (в прессеД-2428–
дифференциальный), 3- направляющая втулка, 4 – уплотнение, 5 – пуансон и 6 – матрица пресс-формы;р – давление масла, F – площадь плунжера, q – давление прессования материала, f – площадь проекции изделия.
следующих конструкций пресс-форм литьевого прессования:
и — съемная с горизонтальным разъемом одногнездная;
к — съемная с горизонтальным разъемом многогнездная;
л — съемная с комбинированным разъемом одногнездная;
м — съемная с комбинированным разъемом многогнездная;
н — стационарная с горизонтальным разъемом одногнездная;
о — стационарная с горизонтальным разъемом многогнездная.
-
Литьевые формы. Особенности конструкции. Горячеканальные и холодноканальные формы.
Литьевые формы предназначены для непосредственного получения изделий из расплава, подготовленного в узле пластикации ЛМ.
Их функция состоит:
-
в приеме расплава;
-
распределении его по формообразующим полостям;
-
в формовании изделий;
-
в их выталкивании.
Конструкции литьевых форм весьма разнообразны, что вызвано двумя главными причинами: широчайшим ассортиментом получаемых изделий и разнообразием перерабатываемых полимерных материалов.
Кроме того, на конструкцию литьевых форм влияет вид материала (термо- или реактопласт), тип оборудования, характер производства, особые требования к изделиям и пр.
С точки зрения состояния полимерного материала в течение цикла производства изделия литьевые формы для термопластов подразделяются на холодно- и горячеканальные.
В холодноканальных формах во время цикла формования затвердевает весь объем поступившего в форму материала.
В горячеканальных — определенная зона формы горячая, постоянно заполнена расплавом, часть которого периодически поступает в формующие полости, расположенные в охлаждаемой зоне.
Формы для реактопластов принципиально сходны с холодноканальными с тем отличием, что вместо охлаждающей системы они имеют нагревательные устройства, поддерживающие в формующей камере температуру, требуемую условиями отверждения полимера (160-200 °С).
По числу оформляющих гнезд литьевые формы могут быть одно- и многогнездными (до 720), что, в свою очередь, определяет особенности литниковых систем.
Холодноканальные формы
Этот тип форм наиболее распространен в литье под давлением. До 90% изделий, получаемых на ЛМ, приходится на холодноканальную технологию.
Достоинства подобных литьевых форм:
сравнительно невысокая стоимость;
простота изготовления и обслуживания;
сравнительно невысокая стоимость ремонтно-восстановительных операций;
универсальнос
ть по виду перерабатываемых полимеров.
Принципиальное устройство холодноканальной формыпоказано на рис. 22.3.
Рис. 22.3 Схема устройства холодноканальной литьевой формы
Формообразующими деталями являются матрица1, пуансон2и литниковая втулка6,выталкиватели9 и10. Все эти детали в той или иной мере соприкасаются с расплавленным полимером, участвуют в оформлении отливки и являютсятехнологическими, то есть непосредственно участвующими в технологии процесса.
Конструктивные детали, то есть такие, которые обеспечивают взаимодействие элементов литьевой формы, ее прикрепление к ползуну и стойке узла смыкания, терморегулирование формы и др., — это центрующая шайба5, плиты3 и4, пластина7 и направляющие колонки8 с втулками. В матрице и пуансоне выполнены цилиндрические каналы11 для охлаждающей жидкости.
Вентиляционные каналы соединяют оформляющую полость с атмосферой. Они служат для удаления воздуха и летучих веществ из объема, заполненного расплавом. Максимальная глубина каналов определяется материалом изделия и составляет от 0,04 до 0,06 мм. Число каналов выбирается конструктивно. Нередко, особенно в случае тонкостенных изделий, газообразные вещества из формующей камеры удаляются через зазоры в сопрягаемых элементах формы.
При работе плита 3 прикрепляется болтами к передней стойке ЛМ и штифуется, а плита4таким же способом прикрепляется к ползуну. Поэтому матричная часть формы неподвижна, а пуансонная(2, 4, 7, 9, 10) перемещается возвратно-поступательно, открывая (размыкая) и запирая (смыкая) форму. При отходе пуансона влево шток10упирается в неподвижную заднюю стойку ЛМ (рис.22.3), вследствие чего узел выталкивателя смещается относительно пуансона2, его штоки9 упираются в изделие и литник и выбрасывают их из формы.
Литниковая система представляет собой совокупность каналов, по которым расплав полимера доставляется от узла пластикации к оформляющим гнездам литьевой формы. Полимер, заполняющий каналы литниковой системы, образует технологические отходы производства, усложняющие и удорожающие его, поэтому объем литников минимальный. Кроме того, конструкция литниковой системы должна обеспечивать одновременность заполнения формующих гнезд, легкое отделение формуемого изделия от литника и не должна быть причиной образования в изделии стыков, спаек и дефектов поверхности.
Литниковая система с затвердевающим в ней расплавом состоит из тpexосновных элементов (рис. 22.4): центрального1, распределительных (разводящих)2,3 и впускного4литников. Центральный литник располагается в литниковой втулке (рис. 22.4, поз. 6), разводящие и впускные литники — могут быть выполнены как в матраце, так и в пуансоне формы.
Р
ис. 22.4 Схема холодноканальной литниковой системы
По оси центрального канала в пуансоне выполняется углубление, так называемый копильник 5, в котором скапливаются непроплавленные частицы расплава, присутствующие, как правило, на фронте потока расплава (пробка из конусной части канала сопла и пр.).
-
Выталкивающие устройства для литьевых форм
Системы сброса готовых изделий подразделяются на механические и пневматические (обычно конструируются в комбинации с механическими). В случае особо сложных деталей отливки выемка изделий из формы бывает возможна только в ручную или при помощи робота.
Наиболее часто использующиеся виды механических выталкивателей:
· Выталкивающие плиты
· Стержневые толкатели
· Плоские толкатели
· Трубчатые толкатели
Представленные выталкиватели могут применяться в комплексе, как при одностадийном, так и при многостадийном выталкивании отливок. Также применяют разнообразные нестандартные толкатели.
-
Формующие головки и калибрующие устройства в экструзии термопластов
В формующих инструментах осуществляется формование поступающего из экструдера гомогенного расплава: ему придаётся форма соответствующего готового изделия, причём в некоторых случаях окончательное формование и фиксаци формы производится в калибрующих устройствах.
Основные требования к формующему инструменту: обеспечение равномерности подачи расплава полимера к оформляющим каналам (к выходу); исключение нарушения стабильности процесса; равенство скоростей потока по ширине и периметру выходной щели; исключение колебаний температуры, перегрева перерабатываемого материала и т.д.
В зависимости от формы экструдата различают: формующий инструмент с замкнутым формующим контуром поперечного сечения канала (для получения полых профилей, труб, раздувных плёнок, покрытий проводов и кабелей) и с открытым контуром поперечного сечения канала (для получения сплошых профилей, листов, плоских плёнок).
Формующий инструмент первого типа характеризуется наличием специальных элементов (дорнов), которые обтекаются (омываются) расплавом полимера с разделением потоков и их последующим соединением. Это обстоятельство создаёт определённые технические трудности при конструировании формующего инструмена. По способу крепления дорна различают формующий инструмент с неподвижным креплением дорна в специальных дорнодержателях и с креплением дорна без дорнодержателя.
В формующем инструменте первого типа дорн посредством звездообразного дорнодержателя с радиально расположенными рёбрами крепится к корпусу формующего инструмента, а рёбра дорнодержателя рассекают расплав полимера. Такие головки применяются при производстве труб (рис.1), полых профилей и рукавных плёнок (рис.2).
Рис. 1. Прямоточная трубная головка: 1 - корпус головки; 2 - фланец; 3 - дорн; 4 - мундштук; 5 - дорнодержатель; 6 - наконечник дорна; 7 - нагревательный элемент; 8 - штуцер для сжатого воздуха; 9 - ребро дорнодержателя.
Р
ис.2. Угловая экструзионная головка для получения рукавной плёнки: 1 - кольцо орна; 2 - мундштук; 3 - дорн; 4 - обойма мундштука; 5 - решётка; 6 - дорнодержатель; 7 - штуцер для подвода сжатого воздуха; 8 - переходник; 9 - вращающийся диск; 10 - зубчатая передача; 11 - привод; 12 - скользящее кольцо; 13 - вращающаяся вулка; 14 - уплотнительные шайбы; 15 - поворотная деталь; 16 - фильтр; 17 - переходник; 18 - электронагреватели; I, II, III - входная, переходная и формующая зоны соответственно.
Существуют головки с дорном, который крепится не при помощи дорнодержателя, а с помощью фланцев, расположенных на дорне (рис.3). Такие головки применяюся в производстве рукавных плёнок.
Р
ис.3. Экструзионная головка для получения рукавной плёнки с центральным питанием и регулируемым давлнием: 1 - формующее кольцо; 2 - мундштук; 3 - дорн; 4 - корпус мундштука; 5 - крепёжные болты; 6 - термопары; 7 - штуцер для подвода сжатого воздуха; 8 - переходная втулка; 9 - крапёжная шайба; 10 - дроссель; 11 - фильтр; 12 - переходник; 13 - крепёжная втулка; 14 - болт регулировки кольцевого зазора.
На рис. 4 и 5 представленны головки для нанесения покрытий на кабели или провода и для производства рукавных плёнок. В таких головках дорн крепится к специальному полому стержню, имеющему возможность осевого перемещения. В этих головках происходит боковое питане расплавом, а между дорном и корпусом головки имеется распределительный канал, предназначенный для обеспечения равномерного подвода расплава полимера к оформляющей щели. При этом возникает проблема выравнивания линейных скоростей потока по периметру оформляющей щели.
















