Вопросы к зачету и экзамену по курсу (1087482), страница 2
Текст из файла (страница 2)
Современные экструдеры способны реализовывать технологию сухой (холодной), теплой и горячей экструзии. Принцип действия экструдера может разниться в зависимости от используемой технологии.
Модели экструдеров отличаются конструктивным исполнением элементов, которые входят в рабочую часть, наличием дополнительных систем влияющих на технологические возможности экструдеров, количеством рабочих камер, конструкцией приводов, питателей и т.п.
Конструкция. Основные узлы экструдера
Основные узлы экструдера представлены:
-
Корпусом, который оснащен рабочими элементами;
-
Рабочим органом (шнеком, диском или поршнем), который размещается в корпусе;
-
Узлом загрузки перерабатываемого сырья;
-
Приводом;
-
Системой задания и поддержки температуры;
-
Прочими контрольно-измерительными и регулирующими устройствами.
Конструкции экструдеров могут отличаться по следующим параметрам:
-
Функциональным;
-
Термодинамическим;
-
Механическим;
-
Геометрическим.
Рабочая часть машин данного типа включает в себя набор шнеков, между которыми последовательно располагаются подпорные шайбы. Шнеки и шайбы закреплены на шпильке посредством болта, имеющего конусную головку. На внутренней поверхности кожуха рабочей части сделаны продольные каналы для того, чтобы сырье не вращалось по мере перемещения. На выходе кожух оснащен конусной гайкой с отверстием. Манипуляция зазором между конусами болта и гайки на выходе, либо диаметром выходного отверстия, позволяет регулировать температуру перерабатываемого материала.
-
Основные этапы и их содержание для проектирования заводов.
Проектирование организации производства- это процесс разработки технической, организационной и планово-экономической документации, необходимой для создания и осуществления на практике производственной системы.
В составе проекта организации производства объединения, предприятия могут быть выделены следующие крупные разделы:
1-ый раздел. Общесистемные сводные данные; производственная структура объединения, предприятия; структура системы управления, состав и численность кадров, мероприятия по их подготовке и переподготовке, система оперативного планирования предприятия.
2-ой раздел. Организационные решения, относящиеся к формированию функциональных подсистем: организация подготовки производства, организация производственных процессов, организация производственной инфраструктуры, организация МТС, организация маркетинга и сбыта продукции.
3-ий раздел. Организационные решения, относящиеся к организации элементов, производственного процесса: организация труда участников процесса производства, организация функционирования орудий труда, организация движения предметов труда в производстве, интеграция элементов производства в единый процесс.
4-ый раздел. Решения по установлению экономических отношений в процессе производства: формирование подрядных коллективов, обоснование моделей внутреннего хозрасчета, построение систем оплаты труда стимулирование отдельных работников.
5-ый раздел. Организационные проекты подразделений, объединений и предприятий; филиалов производств, цехов, участков, бригад.
6-ой раздел. Непрерывное, комплексное совершенствование организации производства.
Проектирование организации производства осуществляется в две стадии: технический проект и рабочий проект. В том случае, когда для разработки проекта используются типовые проектные решения, проектирование может проходить в одну стадию – технорабочий проект.
Проектированию предшествует проектная подготовка. Завершает систему проектных работ этап внедрения.
На этапе проектной подготовки разрабатывается общая концепция организации производства, осуществляется комплексное обследование (изучение) объекта проектирования, разрабатывается ТЭО системы, формируется и утверждается техническое задание на проектирование. Работа на этом этапе технического проектирования ведется на основе утвержденного технического задания. На этом этапе разрабатываются основные положения системы организации производства, принципы ее функционирования, взаимосвязь с другими подсистемами, принимаются решения по информационному обеспечению и системе документооборота.
На этапе рабочего проектирования разрабатывается комплекс рабочих чертежей и документации: структурные схемы, организационно-плановые расчеты, формируется нормативная и информационная база, организационные процедуры и документах отражающие, должностные инструкции и положения.
На этапе внедрения организационного проекта обеспечивается обучение и технологическая подготовка персонала, вводятся в действие новые инструкции и положения, пересматриваются производственная и управленческая структуры.
-
Расчёт усилия запирания форм (узел смыкания). Влияние давления расплава на изменение распорных усилий.
Усилие запирания формы. Это основной критерий для выбора ТПА в настоящее время в России. Величина усилия смыкания обычно выносится производителем термопласт автоматов в маркировку каждого конкретного ТПА. Этим обстоятельством сильно злоупотребляют азиатские производители, завышая, как правило, номинальное значение усилия запирания своих машин. Усилие запирания – усилие, необходимое для запирания формы, определяется площадью литья и распределением давления в форме в процессе ее заполнения или выдержки полимера под давлением. Это усилие должно быть равным усилию, возникающему в форме при литье, или быть больше него. Несоблюдение этого условия приводит к тому, что форма раскрывается, образуется облой и масса, а также размеры изделий увеличиваются, что недопустимо в свете современных требований к качеству и экономичности процесса литья.
При увеличении площади литья возникает необходимость в повышении усилия, требуемого для запирания формы. Необходимое усилие запирания формы зависит от технологии литья, технологических свойств полимера и многих других факторов процесса литья. При работе на машинах с небольшим усилием запирания можно получать детали высокого качества только при наличии специальных режимов (со сбросом давления) и при высокой культуре производства, а также при применении специальных технологий литья под давлением, таких как литье со вспенивателями, литье с газом. Усилие запирания формы определяет конструкцию механизма смыкания термопластавтомата. Невозможность достичь сколько либо приемлимых показателей усилия запирания - одна из главных причин неудач любителей мастерить термопластавтомат своими руками.
Усилие смыкания формы не должно допускать раскрытия формы под действием сжатого воздуха в момент формования изделия.
Давление в форме оказывает наибольшее влияние на качество отливки.
-
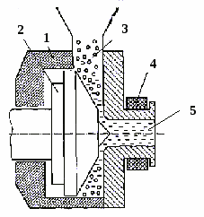
Дисковые и плунжерные экструдеры. Схема, работа. Преимущества и недостатки.
При использовании дисковых экструдеровполимер в виде гранул или порошка поступает в зазор между вращающимся и неподвижным дисками и плавится, благодаря выделению теплоты трения. Поскольку расплав полимера является вязкоупругой жидкостью, то при вращении диска в расплаве возникают нормальные напряжения и создается давление, под действием которого происходит выдавливание полимера через формующую головку (рис. 7
.2) [2].
Рис.7.2 Схема дискового экструдера:
1 – неподвижный диск; 2 – вращающийся диск; 3 – загрузочная воронка; 4 – электронагреватель; 5 – канал для выхода материала.
Достоинством дисковых экструдеров является высокий коэффициент полезного действия, а недостатки состоят в малом значении давления на расплав (до 1 МПа), в чувствительности к гранулометрической неоднородности перерабатываемого полимерного материала и наличию в его составе наполнителей.
Поршневые экструдерыиспользуются для переработки определенных марок фенопластов и фторопластов. При производстве трубок и капилляров из фторопласта применяют машину, схема которой представлена на рисунке 7.3. Ее основными элементами являются материальный цилиндр4 (в данном случае не обогреваемый), плунжер3, совершающий возвратно-поступательное движение, и дорн5с дорнодержателем6. Порошковый полимер1 из бункера2самотеком через загрузочное отверстие поступает в цилиндр. Поскольку рабочий зазор между дорном и цилиндром невелик, то при движении плунжера, во-первых, открывается загрузочное отверстие, создается значительное давление на полимер, под действием которого он уплотняется и перемещается по кольцевому зазору к выходу из цилиндра, а, во-вторых, перекрывается загрузочное отверстие. При возвратном движении плунжера загрузочное отверстие открывается, и новая порция порошкового полимера поступает в рабочий цилиндр. При необходимости (отверждение реактопластов, спекание изделий из фторопластов) экструдер комплектуется необходимым количеством нагревателей, а дорн существенно удлиняется.
-
Требования к конструкции изделия связанные с их механической обработкой.
Технологичность конструкции изделий оказывает большое влияние на снижение затрат труда, материалов и энергии, связанных с сто изготовлением, технологическим обслуживанием, ремонтом и утилизацией.
Малая протяженность обрабатываемых поверхностей, повышенная точность заготовок, что сокращает трудоемкость механической обработки .
-
Основные требования к изделиям связанные с оформлением резьб, отверстий и надписей
Накатку и рифление обычно наносят на наружные поверхности изделия в процессе формования. Их следует выполнять прямыми ребрами, параллельными направлению выталкивания изделия из формы. Наиболее технологичным рельефом является полукруглый профиль. Ребро рельефа должно входить в цилиндрический поясок, расположенный со стороны плоскости разъема формы. Высота пояска – не менее 1 мм. Диаметр пояска должен превышать диаметр описанной окружности рифов. Противоположный конец рельефа рекомендуется не доводить до торца на некоторое расстояние, большее радиуса закругления.
Надписи (буквы, цифры и т.п.) на пластмассовом изделии получают в процессе формования на поверхностях, параллельных плоскости разъема формы. В случае необходимости их выполняют на поверхностях, параллельных направлению выталкивания, и эти поверхности выполняют с уклоном.
Если форма изготавливается резанием, надписи следует делать выпуклыми, если же холодным выдавливанием – углубленными. Это обеспечивает прочность и четкость изображения.
При оформлении надписей следует придерживаться таких рекомендаций:
1.высоту букв над поверхностью изделия принимать в пределах 0,3 – 0,5 мм;
2.буквы высотой более 0,75 мм для предотвращения выкрашивания выполнять шире у основания, чем у вершины;
3.для защиты выпуклого шрифта при эксплуатации изделия и для удобства снятия облоя надписи помещают в незначительные углубления на поверхности изделия, чтобы надпись на выступала за пределы наружной поверхности;
4.при малой толщине изделия предусматривают специальный защитный ободок, высота которого рана или чуть больше, чем высота шрифта
5.для выпуклого шрифта форма сечений букв может быть угловой, прямоугольной, трапециевидной; а для углубленного – трапециевидной и прямоугольной.
-
Точность пластмассовых изделий
-
Основные требования к конструкции изделий связанные со свойствами формуемого материала
-
Основные требования к конструкции изделий связанные с разьемом формы и извлечением изделия
-
Взаимосвязь конструкции и эксплуатационных характеристик изделия
-
Пресс-формы. Классификация ,основные узлы, схема.
Прессование – это метод формования изделий из пластмасс и резиновых смесей при пластической деформации (течении) материала с одновременным воздействием на него тепла и давления с последующей фиксацией формы изделия.
Прессование осуществляется на прессах, назначение которых – создание необходимого усилия (давления) для растекания пластмассы в полости формы и удержание её от раскрытия выделяющимися газообразными продуктами химической реакции (для реактопластов).
прессы: классификация, основные характеристики.
По системе подвода энергии прессования к прессующему органу прессы делятся на механические, гидравлические, пневматические и комбинированные.
Гидравлические прессы подразделяются по различным признакам на: верхнего или нижнего давления (по расположению главного цилиндра); рамного или колонного типа; горизонтальные или вертикальные; одноили многопозиционные; одноили многоэтажные; высокого или низкого давления (от 10 до 20 МПа) и с номинальным усилием от 200 до 4000 кН. Основными параметрами прессов являются: номинальное усилие (кН или тонны), максимальный ход ползуна, наибольшее расстояние между столом и ползуном, размеры стола (длина, ширина), ход выталкивателя, скорость рабочего хода ползуна и выталкивателя и др.
4. Принцип действия и конструкция гидравлического пресса «Д- 2428».
















