лаб. №3 - форма 51 (1087400)
Текст из файла
Форма № 5.1.
МОСКОВСКИЙ ГОСУДАРСТВЕННЫЙ УНИВЕРСИТЕТ
ПРИБОРОСТРОЕНИЯ И ИНФОРМАТИКИ
Кафедра 22.04.01. «Информационное обеспечение робототехнических и мехатронных систем»
Экз.№__
УТВЕРЖДАЮ
Заведующий кафедрой___
_________ (_____________)
«___»_________200__г.
Только для студентов по
специальностям подготовки 22.04.01
МЕТОДИЧЕСКИЕ УКАЗАНИЯ
НА ЛАБОРАТОРНОЕ ЗАНЯТИЕ №3
по __3451 «Моделирование систем»_
(шифр и наименование учебной дисциплины)
ТЕМА МOДЕЛИРОВАНИЕ СЛОЖНЫХ СИСТЕМ С ИСПОЛЬЗОВАНИЕМ ПОДСИСТЕМ В СРЕДЕ SIMULINK
Обсуждены на заседании кафедры
(предметно-методической секции)
«__»___________200__г.
Протокол № __
МГУПИ – 2007 г.
1. Тема лабораторного занятия №3: МOДЕЛИРОВАНИЕ СЛОЖНЫХ СИСТЕМ С ИСПОЛЬЗОВАНИЕМ ПОДСИСТЕМ В СРЕДЕ SIMULINK
2. Время: 4 часа (180 мин.).
4. Место проведения: компьютерный класс
5. СОДЕРЖАНИЕ
5.1. Перечень отрабатываемых учебных вопросов и действий :
1-й учебный вопрос. Ознакомление с принципами описания и математического моделирования сложных систем
- 2-й учебный вопрос. Освоение методов разбиения сложной системы на подсистемы и моделирование в среде Simulink с использованием подсистем
-
- 3-й учебный вопрос. Освоение механизмов обмена данными между Matlab и Simulink
5.2. Методические рекомендации обучаемым по подготовке к практическому занятию:
Цель работы:
-
Ознакомление с принципами описания и математического моделирования сложных систем
-
Освоение методов разбиения сложной системы на подсистемы и моделирование в среде Simulink с использованием подсистем
-
Освоение механизмов обмена данными между Matlab и Simulink
КРАТКИЕ ТЕОРЕТИЧЕСКИЕ СВЕДЕНИЯ
Технологические процессы характеризуются значительной сложностью. Это проявляется в большом количестве информации, содержащейся в промышленных системах, и во взаимном влиянии их пара метров. Построение любой математической модели для таких процессов начинают с блочного формализованного описания объекта моделирования, т. е. составлению полного математического описания предшествует анализ отдельных «элементарных» процессов, протекающие в объекте моделирования. Причем математические модели промышленных процессов удобно составлять по фактически существующим отдельным установкам и аппаратам, что значительно облегчает проверку их реализации на ЭВМ. Полная модель процесса получается как комбинация вариантов моделей отдельных блоков.
Такой подход эффективен, но затруднен тем, что развитие промышленности протекает в условиях непрерывного усложнения технологической структуры предприятий, включая объединение отдельных производств в крупные комбинаты и многосвязные сети. Анализ этих производств, включающих огромные количества разнородны; элементов при неполной информации об их функционировании, и может быть выполнен классическими методами и требует использования теории и аппарата больших систем. Согласно этой теории решаемые задачи подразделяются на три класса:
-
хорошо структурированные или количественно сформулированные задачи, в которых существенные зависимости выяснены настолько точно, что могут быть выражены в числах или символах;
-
неструктурированные или качественно выраженные задачи, содержащие лишь описание важнейших ресурсов, признаков и характеристик, количественные зависимости между которыми не известны;
-
слабо структурированные или смешанные задачи, содержащие как качественные, так и количественные элементы.
Анализ больших систем предназначен для решения слабо структурированных задач, обладающих следующими особенностями: принимаемые решения относятся к будущему; имеется широкий диапазон альтернатив; решения зависят от технологических знаний, которых
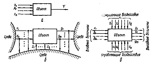
Рисунок 3.1 Схема модели объекта с n входами и т выходами:
а — модель как обобщенный преобразователь; б — связи объекта (модели) со средой; в — схема объекта с внешними воздействиями
в общем случае недостаточно; принимаемые решения требуют больших вложений и ресурсов и содержат элементы риска; не полностью определены требования, относящиеся к стоимости и времени решения задачи; для решения задачи необходимо комбинирование различных ресурсов.
Структура модели большой промышленной системы показана на рис. 3.1, а, где
— вектор выходов. Для определения структуры математической модели в таком виде (т. е. как преобразователь типа «черного ящика» со многими входами и выходами) необходимо выяснить, какие именно входы и выходы объекта будут включены в его модель. Реальные технологические системы функционируют в условиях большого количества случайных факторов, источниками которых являются воздействия внешней среды, а также ошибки, шумы и отклонения различных величин, возникающие внутри системы. Среди внешних факторов, наряду со случайными изменениями различных условий (например, погоды), важное место занимают случайные колебания нагрузки (потребления продукции). Объект связан со средой бесконечным числом связей (рис. 3.1, б), определяющих его состояние, В общем виде схема объекта изображена на рис. 3.1, в
Совокупность параметров среды, которые воздействуют на объект, разделяют на группы в зависимости от характера и доли их участия в процессе. В самом общем случае объект характеризуют следующие параметры: входные величины (входы) —
управляющие воздействия (управления) —
возмущающие воздействия (возмущения) —
выходные величины (выходы) —
Входными принято называть параметры, значения которых могут быть измерены, но возможность воздействия на них отсутствует. Предполагается также, что эти параметры не зависят от режима процесса. Входными параметрами являются, например, контролируемый состав исходного сырья, теплоносители, поступающие в аппарат, количество и качество которых могут быть определены, но не подлежат изменению (т. е. поступающие потоки из предшествующих стадий или исходных емкостей).
Управляющими называются параметры, на которые можно оказывать прямое воздействие в соответствии с выбором разработчика или предъявляемыми требованиями, что позволяет управлять процессом. Управляющими параметрами могут быть, например, регулируемые давление в аппарате, температура теплоносителя и т. п.
Возмущающими называют параметры, значения которых случайным образом изменяются с течением времени и которые не доступны для измерения. Ими могут быть, например, содержания различных примесей в исходном сырье, активность катализатора, температура процесса, изменяющаяся за счет реакций, а также другие возмущения.
Выходными называют параметры, значения которых определяются режимом процесса. Эти параметры характеризуют его состояние как результат суммарного воздействия входных, управляющих и возмущающих параметров. Поскольку назначение выходных параметров — описывать состояние процесса, их иногда называют параметрами состояния.
Почти каждая модель представляет собой некоторую комбинацию таких составляющих, как компоненты, параметры (переменные), функциональные зависимости, ограничения, целевые функции.
Например, в модели ракеты или космического корабля компонентами являются такие объекты, как система тяги, система наведения, система управления, несущая конструкция и т.п. Обобщенная модель города может состоять из таких компонентов, как система образования, система здравоохранения, транспортная система и т. п. В экономической модели производственной системы компонентами могут быть отдельные производственные объединения, отдельные потребители и т. п.
Описание каждого параметра (переменной) в модели должно производиться стандартным образом, например: определение и символ; текстовое описание; единицы измерения; диапазон изменения; характеристики (однозначный, многозначный, параметр числовой или с кодированным значением; регулируемая, нерегулируемая или случайная переменные и т. д.); место применения в модели
Функциональные зависимости описывают поведение параметров (переменных) в пределах компонентов системы или выражают соотношения между ними. Эти соотношения, или операционные характеристики, по своей природе являются либо детерминированными, либо стохастическими. Детерминированные соотношения — это тождества или уравнения, которые устанавливают зависимость между переменными или параметрами в тех случаях, когда процесс на выходе системы однозначно определяется заданной информацией на входе. В отличие от этого стохастические соотношения представляют собой такие зависимости, которые при заданной входной информации дают на выходе неопределенный результат.
Ограничения представляют собой устанавливаемые пределы изменения значений переменных или ограничивающие условия распределения и расходования тех или иных средств (энергии, запасов, времени и т. п.). Они могут вводиться либо разработчиком (искусственные ограничения), либо самой системой вследствие присущих ей свойств (естественные ограничения). Например, физической системе такого типа, как ракета, искусственным ограничением может быть заданный минимальный радиус действия или максимально допустимый вес. Большинство технических требований к системам представляет собой набор искусственных ограничений.
Целевая функция, или функция критерия,— это точное отображение целей или задач системы и необходимых правил оценки их выполнения.
5.2.2. Содержание работы
5.2.2.1. В качестве примера сложной модели динамического процесса рассмотрим систему движения математического маятника, точка подвеса которого поступательно перемещается со временем по гармоническому закону. В этом случае движение маятника описывается следующим дифференциальным уравнением:
где:
J – момент инерции маятника;
R – коэффициент демпфирования;
mgl – коэффициент жесткости;
nmy – амплитуда виброперегрузки точки подвеса маятника в вертикальном направлении;
nmх – амплитуда виброперегрузки точки подвеса маятника в вертикальном направлении;
φ – угол отклонения маятника от вертикали;
ω – частота колебаний точки подвеса;
εх, εу – начальные фазы колебаний точки подвеса в горизонтальном и вертикальном направлениях.
Процедуру определения положения маятника можно упростить, преобразовав уравнение к следующему виду:
где производные взяты по безразмерному времени
связь реального и безразмерного времен определяется выражением:
а S(t,φ,φ') – некоторую заданную функцию безразмерного времени, угла поворота маятника и его безразмерной скорости, определяемой выражением:
Характеристики
Тип файла документ
Документы такого типа открываются такими программами, как Microsoft Office Word на компьютерах Windows, Apple Pages на компьютерах Mac, Open Office - бесплатная альтернатива на различных платформах, в том числе Linux. Наиболее простым и современным решением будут Google документы, так как открываются онлайн без скачивания прямо в браузере на любой платформе. Существуют российские качественные аналоги, например от Яндекса.
Будьте внимательны на мобильных устройствах, так как там используются упрощённый функционал даже в официальном приложении от Microsoft, поэтому для просмотра скачивайте PDF-версию. А если нужно редактировать файл, то используйте оригинальный файл.
Файлы такого типа обычно разбиты на страницы, а текст может быть форматированным (жирный, курсив, выбор шрифта, таблицы и т.п.), а также в него можно добавлять изображения. Формат идеально подходит для рефератов, докладов и РПЗ курсовых проектов, которые необходимо распечатать. Кстати перед печатью также сохраняйте файл в PDF, так как принтер может начудить со шрифтами.
















