Основ.изобр.нов (1087019), страница 7
Текст из файла (страница 7)
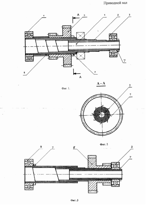
Технический результат данного изобретения состоит в расширении технических возможностей, а именно: в увеличении длины вала по сравнению с шириной ленты; регулировании длины вала по размерам корпусной детали, в которую он устанавливается; посадке подшипников, приводных элементов и других деталей на различные диаметры витков (рис.11).
На фиг.1 изображен вал в сборе с посадочными деталями, продольный разрез; на фиг.2 – разрез А-А на фиг.1; на фиг.3 – вариант установки приводного элемента.
Устройство состоит из вала 1, выполненного полым в виде свернутой в многовитковую спираль до плотного соприкосновения витков ленты 2; подшипниковых опор 3 и 4, приводного элемента, например, зубчатого блока 5, а также промежуточной распорной втулки 6. Спираль выдвинута в осевом направлении, и подшипник 3 установлен на одном из промежуточных витков. Возможны варианты (см. штрих-пунктир на фиг.1).
Для осевой фиксации зубчатого блока 5, подшипников 3 и 4 (фиг.3) служат отогнутые лепестки 7 просечек на посадочных витках ленты (фиг.2). Возможны другие варианты осевой фиксации деталей. Приводной элемент – зубчатый блок 5 может располагаться на промежуточном витке спирали (см. фиг.3).
Такое исполнение вала увеличивает его длину по сравнению с шириной ленты, позволяет изменять положение посадочных деталей, регулировать длину вала, а также применять подшипниковые опоры и приводные элементы различных посадочных диаметров. Вал становится широкоуниверсальным.
Формула изобретения.
1. Приводной вал, выполненный полым в виде свернутой в многовитковую спираль до плотного соприкосновения витков ленты и содержащий установленные на нем подшипниковые опоры и приводные элементы, о т л и ч а ю щ и й с я тем, что спираль выдвинута в осевом направлении, и, по крайней мере, одна из опор установлена на одном из промежуточных витков.
2. Вал по п. 1, о т л и ч а ю щ и й с я тем, что приводной элемент установлен на одном из промежуточных витков.
Источники информации, принятые во внимание:
1. Авторское свидетельство СССР № 1326796, МКИ F16С 1/00, 3/02
Приводной вал. БИ № 28, 1987. – Прототип.
2. Авторское свидетельство СССР № 1673763, МКИ F16С 1/00, 3/02
Приводной вал. БИ № 32, 1991.
Автор(ы) Подпись / Ф.И.О. /
8.3. Заявка на выдачу патента.
Заявка на выдачу патента на изобретение, полезную модель или промышленный образец подается в федеральный орган исполнительной власти по интеллектуальной собственности лицом, обладающим правом на получение патента в соответствии с Законом (далее – заявитель).
Ведение дел с ФИПС может осуществляться заявителем, иным заинтересованным лицом самостоятельно либо через патентного поверенного, зарегистрированного в ФИПС или иного представителя. Заявка на выдачу патента на изобретение, полезную модель, промышленный образец (далее – заявка на изобретение) должна относиться к одному изобретению или группе изобретений, связанных между собой настолько, что они образуют единый изобретательский замысел (требование единства изобретения).
Документы заявки должны быть оформлены по требованиям, установленным ФИПС.
Заявка на изобретение, полезную модель, промышленный образец должна содержать:
1. Заявление о выдаче патента с указанием автора (авторов) изобретения и лица (лиц), на имя которого (которых) испрашивается патент, а также их местожительства или местонахождения.
Заявление о выдаче патента на изобретение, полезную модель или промышленный образец печатается на бланке и представляется на русском или другом языке. В случае, если документы заявки представлены на другом языке, к заявке прилагается их перевод на русский язык.
Заявление о выдаче патента подписывается заявителем, а в случае подачи заявки через патентного поверенного или иного представителя – заявителем или патентным поверенным либо иным представителем.
2. Описание изобретения, раскрывающее его с полнотой, достаточной для осуществления.
3. Формулу изобретения, выражающую его сущность и полностью основанную на описании.
4. Чертежи и иные материалы, если они необходимы для понимания сущности изобретения.
5. Реферат.
Заявка на промышленный образец должна содержать:
комплект изображений изделия, дающих полное детальное представление о внешнем виде изделия;
чертеж общего вида изделия, эргономическую схему, конфекционную карту, если они необходимы для раскрытия сущности промышленного образца;
описание промышленного образца;
перечень существенных признаков промышленного образца.
6. К заявке на изобретение, полезную модель, промышленный образец прилагается документ (его копия), подтверждающий уплату патентной пошлины в установленном размере, или документ, подтверждающий основание для освобождения от уплаты патентной пошлины, либо уменьшения ее размера, либо отсрочки ее уплаты.
Датой подачи заявки считается дата поступления в ФИПС заявки, содержащей заявление о выдаче патента, описание и чертежи, если в описании на них имеется ссылка, или дата поступления последнего документа, если указанные документы представлены не одновременно.
Заявитель имеет право вносить в документы заявки исправления и уточнения без изменения сущности изобретения до принятия по этой заявке решения о выдаче патента либо решения об отказе в выдаче патента (см. ст. 19, 20 Закона [1]).
Изменения, внесенные заявителем в документы заявки, учитываются при публикации сведений о заявке на изобретение, если такие изменения представлены в ФИПС в течение двенадцати месяцев с даты подачи заявки.
Прием заявок производится по адресу: 123995 г. Москва, Бережковская наб., д.30, к.1, НИИГПЭ, в трех экземплярах, т.240-60-15.
8.4. Последовательность экспертизы заявок
1.По заявке на изобретение, поступившей в ФИПС, проводится формальная экспертиза, в процессе которой проверяются наличие документов, предусмотренных пунктом 2 статьи 16 закона, и соблюдение установленных требований к ним.
2. В случае, если заявителем представлены дополнительные материалы к заявке на изобретение, в соответствии со статьей 20 Закона проверяется, не изменяют ли они сущность заявленного изобретения.
Дополнительные материалы в части, изменяющей сущность заявленного изобретения, при рассмотрении заявки на изобретение во внимание не принимаются и могут быть оформлены заявителем в качестве самостоятельной заявки, о чем заявитель уведомляется.
3. О положительном результате формальной экспертизы и дате подачи заявки на изобретение заявитель уведомляется незамедлительно после завершения формальной экспертизы (Присылается ему приоритетная справка).
4. По заявке на изобретение, оформленной с нарушением требований к ее документам, заявителю направляется запрос с предложением в течение двух месяцев с даты его получения представить исправленные или недостающие документы. В случае, если заявитель в установленный срок не представит запрашиваемые документы или ходатайство о продлении установленного срока, заявка признается отозванной. Установленный срок может быть продлен ФИПС не более чем на десять месяцев с даты его истечения.
5. По заявке на изобретение, поданной с нарушением требования единства изобретения, заявителю предлагается в течение двух месяцев с даты получения им соответствующего уведомления сообщить, какое из заявленных изобретений должно рассматриваться, и при необходимости внести изменения в документы заявки. Другие заявленные в этой заявке изобретения могут быть оформлены выделенными заявками. В случае, если заявитель в установленный срок не сообщит, какое из заявленных изобретений необходимо рассматривать, и не представит соответствующие документы, если они необходимы, рассматривается изобретение, указанное в формуле первым.
6. ФИПС по истечении восемнадцати месяцев с даты подачи заявки на изобретение, прошедшей формальную экспертизу с положительным результатом, публикует в своем официальном бюллетене сведения о заявке на изобретение, за исключением случаев, если до истечения двенадцати месяцев с даты подачи такой заявки она была отозвана или признана отозванной либо на ее основании состоялась регистрация изобретения в соответствии со статьей 26 Закона. Состав публикуемых сведений определяется ФИПС.
Любое лицо после публикации сведений о заявке на изобретение вправе ознакомиться с ее документами, если заявка не отозвана и не признана отозванной на дату публикации сведений о ней. В случае публикации сведений о заявке на изобретение, которая на дату публикации была отозвана или признана отозванной, такие сведения не включаются в уровень техники в отношении последующих заявок того же заявителя, поданных в ФИПС до истечения двенадцати месяцев с даты публикации сведений о заявке на изобретение. Порядок ознакомления с документами заявки устанавливается ФИПС.
По ходатайству заявителя, поданному до истечения двенадцати месяцев с даты подачи заявки, ФИПС может публиковать сведения о заявке на изобретение до истечения восемнадцати месяцев с даты ее подачи.
Автор изобретения имеет право отказаться быть упомянутым в качестве такового в публикуемых сведениях о заявке на изобретение.
7. По ходатайству заявителя или третьих лиц, которое может быть подано в ФИПС в течение трех лет с даты подачи заявки на изобретение, и при условии завершения формальной экспертизы, с положительным результатом проводится экспертиза заявки на изобретение по существу. О поступивших ходатайствах третьих лиц заявитель уведомляется ФИПС.
Срок подачи ходатайства о проведении экспертизы заявки на изобретение по существу может быть продлен ФИПС не более чем на два месяца по ходатайству заявителя, поданному до истечения трех лет с даты подачи заявки на изобретение, при условии представления вместе с таким ходатайством документа, подтверждающего уплату патентной пошлины в установленном размере.
В случае, если ходатайство о проведении экспертизы заявки на изобретение по существу не будет подано в установленный срок, заявка признается отозванной.
Экспертиза заявки на изобретение по существу включает в себя информационный поиск в отношении заявленного изобретения для определения уровня техники и проверку соответствия заявленного изобретения условиям патентоспособности, установленным статьей 4 Закона.
По истечении шести месяцев с даты начала экспертизы заявки на изобретение по существу заявителю направляется отчет об информационном поиске, если по такой заявке не испрашивается приоритет более ранний, чем дата подачи заявки, и ходатайство о проведении экспертизы заявки на изобретение по существу подано при подаче заявки.
Срок направления заявителю отчета об информационном поиске может быть продлен ФИПС, если выявлена необходимость запроса в других организациях источника информации, отсутствующего в фондах ФИПС или заявленное изобретение охарактеризовано таким образом, что это делает невозможным проведение информационного поиска в установленном порядке, о чем заявитель уведомляется.
Информационный поиск в отношении заявленного изобретения, относящегося к объектам, которые указаны в пунктах 2 и 3 статьи 4 Закона, не проводится, о чем заявитель уведомляется до истечения шести месяцев с даты начала экспертизы заявки на изобретение по существу.
Порядок проведения информационного поиска и предоставления отчета о нем устанавливается ФИПС.
8. В процессе экспертизы заявки на изобретение по существу у заявителя могут быть запрошены дополнительные материалы (в том числе измененная формула изобретения), без которых проведение экспертизы невозможно. Дополнительные материалы по запросу экспертизы должны быть представлены без изменения сущности изобретения в течение двух месяцев с даты получения заявителем запроса или копий материалов, противопоставленных заявке, при условии, что указанные копии были запрошены заявителем в течение месяца с даты получения им запроса экспертизы. В случае, если заявитель в установленный срок не представит запрашиваемые материалы, или ходатайство о продлении установленного срока, заявка признается отозванной. Установленный срок для представления заявителем запрашиваемых материалов может быть продлен ФИПС не более чем на десять месяцев с даты его истечения, а при условии подтверждения уважительных причин невозможности соблюдения установленного срока он может быть продлен ФИПС более чем на десять месяцев с даты его истечения.
В случае, если в процессе экспертизы заявки на изобретение по существу установлено, что заявленное изобретение, выраженное формулой, предложенной заявителем, соответствует условиям патентоспособности, принимается решение о выдаче патента на изобретение с этой формулой, в котором указывается дата приоритета изобретения.
















