Основ.изобр.нов (1087019), страница 4
Текст из файла (страница 4)
Промышленному образцу предоставляется правовая охрана, если он является новым и оригинальным.
Промышленный образец признается новым, если совокупность его существенных признаков, нашедших отражение на изображениях изделия и приведенных в перечне существенных признаков промышленного образца, не известна из сведений, ставших общедоступными в мире до даты приоритета промышленного образца.
При установлении новизны ПО учитываются заявки на промышленные образцы более раннего приоритета, с документами которых вправе ознакомиться любое лицо в соответствии с частью второй статьи 25 настоящего Закона, и запатентованные промышленные образцы.
Промышленный образец признается оригинальным, если его существенные признаки обуславливают творческий характер особенностей изделия.
К существенным признакам промышленного образца относятся признаки, определяющие эстетические и (или) эргономические особенности внешнего вида изделия, в частности форма, конфигурация, орнамент и сочетание цветов.
Не признается обстоятельством, препятствующим признанию патентоспособности промышленного образца, такое раскрытие информации, относящейся к промышленному образцу, автором, заявителем или любым лицом, получившим от них прямо или косвенно эту информацию, при котором сведения о сущности промышленного образца стали общедоступными, если заявка на промышленный образец подана в ФИПС не позднее шести месяцев с даты раскрытия информации. При этом обязанность доказывания данного факта лежит на заявителе.
2. Не признаются патентоспособными промышленными образцами решения, обусловленные исключительно технической функцией изделия;
объекты архитектуры (кроме малых архитектурных форм), промышленных, гидротехнических и других стационарных сооружений;
объекты неустойчивой формы из жидких, газообразных, сыпучих или им подобных веществ;
изделия, противоречащие общественным интересам, принципам гуманности и морали.
Заявка на промышленный образец содержит:
1. заявление в 3-х экземплярах;
2. комплект фотографий, отображающий изделие, макет или рисунок общего вида в 6-ти экземплярах;
3. чертеж общего вида изделия, эргономическую схему в 3-х экземплярах;
4.описание промышленного образца, включающее перечень его существенных признаков в 3-х экземплярах.
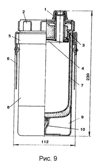
Пример описания и существенных признаков промышленного образца термоса (рис. 8).
В основу разработки положена идея цельности силуэта и выявления таких его качеств, как прочность, надежность, долговечность и удобство в эксплуатации.
Термос состоит из пробки 1, крышки 2, уплотнения 3, горловины 4, быстросъемного пружинящего кольца 5, ремня 6, внутренней колбы 7, корпуса 8, основания 9, опоры внутренней колбы 10 (рис.9).
Композиционно термос состоит из корпуса цилиндрической формы с горизонтальным членением, крышки и основания в виде небольшого по высоте цилиндра, а также пробки, представляющей собой усеченный конус, быстросъемного пружинящего кольца и ремня. Наличие крышки и пробки информирует о том, что термос может быть использован как широко -, так и узкогорлым.
Отсутствие ярко выраженной горловины, соответствующей диаметру колбы, дает серьезные преимущества при мойке термоса. Плотное закрывание термоса обеспечивает хорошую герметичность: первоначальная температура сохраняется длительное время.
Перечень существенных признаков промышленного образца
Термос, характеризующийся:
-
расчлененным на три части по горизонтали корпусом;
-
съемной цилиндрической крышкой;
-
наличием ручки на поверхности корпуса;
-
наличием радиусного перехода корпуса в дно;
отличающийся:
-
наличием съемного кольца в верхней части корпуса;
-
выполнением рифлений на крышке корпуса;
-
расположением на крышке корпуса эксцентричной по отношению к ней малой сливной горловины;
-
выполнением пробки горловины в виде усеченного конуса с рифлениями;
-
выполнением ручки термоса в виде ремня;
-
закреплением ручки термоса на верхнем съемном кольце корпуса.
3.3. Товарные знаки (ТЗ)
Товарные знаки представляют собой знак фирмы, знак товара. Это средство
для различия однородных товаров или услуг разных фирм (организаций) их выпускающих. Является также средством рекламы [2,4]. На них выдаются свидетельства на право исключительного пользования.
Пример товарного знака (свидетельство №38606), зарегистрированного на имя Ногинского завода эмалированной посуды, (г. Ногинск Московской области) приведен на рис. 10.
В течение 10 лет с даты подачи заявки владелец товарного знака обладает исключительным (исклюзивным) правом пользоваться и распоряжаться товарным знаком , а также запрещать его использование другим лицам. Никто не может использовать охраняемый в России ТЗ без разрешения его владельца.
Нарушением прав последнего признается несанкционированное изготовление, применение, ввоз, предложение к продаже, продажа, иное введение в хозяйственный оборот или хранение с этой целью ТЗ или обозначенного им товара (такой товар называют контрофактным), или обозначение, сходного с этим ТЗ до степени смещения в отношении однородных товаров.
Владелец ТЗ может продлить срок действия ТЗ еще на 10 лет. Для этого в течение последнего года действия регистрации ТЗ его владелец подает заявление на продление срока действия, уплатив соответствующую пошлину.
Можно продлить на 6 месяцев, при этом пошлина будет гораздо меньше.
Знак R на товаре указывает на зарегистрированный ТЗ, охраняемый РФ.
Владелец ТЗ может по договору уступить его физическому или юридическому лицу в отношении всех или части товаров, для которых он зарегистрирован, может предоставить лицензию на использование ТЗ. При этом договор должен содержать условие, что качество товаров лицензиата будет не ниже, чем у лицензиара, и что лицензиар будет его контролировать.
3.4. Рационализаторские предложения.
Рационализаторскими предложениями считались предложения по усовершенствованию применяемой техники, выпускаемой продукции, технологии производства, способов контроля, наблюдения и исследования, техники безопасности и охраны труда или предложения, позволяющие повысить производительность труда, эффективнее использовать энергию, оборудование, материалы.
Удостоверения на рацпредложения выдаются предприятиями или организациями, которые первыми приняли эти предложения к внедрению.
4. Свойства разрабатываемой новой продукции
Новая продукция должна обладать патентной чистотой; патентоспособностью.
4.1. Патентная чистота.
Патентная чистота – необходимое условие выдачи патента на изобретение. Обозначает возможность использования объекта техники (машины, прибора) в данном государстве без нарушения прав по действующим патентам.
Обладающими патентной чистотой в отношении какой-либо страны называются такие объекты, на которые не распространяется действие патентов на изобретения и на промышленные образцы, выданных патентным ведомством этой страны.
Обеспечение патентной чистоты – необходимый этап технической подготовки производства. При новых проектно-конструкторских разработках и при совершенствовании выпускаемой продукции проверку
на патентную чистоту должны проводить предприятия, разрабатывающие и совершенствующие продукцию.
Поскольку внесение изменений или дополнений в рабочие чертежи может коренным образом повлиять на патентную чистоту всего изделия, проверке подлежит не только начальная конструкция, но и все последующие ее модификации.
В результате проверки патентной чистоты составляется официальный документ – патентный формуляр (патентный паспорт). Он является свидетельством, позволяющим решить вопрос о возможности (по патентным соображениям) поставки данного изделия за границу или о передаче документации на это изделие.
В патентный формуляр вносятся сведения обо всех основных элементах рассматриваемой конструкции, указываются иностранные прототипы (аналоги) конструкции, учтенные при разработке, авторские
свидетельства, патенты, в том числе иностранные, заявки на изобретения, использованные в процессе проектирования или оформленные в процессе разработки.
Формуляр должен содержать также сведения о наличии и сроке действия иностранных патентов, лишающих данный элемент или конструкцию в целом патентной чистоты.
4.2. Патентоспособность
Патентоспособность оценивается изобретениями, полезными моделями, промышленными образцами, которые созданы и (или) использованы при создании объектов техники.
Разрабатываемая продукция по своим качественным показателям должна быть лучше выпускаемой продукции. Этого можно достичь только придумав новые и полезные решения для повышения качества разрабатываемой продукции. На это вновь придуманное новое необходимо подавать заявки в ФИПС на патенты.
Полученные и использованные при создании новой продукции патенты являются также рекламой качества этой продукции.
4.3. Ноу-хау (know how)
За рубежом широко практикуется продажа одного из видов интеллектуальной собственности – know how, в переводе с английского «знать, как…». Знать, как изготовить, собрать, отрегулировать, настроить изделие, обслуживать его в процессе эксплуатации. Часто это технологический процесс изготовления продукции, а также технологические секреты разработчика.
Ноу-хау могут быть научно-технического характера, управленческого характера, коммерческого характера, финансового характера и т. д.
Ноу-хау является товаром купли – продажи и передачи одной фирмой другой. Продажа осуществляется в виде лицензионного договора, как правило, на основе конфиденциальности (секретности).
4. 4. Секретные изобретения.
Каждое государство (через исполнительный орган – правительство) охраняет свои национальные интересы. Специальный раздел VI Закона [1] определяет порядок защиты секретных материалов.
К секретным изобретениям относятся подаваемые заявки на выдачу патента, для которых установлена степень секретности “особой важности” или “совершенно секретно”, а также на секретные изобретения, которые относятся к средствам вооружения и военной техники и к методам и средствам в области разведывательной, контрразведывательной и оперативно-розыскной деятельности и для которых установлена степень секретности “секретно”, заявки в зависимости от их тематической принадлежности подаются в уполномоченные Правительством РФ федеральные органы исполнительной власти (уполномоченные органы). Иные заявки на выдачу патента на секретные изобретения подаются в ФИПС.
В случае, если при рассмотрении в ФИПС заявки на изобретение будет
установлено, что содержащиеся в ней сведения составляют государственную тайну, заявка на изобретение засекречивается в порядке, установленном законодательством о государственной тайне, и считается заявкой на выдачу патента на секретное изобретение.
Засекречивание заявки, поданной иностранными гражданами или иностранными юридическими лицами, не допускается.
При рассмотрении заявки на выдачу патента на секретное изобретение применяются положения статьи 21 Закона. При этом публикация сведений о такой заявке, предусмотренная пунктом 6 статьи 21 Закона, не осуществляется.
Возражение против решения, принятого по заявке на секретное изобретение уполномоченным органом, рассматривается в порядке, установленном этим органом. Решение, принятое по такому возражению, может быть обжаловано в суд.
5. Авторы и патентообладатели, права и обязанности
Автором изобретения, полезной модели, промышленного образца признается физическое лицо, творческим трудом которого они созданы.
Если в создании изобретения, полезной модели или промышленного образца участвовало несколько физических лиц, все они считаются его авторами. Порядок пользования правами, принадлежащими авторам, определяется соглашением между ними.
Не признаются авторами физические лица, не внесшие личного творческого вклада в создание изобретения, полезной модели или промышленного образца, оказавшие автору (авторам) только техническую, организационную или материальную помощь либо только способствовавшие оформлению прав на него и его использованию.
Право авторства является неотчуждаемым личным правом и охраняется бессрочно.
5.1. Патентообладатель
Патент выдается автору изобретения, полезной модели или промышленного образца; работодателю (см. ниже), правопреемникам указанных лиц.
Право на получение патента на изобретение, полезную модель или промышленный образец, созданные работником (автором) в связи с выполнением своих трудовых обязанностей или конкретного задания работодателя (служебное изобретение, служебная полезная модель, служебный промышленный образец), принадлежит работодателю, если договором между ним и работником (автором) не предусмотрено иное.
В случае если работодатель в течение четырех месяцев с даты уведомления его работником (автором) о полученном им результате, способном к правовой охране в качестве изобретения, полезной модели или промышленного образца, не подаст заявку на выдачу патента на эти изобретение, полезную модель или промышленный образец в федеральный орган исполнительной власти по интеллектуальной собственности, не передаст право на получение патента на служебное изобретение, служебную полезную модель или служебный промышленный образец другому лицу и не сообщит работнику (автору) о сохранении информации о соответствующем результате в тайне, право на получение патента на такие изобретение, полезную модель или промышленный образец принадлежит работнику (автору). В этом случае работодатель в течение срока действия патента имеет право на использование служебного изобретения, служебной полезной модели, служебного промышленного образца в собственном производстве с выплатой патентообладателю
















