Основ.изобр.нов (1087019), страница 3
Текст из файла (страница 3)
К изобретению относится любое техническое решение в хозяйственной деятельности человека, обладающее новизной, не известной из уровня техники.
В России на настоящее время насчитывается около 2,5 миллионов изобретений, в США – более 6 миллионов. Мировой патентный фонд насчитывает более 12 миллионов изобретений.
Все изобретения в зависимости от области их применения подразделяются на классы. Классы делятся на подклассы, подклассы в свою очередь делятся на группы и подгруппы.
В разных странах применялись различные системы классификации изобретений (национальные).
Большинство европейских стран: ФРГ, Россия, Дания, Норвегия, Швеция, Финляндия и многие другие страны применяли германскую систему классификации, состоящую из 89 классов и около 20 тысяч групп и подгрупп. США и Англия используют свои национальные системы классификации.
В 1954 г. предложена Международная патентная классификация (МПК). Международная патентная классификация - это специальная унифицированная система, используемая для индексирования, систематизации и поиска информации об изобретениях.
Для правильного нахождения патентных документов по заданной теме специалист должен определить в системе классификации интересующие его рубрики.
МПК - система классификации иерархического типа, содержащая 8 разделов. Каждый из разделов охватывает несколько отраслей техники и обозначается заглавной латинской буквой;
А - Удовлетворение жизненных потребностей человека
В - Различные технологические процессы
С - Химия и металлургия
D - Текстиль и бумага
Е - Строительство; горное дело
F - Механика; освещение; отопление; двигатели и насосы;
оружие и боеприпасы, взрывные работы
G – Физика
Н - Электричество
Разделы делятся на классы, в символику которых входят индекс раздела и сочетание двух цифр (например, Н04 - Техника электрической связи). Классы МПК подразделяются на подклассы, обозначаемые латинской буквой раздела, двузначным числом класса и латинской буквой (например, Н 04 В -, Передача сигналов).
Подклассы МПК делятся на более дробные классификационные единицы – группы и подгруппы. В символику группы кроме индекса раздела, класса и подкласса входит цифровое выражение из одной, двух пли трех цифр (например; Н 04 В 3/00 -Системы проводной связи). Основные группы делятся на подгруппы. Подчиненность рубрик внутри основной группы выражена в классификаторе сдвигом текста рубрики вправо, а степень подчиненности определяется количеством точек перед текстом рубрики.
С 1971 г. наша страна перешла на международную классификацию, т.е. все описания изобретений раскладываются в патентном фонде по системе МПК.
Другие страны также начинают переходить на МПК. На описаниях изобретений рядом с классом по национальной классификации указывается класс по МПК.
В СССР на описаниях изобретений ранее ставилась нумерация по универсальной десятичной классификации (УДК), в основе которой лежит принцип децимализма: вся совокупность человеческих знаний объединяется в 10 основных разделов, каждый их которых разделяется на 10 подразделов, а те, в свою очередь, – на 10 более мелких групп. После основного трехзначного индекса следуют цифры согласно таблице определителей. Определители отделяются от основного числа синтаксическими знаками. Применение специальных определителей дает возможность индексировать довольно узкие специальные вопросы. Примеры различных классификационных систем приведены в табл. 1.
Таблица 1.
________________________________________________________________
Рубрики Германия США Англия МПК УДК
классификации
Детали машин: 47 64192; 64309; В3В F16 621
64277; 74308 F2
уплотнения 47ƒ 308-181.1 F2А F16j 621.
-
F2В 822.б
уплотнения 47ƒ26 F16j15
лабиринтные F16c33/80
подшипников
Обработка 49 29, 77, 82, В3К-фрезер. 621.
металлов 83, 90 В3С-сверл. В23 951
резанием В3L-строган.
В3N-нарез.
резьбы
В3Т-обточка
Шлифование и 67 51 60D до 1960г.
полирование В3D В24
Описания изобретений всех стран хранятся в г. Москве в Государственной патентно-технической библиотеке по адресу: 123995,
г. Москва, Бережковская набережная, д. 30, корп. 1.
3.2.1. Условия патентоспособности изобретения.
1. В качестве изобретения [1] охраняется техническое решение в любой области, относящееся к продукту (устройству, веществу, штамму микроорганизма, культуре клеток растений или животных) или способу (процессу осуществления действий над материальным объектом с помощью материальных средств). Изобретению предоставляется правовая охрана, если оно является новым, имеет изобретательский уровень и промышленно применимо.
Изобретение является новым, если оно не известно из уровня техники.
Изобретение имеет изобретательский уровень, если оно для специалиста явным образом не следует из уровня техники.
Уровень техники включает любые сведения, ставшие общедоступными в мире до даты приоритета изобретения, а также заявки на изобретения и полезные модели при условии их более раннего приоритета и запатентованные изобретения, и полезные модели.
Изобретение является промышленно применимым, если оно может быть использовано в промышленности, сельском хозяйстве, здравоохранении и других отраслях деятельности.
Не препятствует признанию патентоспособности изобретения, информации о нем, если заявка на изобретение подана в Федеральный институт промышленной собственности ФИПС не позднее шести месяцев с даты раскрытия информации. При этом обязанность доказывания данного факта лежит на заявителе.
2. По закону [1] не считаются изобретениями открытия, а также научные теории и математические методы; решения, касающиеся только внешнего вида изделий и направленные на удовлетворение эстетических потребностей; правила и методы игр; интеллектуальной или хозяйственной деятельности; программы для электронных вычислительных машин, решения, заключающиеся только в представлении информации.
3. Не признаются патентоспособными сорта растений, породы животных; топологии интегральных микросхем; решения, противоречащие общественным интересам, принципам гуманности и морали.
Примеры
Устройство как изобретение
Устройство характеризуется конструктивными признаками. Изобретение должно обладать существенной новизной, то есть наличием конструктивных элементов, неизвестных ранее в мире.
Пример. Авторское свидетельство СССР № 941665, 1982 г. Гидродвигатель (рис. 3).
Формула изобретения.
1.Гидродвигатель, содержащий направляющий канал и закрепленный на валу рабочий орган, отличающийся тем, что, с целью упрощения конструкции, гидродвигатель снабжен соединенным с валом пусковым реверсивным двигателем, канал выполнен в виде осесимметричного конфузора, а рабочий орган – в виде шара и расположен на входе в конфузор.
2.Гидродвигатель по п. 1, отличающийся тем, что, с целью обеспечения регулирования мощности, шар установлен с возможностью перемещения вдоль оси конфузора.
3.Гидродвигатель по п.1, отличающийся тем, что, с целью упрощения эксплуатации, вал установлен с возможностью углового перемещения относительно центра шара.
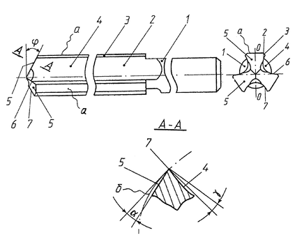
Патент РФ № 2214318,2003 г. Реверсивное сверло (рис.4).
Рис. 4.
Формула изобретения.
1. Реверсивное сверло, содержащее симметричные перья с направляющими ленточками, стружкоотводные канавки и режущие лезвия, задние поверхности которых наклонены к вершине сверла под углом в плане и образуют с обеих сторон на пересечении со стружкоотводными канавками режущие кромки, отличающиеся тем, что задние поверхности режущих лезвий выполнены плоскими, расположенными перпендикулярно к плоскости симметрии одноименных перьев.
2. Сверло по п. 1, отличающееся тем, что наружные поверхности перьев между направляющими ленточками выполнены плоскими, расположенными перпендикулярно к плоскости симметрии одноименных перьев.
Способ как изобретение, объект промышленной собственности.
Согласно Патентному закону РФ у способа как изобретения следующие признаки:
1. Наличие действия или совокупности действий;
2. порядок выполнения таких действий во времени (последовательно, одновременно, в различных сочетаниях);
3. условия осуществления действий; режим; использования веществ, устройств, приспособлений инструментов, оборудования и прочее.
Основное правило при патентовании способа: минимум статики, максимум динамики.
Пример. Авторское свидетельство СССР № 626937, 1978 г. Способ вибрационного резания (рис.5).
Рис.5. 11- 13, 21- 23 – левосторонние и правосторонние режущие кромки
сверла соответственно; 3 – разделительная канавка;
n1 и n2 – частоты левого и правого вращения сверла; S – подача; Q – угол между соседними одноименными режущими кромками сверла.
Формула изобретения.
Способ вибрационного сверления путем сообщения сверлу крутильных колебаний, отличающийся тем, что, с целью повышения производительности и уменьшения реакции сил трения на корпус сверлильного устройства, обработку осуществляют многокромочными сверлами двухстороннего резания, направление колебаний которых устанавливают противоположным направлению основного вращения, причем скорость колебаний выбирают равной скорости основного
вращения, а угловую амплитуду – превышающей угол между соседними одноименными кромками сверла.
3.2.2. Условия патентоспособности полезной модел ( ПМ )
1. В качестве полезной модели охраняется техническое решение, относящееся к устройству.
Полезная модель признается соответствующей условиям патентоспособности, если она является новой и промышленно применимой.
Полезная модель является новой, если совокупность ее существенных признаков не известна из уровня техники.
Уровень техники включает ставшие общедоступными до даты приоритета (ПМ), опубликованные в мире сведения о средствах того же назначения, что и заявленная (ПМ), а также сведения об их применении в Российской Федерации. В уровень техники также включаются все поданные в Российской Федерации другими лицами заявки на изобретения и (ПМ), с документами которых вправе ознакомиться любое лицо в соответствии с пунктом 6 статьи 21 или частью второй статьи 25 настоящего Закона, и запатентованные в Российской Федерации изобретения и (ПМ).
(ПМ) является промышленно применимой, если она может быть использована в промышленности, сельском хозяйстве, здравоохранении и других отраслях деятельности.
2. Правовая охрана в качестве (ПМ) не предоставляется:
решениям, касающимся только внешнего вида изделий и направленным на удовлетворение эстетических потребностей;
топологиям интегральных микросхем;
решениям, противоречащим общественным интересам, принципам гуманности и морали.
Согласно патентному закону полезной моделью является конструктивное выполнение средств производства и предметов потребления, а также их составных частей. ПМ характеризуют следующие признаки: наличие конструктивных элементов и связей между ними: форма выполнения и взаимное расположение элементов; форма устройства в целом, в частности геометрическая; форма выполнения связей между элементами; параметры и другие характеристики элементов; материал из которого они выполнены.
Примеры. Полезная модель № 14826 2000 г. «Стержень-шуруп” (рис. 6).
Формула полезной модели:
1. Стержень-шуруп, содержащий рабочую часть, ограниченную упорной площадкой, и крепежную часть, отличающийся тем, что на крепежной части выполнен концентратор напряжения, расположенный в плоскости, перпендикулярной оси стержня-шурупа и расположенный между упорной площадкой и крепежным концом.
2. Стержень-шуруп по п.1, отличающийся тем, что концентратор напряжения выполнен в виде радиусной канавки.
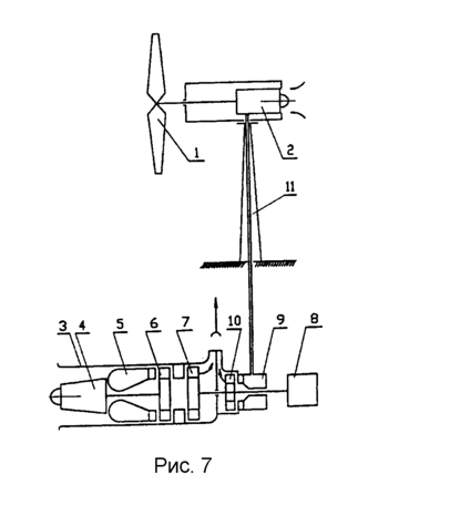
Полезная модель № 15119, 2000г. «Комбинированная ветрогазотурбинная установка” (рис. 7).
Формула полезной модели
Комбинированная ветрогазотурбинная установка, характеризующаяся тем, что она содержит ветродвигатель со свободной турбиной, который снабжен дополнительной камерой сгорания и дополнительным ротором свободной турбины, при этом компрессор ветродвигателя трубопроводом наддува соединен с дополнительной камерой сгорания, выход которой подключен к дополнительному ротору свободной турбины.
3.2.3. Условия патентоспособности промышленного образца (ПО)
В качестве промышленного образца охраняется художественно
конструкторское решение изделия промышленного или кустарно-ремесленного производства, определяющее его внешний вид.
















