1 часть (1084698), страница 2
Текст из файла (страница 2)
1.* ГОСТ… предусматривает не менее четырех типоразмеров муфт для монтажа на: 1–цилиндрических концах валов длинных l11 и коротких l12 по ГОСТ 12080-66, и 2–на конических концах валов длинных l21 и коротких l22 по ГОСТ 12081-72:
| d, мм | 16,18,19 | 20,22,24 | 25,28 | 30,32,35,36,38 | 40,42,45,48,50,55,56 | 60,63,65,70,71,75 |
| l11 /l12(21) -l22 | 40/28-16 | 50/36-22 | 60/42-24 | 80/58-36 | 110/82-54 | 149/105-70 |
2.** В таблице значения lм для монтажа муфт на цилиндрических концах валов: длинных - числитель, коротких– знаменатель.
3. Допускается компоновать муфты из полумуфт разных типов и с разными значениями lм и dм в указанных ГОСТ… пределах.
4. Смещения полумуфт не более: радиальное - r, угловое -
- 6 -
2. Конструирование редукторов (эскизный проект).
2.1. Конструирование цилиндрического одноступенчатого редуктора (РЦ)
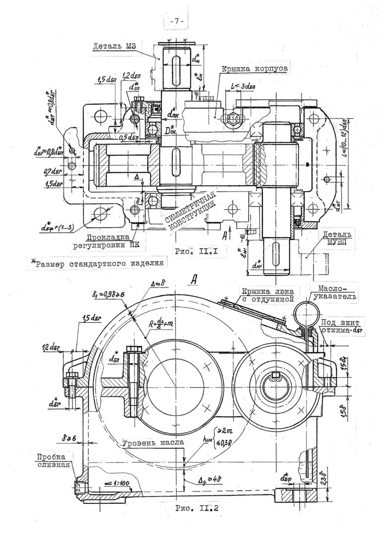
Исходные данные: размеры зубчатой передачи – aw, d1(2), b1(2), m; размеры ступеней валов – dB1(2), lм1(2); типоразмер подшипников* (ПК) – (DпкxdпкxB)1(2) и схема их установки.
Д
ополнительно назначить: - толщины стенок литого корпуса 1,2.4TВЫХ6мм и его крышки 0,9.6мм,– зазоры между вращающимися колесами и корпусом ≥ (1…1,5). … и дном д 4.; – диаметр болтов* крепления крышки редуктора к корпусу dБП 1,25.3Tвыхмм, и фундаментных болтов* редуктора dБФ 1,2.dБП (класс прочности болтов не ниже6.6).
Цель проектирования – разработка конкурентоспособной экономически эффективной (надежной, компактной, технологичной…) конструкции. Для этого обосновать архитектуру РЦ (рис.10), соответствующую целесообразной компоновке узлов привода в составе конвейера.
Р
азрабатывать эскизный проект РЦ на миллиметровке в М1:1, предварительно ознакомившись с разными вариантами РЦ и его элементов [4] и выбрав целесообразные для реализации в последовательности, рассмотренной на примере РЦ по рис. 11.
Начать конструировать РЦ с проекции "вид сверху, крышка снята" (см. рис. 11.1).
- Нанести оси валов на расстоянии "аw", начертить контур зубчатых колес и контур стенок корпуса, обеспечивая зазоры и толщину стенок.
- Начертить ПК*, заглубляя их в корпус на 1…3 мм (для доступа жидкой смазки).
- Начертить прилив (бобышку) корпуса для размещения ПК* и болтов* dБП, соблюдая их условия завинчивания и изготовления. Рекомендации для этих размеров см. на рис11.1.
- Начертить крышку ПК и болты* её крепления к корпусу, ориентируясь на стандартные крышки; начертить манжету* в сквозной крышке. Узлы ПК выполнить однотипными и симметричными.
- Прочертить фланец корпуса шириной 2,7.dБГ, соответствующей размещению болтов* dБГ 0,8.dБП (служащих для герметизации плоскости разъема корпуса), фиксирующих крышку штифтов* dшт 0,8.dБГ и резьбовых отверстий для разборки корпуса (под болты dБГ).
- Вычертить конструкции ступенчатых валов и размещенных на них деталей, обеспечивая их осевую фиксацию, технологичность изготовления и сборки и минимальную концентрацию нагрузок.
- Предусмотреть регулировку ПК набором прокладок под торец глухих, крышек.
- Начертить лапки корпуса с отверстиями под dБФ. Согласовать со 2-й проекцией.
Проекция РЦ "вид спереди" (см. рис. 11.2). Начертить: -оси колес, -контур колес и стенок корпуса, соблюдая размеры и, -конфигурацию бобышек под ПК* с болтами* dБП крепления корпуса, -конфигурацию фланцев с болтами* герметизации плоскости разъема и со штифтами*, люк для заливки масла, маслоуказатель, маслоспускное отверстие, приспособления для транспортировки РЦ, при массе редуктора более 25кг, лапки под фундаментные болты*.
Разработанную конструкцию РЦ согласовать с консультантом, после чего выполнить проверочные расчеты валов, ПК, шпоночных соединений..., по результатам которых может потребоваться корректировка конструкции РЦ и повтор расчётов.
2.2 Конструирование червячного 1-ступенчатого редуктора (РЧ)
Конструирование РЧ проводят с соблюдением той же методики, аналогично определяя размеры основных элементов конструкции. В архитектуре РЧ обычно предусматривают разъем корпуса по оси червячного колеса (рис.12.1), а при aw 140мм возможно выполнение сплошного корпуса с торцевой крышкой, через отверстие для которой монтируют колесо (рис.12.2). Червяк монтируют через отверстие под узел его ПК*. Предусматривают регулировки и ПК, и положения колеса для совмещения его оси с осью червяка. Пример конструкции РЧ - см. рис. 25.
*Размеры изделия стандартизированы.
- 8 -
3. Проверочные расчеты валов на прочность
З.1. Определение нагрузок на вал в характерных сечениях
|
| Исходные данные: эскиз вала (см. рис.13-пример конструкции); Тв, Ft, Fr, Fa, FM*, d2, a, b, c, dв1…5. Составить рациональную схему нагружения вала (стремясь к равномерности нагрузки его сечений и ПК; для приведенной конструкции см. рис. 14.1), пронумеровать характерные сечения 1…4, и определить составляющие реакций R1(2) **опор 1(2) от нагрузок, действующих в горизонтальной плоскости – Ft, в вертикальной – Fr и Fa, и в плоскости случайного направления - FM. |
В
горизонтальной плоскости (рис.14.2).
Составить уравнение равновесия вала относительно опоры1:
Mг(1) = R2г.(a+b) - Ft.a = 0, откуда R2г =Ft.a/(a+b).
Аналогично относительно опоры 2:
M г (2) = R1г.(a+b) -Ft.b = 0, откуда R1г = Ft.b / (a+b).
Проверка по условию: Fг = R1г - Ft + R2г = 0.
Найти изгибающий момент в сечении 3: M3г = R1г.a.
В вертикальной плоскости (рис.14.3).
Из Mв(2)=R1в.(a+b)-Fr.b-Fa.d2/2=0 … R1в=(Fr.b+Fa.d2/2)/(a+b).
Из Mв(1)=R2в.(a+b)-Fr.a+Fa.d2/2=0 … R2в=(Fr.a-Fa.d2/2)/(a+b),
(если R2В - отрицательная, то изменить её направление).
Проверка по условию: Fв = R1в – Fr ± R2в = 0.
Изгибающий момент в сечении 3 со стороны опоры 1: M3в1 = R1в . a ; и со стороны опоры 2: M3в2 = R2в . b.
В плоскости случайного направления - рис.14.4.
Из MМ(1) = FM.(a+b+c)-R2М.(a+b) = 0 … R2М = FM.(a+b+c)/(a+b).
Из MМ(2) = FM.c – R1М.(a + b) = 0 … R1М = FM.c / (a + b).
Проверка: FМ = R1М - R2М + FM = 0. М2М = FM.c; М3М = R1М.a.
Эпюра крутящих моментов представлена на рис.14.5.
О
пределить наибольшие значения нагрузок в характерных сечениях вала, полагая вектор результирующей нагрузки от составляющих в горизонтальной и вертикальной плоскостях совпадающим с вектором нагрузки случайного направления: Mi = Mi2г + Mi2в + MiМ и Rj = Rj 2г + Rj 2в + RjМ
Анализируя нагрузки и размеры характерных сечений вала, найти опасные сечения (наиболее нагруженные и (или) тонкие, их обычно одно или два), для которых выполнить проверочные расчеты на прочность.
3.2. Расчет вала на усталостную прочность
Исходные данные: опасное сечение № ..-, M, T, d, наличие паза под шпонку сечением bХh; вид концентратора напряжений, чистота обработки поверхности, вид упрочнения поверхности.
Назначить материал вала и выписать его мех. характеристики: в, -1, -1, -см.табл.1.
Оценить прочность вала, сопоставляя запасы выносливости: допускаемый [n] и расчетный n-1 запас, зависящий от запасов выносливости n - только при изгибе и n -только при кручении:
(
[n] = 1,6…1,8) n-1 = n.n/
, при n=-1/[(K/Kd+KRА-1)/Кy.a],
n=-1/[(K/K'd+KRА-1)/Кy.a+.m];
где: a(m) иa(m) - амплитуды (средние значения) напряжений изгиба и кручения,
| m = 0, | при Wи = | 0,1.d3 - для круглого сечения, 0,1.d3- - для сечения с пазом под шпонку bxh, здесь = b.h (2d-h.)2/(16.d); | |
| | при Wк = | 0,2.d3 - для круглого сечения, 0,2.d3- - для сечения с пазом под шпонку bxh; |
*
Сила от муфты FM 50
, Н; здесь ТВ - передаваемый крутящий момент в Нм. Силу FM считать приложенной к оси вала посредине ступени соединения с полумуфтой.
** Силы R1(2) считать приложенными к оси вала в точке пересечения с ней нормалей, проведенных через середины контактных площадок ПК, см. рис. 15...18.
- 9 -
Kи K – эффективные коэффициенты концентрации напряжений, см. табл. 2; если в сечении действует несколько концентраторов- принять наибольший;
Kd - масштабный фактор.
- при изгибе углеродистых сталей; при изгибе высокопрочных легированных и кручении всех сталей значение Kd уменьшить в 1,15 раза;
KRA - фактор чистоты поверхности;
, где Ra – параметр шероховатости в мкм;
Ку - коэффициент упрочнения поверхности, - см. табл. 3. Таблица 1.
| Марка стали | Диаметр заготовки, мм | Твердость не ниже, НВ | Механические характеристики в МПа | | ||||
| в | Т | Т | -1 | -1 | ||||
| 45 | любой | 200 | 560 | 280 | 150 | 250 | 150 | 0,06 |
| 80 | 270 | 900 | 650 | 390 | 410 | 230 | 0,10 | |
| 40Х | любой | 200 | 730 | 500 | 280 | 320 | 200 | 0,09 |
| 120 | 270 | 900 | 750 | 450 | 410 | 240 | 0,10 | |
| 40ХН | любой | 240 | 820 | 650 | 390 | 360 | 210 | 0,09 |
| 200 | 270 | 920 | 750 | 450 | 420 | 230 | 0,10 | |
| 20Х | 120 | 197 | 650 | 400 | 240 | 310 | 170 | 0,07 |
| 12XНЗА | | 260 | 950 | 700 | 490 | 430 | 240 | 0,10 |
| 18XГТ | | 330 | 1150 | 950 | 660 | 500 | 280 | 0,12 |
Таблица 2.
| в МПа | Шпоночный паз* | Шлицы, зубья эвольвентные | Посадка*** с натягом | Галтель**** | ||||||||||
| K/Kd при d мм | K/Kd при d мм | K при R/d | K при R/d | |||||||||||
| K | K | K | K | 30 | 50 | | 30 | 50 | | 0,02 | 0,05 | 0,02 | 0,05 | |
| 500 900 1200 | 1,6 2,15 2,5 | 1,4 2,05 2,4 | 1,45 1,7 1,75 | 1,43 1,55 1,6 | 2,5 3,5 4,25 | 3,05 4,3 5,2 | 3,3 4,6 5,6 | 1,9 2,5 2,95 | 2,25 3,0 3,5 | 2,4 3,2 3,8 | 1,8 2,0 2,15 | 1,75 2,0 2,2 | 1,55 1,65 1,7 | 1,55 1,7 1,75 |
Таблица 3.
| Вид упрочнения поверхности вала | коэффициент упрочнения Ку при: | ||
| K | K1,5 | K | |
| Закалка ТВЧ Азотирование | 1,3 ... 1,6 1,15...1,25 | 1,6 ... l,7 1,3 ...1,9 | 2,4…2,8 2,0…3,0 |
| Накатка роликом Наклеп дробеструйный | 1,2 ... 1,4 1,1 ... 1,3 | 1,5…1,7 1,4 ...1,5 | I,8…2,2 I,6... 2,5 |
3.3 Расчет вала на статическую прочность
Исходные данные: опасное сечение № ...; и; k; Кп; т.
- для симметричного циклаa =и = M/Wи
- для отнулевого цик-лаa =m =k/2 =T/(2Wк)















