В.В. Филинов, А. В. Филинова - Электроника и основы измерений (1084406), страница 23
Текст из файла (страница 23)
У амперметров электромагнитной системы для расширения пределов измерения в большинстве случаев катушку выполняют секционированной, с отводами.
Приборы с преобразователями в большинстве случаев состоят из комбинации магнитоэлектрического измерителя с вентилями (выпрямительные приборы) или с термоэлементами (термоэлектрические приборы).
В выпрямительных приборах (рис. 4.2) высокочувствительный и точный магнитоэлектрический измерительный механизм применяется для изменений в цепях переменного тока. Вместо мостовой схемы (рис. 4.2,
) может быть и
другая схема выпрямления, но во всех случаях необходима схема преобразования переменного тока в пульсирующий.
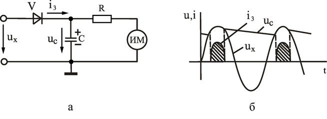
В схеме рис. 4.2,
диод
и измерительный механизм
образует однополупериодный выпрямитель. Вследствие инерционности подвижной части магнитоэлектрического механизма угол отклонения его стрелки пропорционален среднему значению выпрямленного тока. В течении отрицательного полупериода цепь тока замыкается через диод
и резистор, минуя измерительный механизм, что позволяет избежать искажения формы кривой тока в рабочеё цепи. Кроме того, диод
и резистор с сопротивлением
, равным сопротивлению измерительного механизма, предназначены для уменьшения обратного напряжения на диоде
.
В мостовой схеме (рис. 4.2,
Пределы измерения выпрямительных приборов расширяются также при помощи шунтов, добавочных резисторов и делителей напряжения.
Основные достоинства выпрямительных приборов – высокая чувствительность,малая потребляемая мощность измерительного механизма, возможность работы на повышенных частотах (до 50 кГц). Точность выпрямительных приборов относительно не высока – класс точности 1,5; 2,5.
Термоэлектрический прибор представляет собой соединение одного или нескольких термопреобразователей с магнитоэлектрическим измерительным механизмом (рис. 4.3). Термопреобразователь в свою очередь состоит из одного или нескольких термоэлементов (термопар), подогреваемых нагревателем с измеряемым током.
Термо-ЭДС преобразователя очень мала, поэтому термоэлемент должен подключаться к измерительному механизму высокой чувствительности по напряжению. Термо-ЭДС наиболее распространённых типов термопар преобразователей (хромель – копель, железо – константан и др.) составляет примерно 30 – 50 мВ при нагреве до 600 - 1000
.
Термоэлектрические приборы применяются для измерений только в цепях переменного тока. Шкала термоэлектрического прибора неравномерна и приблизительно квадратична. Это объясняется тем, что ток в магнитоэлектрическом механизме пропорционален термо-ЭДС, которая пропорциональна температуре спая, а последняя зависит от количества выделяющегося тепла, пропорционального квадрату тока в подогревателе.
Основным достоинством термоэлектрических приборов является высокая точность измерений в широком диапазоне частот (до 100 МГц). К недостаткам приборов следует отнести большую чувствительность к перегрузкам и ограниченный срок службы термопреобразователей.
4.6. Электронные приборы непосредственной оценки
Большое распространение, наряду с вышенаписанным, получили электронные приборы для измерения тока и напряжения. Рассмотрим основные принципы построения электронных вольтметров.
Электронный вольтметр постоянного тока представляет собой высокочувствительный усилитель постоянного тока (УПТ) с магнитоэлектрическим измерительным механизмом на выходе.
Электронные вольтметры переменного тока могут быть построены по схемам усилитель – выпрямитель (рис. 4.4) или выпрямитель – усилитель (рис.4.5).
Электронный амперметр строиться по схеме вольтметра, измеряющего падение напряжения на образцовом сопротивлении, которое включают последовательно в ту ветвь, в которой измеряется ток.
В зависимости от того, какое значение переменного напряжения
измеряется электронным вольтметром, различают вольтметры среднего, действующего и амплитудного значений.
Электронный вольтметр среднего значения напряжения. Он имеет одно- или двухполупериодный выпрямитель, в котором применяются полупроводниковые диоды, работающие на линейном участке их вольт – амперной характеристики.
Вольтметр действующего значения. Для этого вольтметра необходимы диоды с рабочей точкой на квадратичном участке вольт-амперной характеристики.
Наилучшая характеристика у нелинейных квадратирующих элементов на термопреобразователях. Применение термопреобразователей позволяет создать вольтметры действующего значения с линейной шкалой. Такие вольтметры необходимы для регистрации и автоматической обработки данных или для управления.
Вольтметр амплитудного значения. Это такой вольтметр, показания которого соответствуют амплитуде измеряемого синусоидального напряжения или максимальному значению при периодическом напряжении несинусоидальной формы. Шкалу прибора можно градуировать как в максимальных значениях напряжений, так и в действующих значениях напряжений, так и в действующих значениях
(только при измерении синусоидальных напряжений).
Для измерения амплитудного (максимального) значения напряжения в выпрямительное устройство вольтметра вводится элемент, «запоминающий» значение
. Свойством «памяти» обладает конденсатор, заряжаемый через диод до амплитудного (максимального) значения переменного напряжения (рис. 4.6,
). Измеряемое напряжение
подается на вход прибора.
В течение первой положительной полуволны входного напряжения
ток
заряжает конденсатор до напряжения
. Во время отрицательной полуволны диод запирается, конденсатор
разряжается через сопротивление
и измерительный механизм. Сопротивление нагрузки детектора
обычно 50—100 МОм. Поэтому постоянная времени разрядки
велика по сравнению с периодом
измеряемого напряжения
и напряжение конденсатора
уменьшится незначительно. При следующей положительной полуволне напряжения
конденсатор подзаряжается до напряжения
=
.
Таким образом, в те интервалы времени, когда мгновенное значение напряжения
превышает напряжение на конденсаторе
, диод открывается и происходит подзарядка конденсатора
(рис. 4.6,
)зарядным током
.
Если измеряемое напряжение
, т. е. содержит постоянную составляющую
, то конденсатор заряжается до напряжения
и показания вольтметра будут соответствовать максимальному значению напряжения
(рис. 4.7).
Для устранения этого недостатка используют схему с закрытым входом (Рис. 4.8), в которой на входе включен конденсатор, не пропускающий постоянную составляющую напряжения
.
4.1.7 Измерение мощности в цепях постоянного тока и активной мощности в цепях переменного тока
Измерение мощности в цепях постоянного тока возможно косвенным методом при помощи амперметра и вольтметра, так как
, а в цепях переменного тока при помощи амперметра, вольтметра и фазометра с расчётом активной мощности по формуле
. Однако в этих случаях измерение мощности связано с вычислением по отсчётам двух или трёх приборов, что снижает точность и усложняет процесс измерения.
Измерение мощности в цепях постоянного и переменного токов промышленной частоты осуществляется ваттметрами, обычно с электродинамическими измерительными механизмами.
Электродинамические ваттметры выпускаются виде переносных приборов высоких классов точности (0,1; 0,5).
Для измерения мощности на высоких частотах применяются термоэлектрические и электронные ваттметры, представляющие собой магнитоэлектрический измерительный механизм, снабженный преобразователем активной мощности в постоянный ток.
На рис. 4.9. показана схема включения в цепь переменного тока электродинамического ваттметра для измерения активной мощности, приемника или потребителя с сопротивлением нагрузки
. Подвижная катушка включается последовательно с добавочным резистором
параллельно приемнику.
Угол отклонения стрелки электродинамического измерительного прибора
где
— масштабные коэффициенты.
Таким образом, шкалу электродинамического ваттметра можно проградуировать в единицах измерения активной мощности.
Измерение активной мощности в трехфазных цепях. Активную мощность можно измерить при помощи одного, двух или трех приборов в зависимости от схемы соединения фаз потребителя и симметрии нагрузки. Рассмотрим соответствующие схемы включения.
Активная мощность трехфазного потребителя, фазы которого соединены звездой, равна сумме мощностей отдельных фаз:
Из этого выражения видно, что, измерив активную мощность каждой из фаз и просуммировав показания, можно определить активную мощность трехфазного потребителя. Такой метод измерения называется методом трех ваттметров. Наиболее часто он применяется для измерения мощности в трехфазной четырехпроводной несимметричной системе (Рис. 4.10).
В частном случае симметричного трехфазного приёмника
и
. Поэтому в симметричной трёхфазной цепи измерение активной мощности может быть выполнено одним прибором (Рис. 4.11).
При соединении симметричного приемника треугольником также достаточно измерить мощность в одной фазе (Рис. 4.11,
); общая мощность равна утроенному показанию ваттметра.
















