ДЗ № 2 (схема) (1078619)
Текст из файла
Группа: ИУ5-21 Студент: Высочанский Владимир
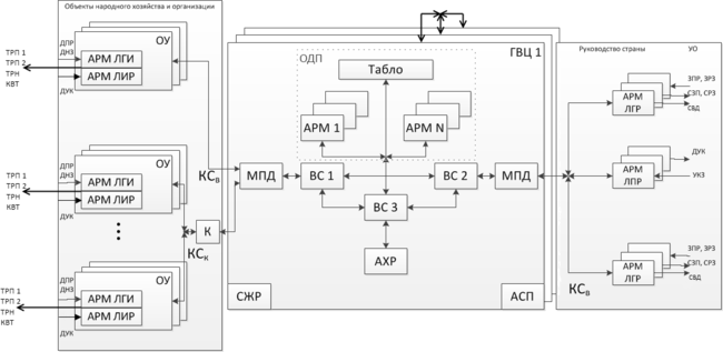
Структурная схема ГАС «Контур»
Обозначения:
ГВЦ – главный вычислительный центр ДНЗ – донесения незамедлительные
ВС – вычислительная система УКЗ – указания (решения, принятые ЛПР)
ОДП – оперативный диспетчерский персонал ДУК – донесения в ответ на указания
МПД – мультипликатор передачи данных ЗПР – запрос на поиск нужной информации в БД системы
АСП – административно-служебный персонал ЗРЗ – задание на решение задачи
АХР – автоматизированное хранилище СЗПР – справка в ответ на запрос
СЖО – система жизнеобеспечения СРЗ – справка с результатами решения задачи пользователя
КСв – выделенный канал связи СВД – сводка, сформированная на основании ДПР
КСк – коммутируемый канал связи ТРП – технологическое распоряжение на повтор и ввод сообщения
К – коммутатор и концентратор ТРН – технологическое распоряжение о неприёме сообщения
ДПР – донесения периодические КВТ – квитанция
Характеристики
Тип файла документ
Документы такого типа открываются такими программами, как Microsoft Office Word на компьютерах Windows, Apple Pages на компьютерах Mac, Open Office - бесплатная альтернатива на различных платформах, в том числе Linux. Наиболее простым и современным решением будут Google документы, так как открываются онлайн без скачивания прямо в браузере на любой платформе. Существуют российские качественные аналоги, например от Яндекса.
Будьте внимательны на мобильных устройствах, так как там используются упрощённый функционал даже в официальном приложении от Microsoft, поэтому для просмотра скачивайте PDF-версию. А если нужно редактировать файл, то используйте оригинальный файл.
Файлы такого типа обычно разбиты на страницы, а текст может быть форматированным (жирный, курсив, выбор шрифта, таблицы и т.п.), а также в него можно добавлять изображения. Формат идеально подходит для рефератов, докладов и РПЗ курсовых проектов, которые необходимо распечатать. Кстати перед печатью также сохраняйте файл в PDF, так как принтер может начудить со шрифтами.
















