Дз1-88 (1078603)
Текст из файла
Сманцер Марина, ИУ5-21
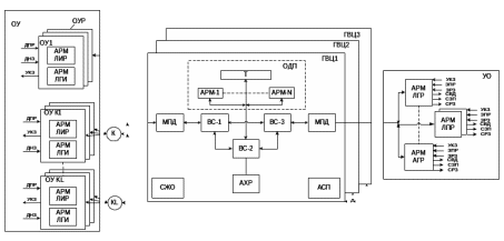
Структурная схема ГАС «Контур»
АРМ – автоматизированное рабочее место; АСП – административно-служебный персонал; АХР – автоматизированное хранилище; К – концентратор/коммутатор; МПД – мультиплексор передачи данных; ОДП – оперативно-диспетчерский персонал; ОУ – объекты управления; СЖО – система жизнеобеспечения; Т – табло коллективного пользования для ОДП; УО – управляющий орган;
ДУК – донесения в ответ на указания; ДПР – донесения периодические; ДНЗ – незамедлительные донесения; ВС-1 – совершает информационный обмен с нижними звеньями системы; ВС-2 – ведение базы данных и решение пользовательских и функциональных задач; УКЗ – указания; ЗПР – запрос; ЗРЗ – запрос на решение задач
| ГВЦ – главный вычислительный центр:
| ВС – вычислительная система: ВС-1:совершает информационный обмен с нижними звеньями цепи ВС-2:обеспечивает ведение базы данных, решение пользовательских и функциональных задач ВС-3:совершает информационный обмен с верхними звеньями |
Описание структурной схемы
(принцип действия ГАС “Контур”)
Назначение системы определялось необходимостью:
-
оперативного сбора информации о текущем и ретроспективном состоянии ОУ,формирования на основе этой информации базы данных системы, её наполнения, обновления, хранения и обработки
-
оснащения рабочих мест пользователей существовавшими в то время средствами вычислительной техники
-
реализации информационного взаимодействия пользователей системы в реальном масштабе времени
-
обеспечения живучести системы в условиях агрессивного разрушающего воздействия окружающей среды
Цель функционирования системы определялась необходимостью:
-
оперативного удовлетворения информационных потребностей пользователей
-
информационного обслуживания процесса выработки коллегиальных и индивидуальных управленческих решений
-
оперативного доведения управленческих решений до объектов управления и контроля над их своевременным выполнением
Способ достижения цели:
-
сбор данных на нижних и верхних звеньях и ввод их в систему в виде сообщений ДУК, ДПР, ДНЗ
-
накопление, обновление, хранение, поиск данных и обработка данных
Ввод данных осуществляется отправкой сообщений при помощи АРМ пользователей системы
Сообщения отправляются и обрабатываются на:
ВС-1 для объектов управления
ВС-2 для ОДП
ВС-3 для управляющего органа
Сообщения с ВС-2 отправляются на АХР.
-
вывод информации из системы в виде УКЗ, ЗПР, ЗРЗ.
Ситуация:
В случае необходимости корректировки нормативно-справочной информации нужно сообщить об этом АРМ ЛГР с помощью КСИ.
Контроль и управление функционированием системы ОДП:
КДПУ – командно-диспетчерский пункт управления системой
ГДС – главный диспетчер системы, осуществляет контроль и управление всей системы в целом
ДИВ – диспетчер информационного обмена с верхними звеньями
ДИН – диспетчер, обеспечивающий информационный обмен с нижними звеньями
Управление функционированием АРМ выполняется с помощью директив
ОДП осуществляет функции:
-
наблюдения за системой
-
контроля системы
-
регулирования параметров
Обеспечение живучести системы с помощью дублёров:
Для защиты системы от сбоев, вызванных выведением из строя отдельных составляющих или проведением регламентных работ, было создано несколько удаленных друг от друга вычислительных центров
Характеристики
Тип файла документ
Документы такого типа открываются такими программами, как Microsoft Office Word на компьютерах Windows, Apple Pages на компьютерах Mac, Open Office - бесплатная альтернатива на различных платформах, в том числе Linux. Наиболее простым и современным решением будут Google документы, так как открываются онлайн без скачивания прямо в браузере на любой платформе. Существуют российские качественные аналоги, например от Яндекса.
Будьте внимательны на мобильных устройствах, так как там используются упрощённый функционал даже в официальном приложении от Microsoft, поэтому для просмотра скачивайте PDF-версию. А если нужно редактировать файл, то используйте оригинальный файл.
Файлы такого типа обычно разбиты на страницы, а текст может быть форматированным (жирный, курсив, выбор шрифта, таблицы и т.п.), а также в него можно добавлять изображения. Формат идеально подходит для рефератов, докладов и РПЗ курсовых проектов, которые необходимо распечатать. Кстати перед печатью также сохраняйте файл в PDF, так как принтер может начудить со шрифтами.
















