ответы на вопросы (1076663)
Текст из файла
Белоус Кирилл, ИУ5-34
Вопрос №13. АИС как предприятие информационного типа: виды сырья и конечный продукт.
Развитие материальных благ человечества привело к созданию предприятия, обладающего следующими особенностями производства: длительный непрерывный или дискретный процесс; конечный продукт, обладающий потребительскими свойствами, обеспечивающими удовлетворение личных или производственных потребностей; наличие технологий (их особенность – уникальность и невоспроизводимость); получение конечных продуктов из исходного сырья.
Рассматривая АИС как предприятия особого информационного типа, отметим ряд характерных именно ей свойств: сырьем для АИС являются сведения (информация о реальных объектах, без относительно их конкретного применения), которые могут поступать в систему в виде данных:
– данные в чистом виде (АСОД)
– документы (АДС)
– знания (результатов познания реальной действительности с использованием опыта) (ЭС)
– геоинформация (картографическая информация) (ГИС)
– мультимедиа (МИС)
Сведения преобразуются посредством технологии обработки информации АИС в информационный продукт, служащий для удовлетворения нужд пользователей системы и являющейся для нее конечным продуктом.
Белоус Кирилл, ИУ5-34
Вопрос №14. Технология обработки информации (дать определение и перечислить виды преобразования информации в системе).
Технология обработки информации – упорядоченное множество преобразований над сведеньями с целью получения информации с учётом реализации этих преобразований на КСА (комплексе устройств автоматизации).
Преобразование (П) сведений в системе:
1. Изменение местоположения (М)
2. Изменение формы (Ф)
3. Изменение содержания (С)
Получаем, что преобразование сведений в системе имеет следующие возможные варианты:
П = { М, Ф, С, МuФ, МuС, МuФuС }
Белоус Кирилл, ИУ5-34
Вопрос №15. Декомпозиция КСА. Структурный граф АИС. Множество альтернатив выбора.
Схема 1. Декомпозиция КСА.
Условные обозначения:
АПК – аппаратно-программный комплекс
ИАК – информационно-алгоритмический комплекс
КЧФ – комплекс человеческого фактора
АСК – архитектурно-строительный комплекс
САК – служебно-административный комплекс
ЭМК – экспериментально-модельный комплекс
ИТК – инструментально-технологический комплекс
УПК – учебно-подготовительный комплекс
Устройства, добавленные самостоятельно:
КП – канцелярские приборы
УДо – устройства документооборота
УТ– устройства тестирования
Тр – тренажеры
Схема 2. Структурный граф АИС.
Конкретная задача может быть решена не одним, а несколькими методами.
Совокупность данных методов составляет множество альтернатив выбора. Данные методы отличны друг от друга по эффективности
Белоус Кирилл, ИУ5-34
Вопрос №16. Функциональная схема АИС.
П1 - ввод сведений виде сообщений на оконечных пунктах
абонентах системы(нижние звенья);
П2 - ввод принятых сообщений в систему на оконечных пунктах абонентов;
П3 - передача сообщений посредством системы или сети связи;
П4 - приём сообщений на ВЦ(рабочая станция). В процессе приёма на ВЦ осуществляется контроль;
П5 - загрузку сообщений в базу данных, их накопление, обновление;
П6 - решение задач, функциональных и технологических;
П7 - редактирование и форматирование, приведение входных сообщений у виду удобному для восприятия человеком;
П8 - доставка информации как конечного продукта виде соответствующих сообщений на рабочие места пользователей системы.
Чтобы система бесперебойно осуществляла перечисленные функции она нуждается в контроле, управлении, защите, восполнении;
П9 - контроль за функционированием системы по определённым параметрам;
П10 - управление системой, т.е. перевод системы из текущего состояния в требуемое;
П11 - защищать - означает защиту системы от внешних воздействий и сохранность информации в ней, включая исключение возможного уничтожения информации или искажения, а также, исключая несанкционированный доступ к ней.
П12 - восполнение вырабатываемых ресурсов системы.
Белоус Кирилл, ИУ5-34
Вопрос №17. Декомпозиция основной производственной функции АИС. Функциональный граф АИС.
Рис1. Декомпозиция основной производственной функции АИС
Условные обозначения:
П = {П1,…,П12}
П1 – ввод сведений в виде сообщений на оконечных пунктах абонентов
П2 – ввод принятых сообщений в систему на оконечных пунктах абонентов
П3 – передача сообщений посредствам системы или сети связей
П4 – приём сообщений на вычислительном центре
П5 – загрузка сообщений в БД, их накопление, обновление
П6 – решение задач (функциональных или технологических)
П7 – редактирование и форматирование: приведение входных сообщений к виду, удобному для восприятия человеком
П8 – доставка информации как конечного продукта в виде соответствующих сообщений на рабочие места пользователей системы
П9 – контроль над функционированием системы по определённым параметрам
П10 – управление системой – перевод её из текущего состояния в требуемое
П11 – защита системы от внешних воздействий и сохранность информации в ней, включая исключение возможного уничтожения и искажения информации, а так же исключение несанкционированного доступа к ней
П12 – восполнение вырабатываемых ресурсов системы
Ф21 – принять сообщение;
Ф22 – зарегистрировать;
Ф23 – упорядочить;
Ф24 – набрать на клавиатуре;
З221 – произвести запись в регистрационном журнале
З222 – квитировать
О2221 – заполнить шаблон квитанций
О2222 – вручить абоненту.
Рис 2. Функциональный граф АИС
Функциональный граф описывает те процессы, которые система реализует.
Уровни O, P, R, S – уровни подсистем, функций, задач и операций соответственно.
Белоус Кирилл, ИУ5-34
Вопрос №18. Функционально-структурный граф АИС.
Рис 1. Функциональный граф АИС.
Уровни O, P, R, S – уровни подсистем, функций, задач и операций соответственно.
Для построения функционально-структурного графа к каждой вершине функционального графа на уровне операций нужно «подвесить» структурный граф.
Рис 2. Структурный граф АИС.
Функционально-структурный граф АИС является графовой моделью АИС как объекта проектирования.
Белоус Кирилл, ИУ5-34
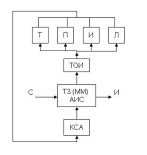
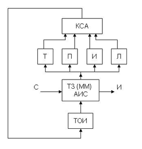
Вопрос №19. Технократический и Технологический подходы к созданию АИС: преимущества и недостатки.
Технократический подход Технологический подход
Обозначения:
ММ – морфологическая модель;
Т – технология;
П – персонал;
И – информация;
Л – люди.
Технократический подход.
К преимуществам технократического подхода стоит отнести то, что подход позволяет создать систему в кратчайшие сроки и с минимальной стоимостью.
К недостаткам - не может быть создана система с максимальной эффективностью, ограничивающие возможности определяются её составляющими.
Технологический подход:
К преимуществам технократического подхода стоит отнести то, что создаются системы с максимально эффективными функциями.
К недостаткам - время на создание увеличивается и растёт стоимость.
Белоус Кирилл, ИУ5-34
Вопрос №20. Жизненный цикл простой системы: краткая характеристика стадий.
Жизненный цикл – логически упорядоченная последовательность отдельных стадий от момента, когда возникла необходимость создания системы до момента ее утилизации.
Жизненный цикл простой системы:
Условные обозначения:
З – заказчик, лицо, платящее деньги
НИОКР – научно-исследовательские и опытно-конструкторские работы.
ТЭО – технико-экономические обоснования
ТПр – технические приложения
ТЗ – техническое задание
ЭП – эскизное проектирование: рассматриваются альтернативные варианты.
ТП – техническое проектирование
РП – рабочее проектирование – разрабатывается весь необходимый проект конструкторской и эксплуатационной документации
МН – монтаж и наладка
И – стадия испытаний: автономные испытания (испытание отдельных узлов, подсистем), системное испытание (проверяется работоспособность в целом), испытание главного конструктора (проводятся частично на реальной информации)
ОЭ – опытная эксплуатация: устранение неполадок, недоработок
ПЭ – промышленная эксплуатация
М – модернизация
– система физически и морально выработала свой ресурс
У – утилизация
Рассмотренная схема является теоретической моделью, поскольку в реальной жизни отсутствуют границы между стадиями и возможны совмещения нескольких стадий в одну.
Белоус Кирилл, ИУ5-34
Вопрос №21. Жизненный цикл сложной системы. Пример очередей (для ГАС «Контур»).
Сложная система создаётся очередями:
Государственная автоматизированная система «Контур» создавалась в 3 очереди: вначале был создан ГВЦ1, затем ГВЦ 2 и ГВЦ3.
Жизненный цикл каждой очереди – жизненный цикл простой системы.
Каждая создаваемая очередь вносит возмущение в созданные, и принимаются меры по нейтрализации этих возмущений.
Сложные системы постоянно находятся в состоянии динамического равновесия.
Белоус Кирилл, ИУ5-34
Вопрос №22. Стадии жизненного цикла простой системы, определяющие: проектирование системы, создание системы, функционирование системы.
Стадии жизненного цикла простой системы:
1. З(И) – стадия заказа (идеи)
НИОКР – научно-исследовательские и опытно-конструкторские разработки
ТЭО – технико-экономическое обоснование
ТПр – техническое приложение
ТЗ – техническое задание
2. ЭП – эскизное проектирование (анализ нескольких вариантов создания системы)
ТП – техническое проектирование (детально прорабатывается единственный вариант создания системы)
РП – рабочее проектирование
Характеристики
Тип файла документ
Документы такого типа открываются такими программами, как Microsoft Office Word на компьютерах Windows, Apple Pages на компьютерах Mac, Open Office - бесплатная альтернатива на различных платформах, в том числе Linux. Наиболее простым и современным решением будут Google документы, так как открываются онлайн без скачивания прямо в браузере на любой платформе. Существуют российские качественные аналоги, например от Яндекса.
Будьте внимательны на мобильных устройствах, так как там используются упрощённый функционал даже в официальном приложении от Microsoft, поэтому для просмотра скачивайте PDF-версию. А если нужно редактировать файл, то используйте оригинальный файл.
Файлы такого типа обычно разбиты на страницы, а текст может быть форматированным (жирный, курсив, выбор шрифта, таблицы и т.п.), а также в него можно добавлять изображения. Формат идеально подходит для рефератов, докладов и РПЗ курсовых проектов, которые необходимо распечатать. Кстати перед печатью также сохраняйте файл в PDF, так как принтер может начудить со шрифтами.
















