Учебное пособие ФОЭП (1076389), страница 9
Текст из файла (страница 9)
4. Область тлеющего разряда. Газ в приборе начинает интенсивно светиться в результате излучения энергии при переходе электронов из возбужденных состояний в стационарные.
При тлеющем разряде процесс формирования ПОЗ стабилизируется. У катода образуется катодная область с катодным падением потенциала UK.
Затем увеличение I происходит за счет увеличения площади сечения ионизированного столбика газа, т. е. плотность тока и U остаются постоянными. Это свойство (U=const) тлеющего разряда лежит в основе работы стабилитронов.
5. Область аномального тлеющего разряда. После того как сечение ионизированного столбика газа будет равно площади катода для увеличения I необходимо увеличить U, т. е. увеличить и .
6. Переходная область от аномального тлеющего разряда к дуговому разряду. Напряжение велико, скорость ионов возрастает, катод разогревается и возникает термоэлектронная эмиссия. Кроме того, при напряженности поля E=106…108 В/см возникает электростатическая эмиссия электронов. В результате число электронов резко возрастает.
7. Область дугового разряда. Для этого разряда характерны малое напряжение U и большой ток I. Различают две формы дугового разряда: самостоятельный и несамостоятельный. Самостоятельный дуговой разряд поддерживается за счет явлений, происходящих в самом разряде. Несамостоятельный дуговой разряд поддерживается посторонним источником электронной эмиссии (например, термокатодом).
Виды электронных приборов и технологий на основе электрического разряда в вакууме
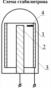
| Стабилитрон (газовый стабилизатор напряжения) – газоразрядная двухэлектродная лампа с холодным катодом, работающая в режиме нормального тлеющего разряда. 1 – катод с активированным внутренним слоем; 2 – анод; 3 – стеклянный баллон с инертным газом (P=10 3 Па); 4 – никелевая проволока; |
| Стабилизация напряжения основана на том, что напряжение на стабилитроне UСТ остается постоянным, пока величина тока I не выходит за пределы допустимых значений (Iс.max I Iс.min). | |
| Rогр – ограничительный (балластный) резистор; RHАГР – сопротивление нагрузки. Величина Rогр выбирается такой, чтобы при номинальных значениях U0 и RH ток I через стабилитрон был равен IСТ СР |
При изменениях напряжения питания U0 или сопротивления нагрузки RH ток I через стабилитрон меняется, но напряжение стабилитрона остается постоянным UСТconst. Не меняется соответственно и напряжение на нагрузке RH. UСТ зависит от материала катода (работы выхода электронов) и рода газа.
Обычно UСТ = 70…150 В 2…6 %; I=3…40 мА.
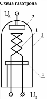
Газотрон (ионный диод) – газоразрядная двухэлектродная лампа с накаливаемым катодом, работающая в режиме дугового несамостоятельного разряда.
Для газотрона могут применяться катоды прямого или косвенного накала (в основном, оксидные катоды).
| Разряд дуги в газотроне зажигается при помощи электронного тока с катода при напряжении UЗ. Затем анодный ток IА возрастает за счет повышения эффективности ионизации газа (при незначительном изменении UA=UГ.Д.). UЗ – напряжение зажигания разряда; UГ.Д. – напряжение горения дуги; UН1,2 – напряжение накала катода |
При выпрямлении переменного тока в газотроне наблюдается обратный ток IОБР. Он возникает за счет того, что для рекомбинации электронов и ионов требуется некоторое время. Однако, при номинальных параметрах UA, UH принимают, что IОБР=0.
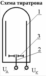
Тиратрон (от греческого слова «тира» - дверь) – ионный прибор, содержащий анод, катод и одну или две сетки. Тиратроны могут быть двух видов:
-
С накаливаемым катодом, работающие в режиме дугового несамостоятельного разряда;
-
С холодным катодом, работающие в режиме нормального тлеющего разряда.
Тиратрон с накаливаемым катодом
| 1 – анод; 2 – катод; 3 – сетка с экраном;
В тиратроне могут быть два состояния:
2. Анодный ток достаточно велик (IA – до 100 А), когда лампа отперта. |
Роль сетки тиратрона - при отсутствии дугового разряда сетка действует так же, как управляющая сетка электровакуумного триода.
Отрицательный потенциал сетки (-UC 1, 2) может полностью запереть тиратрон. Чем выше потенциал анода UA1, тем выше отрицательное напряжение запирания сетки –UC1.
При возникновении дугового разряда в тиратроне сетка теряет управляющие свойства, так как она экранируется положительным анодным зарядом ионов около сетки. При дуговом разряде IA=const и не зависит от UC. Таким образом, сетка управляет только моментом зажигания дугового разряда. Чтобы погасить тиратрон необходимо разорвать анодную цепь или уменьшить UA (UA<UГ.Д. – напряжение горения дуги).
| -UC 1, 2 – сеточные напряжения зажигания тиратрона | h - ширина области зажигания (зависит от ряда факторов: t окружающей среды, состояния поверхности катода и т.д.). UAЗ – анодное напряжение при котором происходит зажигание дугового разряда в тиратроне. |
Вторая (экранирующая) сетка применяется в тиратроне для устранения тлеющего самостоятельного разряда между управляющей сеткой и анодом при больших UA.
Тиратроны используются для выпрямления переменного тока и в схемах электронных реле, позволяющих при малых токах управления включать и выключать сильноточные схемы.
Тиратрон с холодным катодом
| 1 – катод; 2 – анод; 3 – управляющий электрод (сетка) Тиратрон наполняется инертным газом при давлении P=103 Па. Анод 2 изготовляется из никелевой проволоки (с большой работой выхода AВЫХ), катод 1 в виде никелевого цилиндра покрывается изнутри цезием или BaO (с малой работой выхода АВЫХ). |
В тиратроне с холодным катодом могут быть также два состояния:
-
IA=0 – тиратрон заперт;
-
IA>0 – тиратрон открыт;
Роль управляющего электрода
При подаче положительного импульса на управляющий электрод, ток IУ в этой цепи возрастает. При достаточной величине этого тока IУ между анодом и катодом возникает тлеющий разряд.
| UА.З. – напряжение зажигания тиратрона; IУ – ток между катодом и управляющим электродом; UГ.Т. – анодное напряжение горения тлеющего разряда |
При возникновении тлеющего разряда управляющий электрод теряет свои управляющие свойства (аналогично тиратрона с накаливаемым катодом).
Чтобы выключить тиратрон надо уменьшить UA<UГ.Т.
Тиратроны обладают большой экономичностью и используются в электронных схемах в качестве бесконтактных реле.
Технология ионного травления
Ионное травление – разрушение и удаление обрабатываемого материала за счет физического взаимодействия (бомбардировки) ускоренных ионов инертного газа с поверхностью материала (например, полупроводниковой кремниевой подложки). Энергия ионов составляет при этом 0,5…10 кэВ.
Давление инертного газа (Ar) P=1…100 Па, напряжение катода UK=-1…10 кВ, катод – холодный.
Плотность ионного тока на мишени невелика IИОН=1…5 мА/см2, поэтому скорость травления материала обычно мала V=1нм/с.
| | 1 – катод – мишень; 2 – корпус – анод; 3 – натекатель; 4 – полупроводниковая подложка; 5 – газовый разряд (тлеющий) |
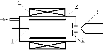
Технология ионного распыления для осаждения тонких пленок
При осаждении тонких пленок в вакууме существуют различные методы генерации потока частиц: метод термического испарения, метод распыления материалов электронной бомбардировкой или ионной бомбардировкой.
| | 1 – катод; 2 – анод; 3 – полупроводниковая подложка; 4 – атомы и молекулы материала мишени; 5 – ионы инертного газа; 6 – натекатель |
Газовый разряд (тлеющий или аномально тлеющий) зажигается при напуске через натекатель 6 рабочего инертного газа и активных газов (O2, N2 и др.) до давления P=1…100 Па и подаче напряжения на катод – мишень UK=-1…5 кВ (катод – холодный).
Выбиваемые с поверхности мишени атомы и молекулы покидают её и осаждаются в виде тонкой пленки на поверхности подложек 3. Активные газы, взаимодействуя с осаждаемым материалом, образуют нужные химические соединения (окислы, нитриды и др.).
Использование газоразрядной плазмы для формирования ионных пучков
Газоразрядная плазма при давлениях P=103…10-1 Па может быть использована для различных технологических процессов: ионного травления поверхности, ионного распыления материалов, ионной имплантации (легирования), формирования ионных пучков большой интенсивности и т.д.
Рассмотрим различные типы ионных источников.
-
Ионный источник с горячим катодом
| 1 – накаливаемый катод; 2 – анод; 3 – экстрактор; 4 – система подачи газа; 5 – разрядная (ионизационная) камера |
Ионный источник состоит из разрядной камеры 5, источника электронов - накаливаемого катода 1, анода 2, экстрактора 3 (устройства для вывода ионов из разрядной камеры и их ускорения), системы подачи газа при давлении P=103…10-1 Па (Ar, N2, O2 и т.д.).
Основным достоинством таких источников является возможность получения высокоинтенсивных пучков ионов (с энергией до 105 эВ), главным недостатком – быстрое разрушение термокатода при использовании химически активных газов.
-
Ионный источник с холодным катодом и разрядом Пеннинга
Источник ионов с холодным катодом и разрядом Пеннинга содержит соленоид для повышения эффективности ионизации (за счет удлинения траектории движения электронов). Ионы «вытягиваются» из плазмы самостоятельного газового разряда через отверстие в антикатоде и ускоряются системой экстракции. Срок службы катода превышает 1000 часов. Недостатками источника являются малая величина ионного тока IИОН пучка (до 100 мкА), большие пульсации тока и возможность использования для ионизации только газообразных веществ.
Напряжение зажигания самостоятельного газового разряда UЗ зависит от рода газа и произведения pd, где p - давление в разрядной камере; d – расстояние между электродами. Эта зависимость иллюстрируется кривыми Пашена.
-
Жидкометаллический источник ионов
Жидкометаллический источник ионов содержит два электрода: острие и заземленный экстрактор, между которыми приложено напряжение 4…10 кВ. Острие выполнено в виде тонкой вольфрамовой трубки с капиллярным отверстием 50 мкм, через которое поступает жидкий металл. При давлении жидкого металла 1 МПа и напряженности электрического поля E=1010 В/м на конусе капилляра образуется выступ жидкого металла в виде конуса, с вершины которого эмиттируется пучок положительных ионов.
| | 1 – острие и резервуар; 2 – экстрактор; 3 – нагреватель |
Формирование пучков электронов в электронно-лучевых приборах и для электронных технологий
















