Учебное пособие ФОЭП (1076389), страница 14
Текст из файла (страница 14)
где (-)2 – функция отношения RК/R..
Функция (-)2 для сферического диода
На рисунке приведены формы прикатодного фокусирующего электрода и анодов при различных отношениях радиусов кривизны катода и анодов. Их форма характеризует также и конфигурацию эквипотенциалей в области внешней к потоку. Для определения форм электродов наиболее просто воспользоваться методом электролитической ванны, который был описан ранее.
Эквипотенциальные поверхности вблизи конического пучка
Для геометрических параметров RК , Rа , ток в коническом пучке:
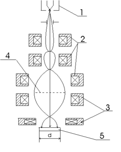
Рекомендуемая форма электродов электронной пушки и ее геометрические параметры приведены на рисунке
Рекомендуемая форма электродов электронной пушки
Угол расхождения пучка на выходе пушки:
, где f – фокусное расстояние щелевой диафрагмы анода. Для Rа = / f / пучок на выходе пушки будет иметь параллельную цилиндрическую форму, т.е. = 0.
Рассмотрим применение электронных пушек для электронно-лучевой литографии.
Электронно-лучевая литография – метод формирования топологического рисунка интегральной микросхемы (ИМС) с субмикронными размерами элементов на полупроводниковой пластине, покрытой электронорезистом, с помощью электронного луча. Минимальные размеры элементов – 0,1…0,2 мкм, напряжение катода электронной пушки >10 кВ.
На практике чаще всего используют два метода: непосредственное сканирование пластины сфокусированным электронным лучом (сканирующая электронно-лучевая литография) и электронная проекция всего изображения на пластину (проекционная электронно-лучевая литография).
Сканирующая электронно-лучевая литография
Схема сканирования электронным лучом1 – электронная пушка 2 – электромагнитная ОС 3 – кристалл | Для формирования топологического рисунка ИМС используют два способа сканирования электронного луча: растровое и векторное. При растровом сканировании электронный луч сканирует по всей поверхности кристалла, включаясь и выключаясь в соответствии с передаваемым рисунком. Максимальный размер поля сканирования d = 5 мм (ограничен глубиной фокуса электронного луча и искажениями рисунка по краям кристалла). |
При векторном сканировании электронный луч движется только в тех местах рисунка, где требуется экспонирование, т.е. выключается в местах перехода от одного элемента к другому.
| Схема растрового и векторного сканирования | Для перемещения от одного кристалла к другому используется привод пошагового перемещения, для которого шаг равен размеру кристалла (например d = 5мм). |
Проекционная электроннолучевая литография
Проекционная электроннолучевая литография основана на одновременной передаче всего топологического рисунка шаблона на пластину с электрорезистом.
| 1-электронная пушка; 2-магнитные фокусирующие линзы; 3-магнитные проекционные линзы; 4-маска (шаблон); 5 подложка | Шаблон представляет собой маску из металлической фольги с топологическим рисунком в увеличенном масштабе (10:1). ЭОС уменьшает изображение в 10 раз и проецирует его на подложку с электронорезистом. Максимальный размер поля проецирования d = 5мм. Минимальный размер элементов – 0,25 мкм. Проекционная электроннолучевая литография отличается более высокой производительностью по сравнению со сканирующей. |
Взаимодействие электронных потоков с материалами
Электронные пучки можно использовать для различных видов технологий в высоком вакууме (P = 10-2…10-4Па) за счет регулирования их параметров (энергии электронов, диаметра пучка и т.д.).
Недостатки электронно-лучевой обработки:
-
Сложность оборудования, связанная с тем, что объект обработки надо помещать в вакуум.
Достоинства электронно-лучевой обработки:
-
Универсальность (можно обрабатывать практически любые материалы).
-
Экологическая чистота (электронный луч не вносит загрязнений и не подвержен износу, контроль при помощи луча является неразрушающим).
-
Управляемость (можно регулировать энергию, фокусировку, модуляцию и отклонение электронных пучков).
Параметры электронных пучков, виды электронных технологий и электронных приборов
| Вид электронно-лучевой обработки | Энергия электронов Ee, кэВ | Диаметр пучка de, мм | Плотность мощности Pe, Вт/см2 |
Нетермическое воздействиеВторичная электронная эмиссия, эмиссия фотонов (электронная микроскопия, фотоэлектронные умножители, ЭЛТ) | 20…250 | 10-5…10-1 | 10-2…105 |
Химическое воздействиеИзменение структуры и свойств материала: полимеризация – образование более крупных молекул и деструкция – распад на более мелкие молекулы (электронно-лучевая литография – взаимодействие с электронорезистом) | 20…5000 | 10-4…300 | 10…3103 |
Плавка материалов в вакууме | 15…40 | 10…50 | 103…104 |
Испарение материалов (оборудование для нанесения плёнок в вакууме) | 10…40 | 2…30 | 2103…2104 |
Сварка в вакууме | 15…175 | 10-1…6 | 8104…107 |
Резание в вакууме | 20…150 | 510-3…10-1 | 105…1010 |
Взаимодействие ионных потоков с материалами
Ионные пучки можно использовать для направленного изменения геометрических параметров и свойств твердого тела в высоком и среднем вакууме (P = 10-2..10-4 Па), а также их контроля. Ионный пучок обычно формируется из положительных ионов практически всех элементов таблицы Менделеева вследствие большей простоты их получения и управления.
Недостатки ионно-лучевой обработки:
-
Сложность получения ионных пучков по сравнению с электронными пучками.
-
Более сложное управление ионным пучком (фокусировкой, модуляцией и отклонением) вследствие большой инерционности ионов по сравнению с электронами.
Виды ионно-лучевой обработки материала
| Вид ионно-лучевой обработки и физические эффекты при взаимодействии с материалами | Энергия ионов Eи, кэВ |
| Адсорбция или хемосорбция ионов для получения тонкоплёночных слоёв материала | 0,1…0,3 |
| Рассеяние ионов на атомах. При возбуждении атомов возникает ионолюминесценция, рентгеновское излучение (ионная спектроскопия для контроля химического состава поверхности) | 0,1…0,5 |
| Десорбция атомов и молекул для очистки поверхности от загрязнений перед операциями эпитаксии и осаждения тонких плёнок | 0,3…1 |
| Физическое распыление для строго дозированного удаления вещества с поверхности («ионного фрезерования»), нанесения тонких плёнок в вакууме | 0,5…5 |
| Химическое распыление. Ионы (H+, O+, N+, Cl+, F+) вступают в химическую реакцию с материалом поверхности. Используется для технологий ионно-химического травления, распыления, осаждения тонких плёнок | 0,5…5 |
| Эмиссия вторичных ионов для анализа химического состава вещества (ВИМС) | 0,5…5 |
| Эмиссия вторичных электронов для поддержания самостоятельного газового разряда | 0,5…5 |
| Нагрев вещества для плавления, испарения вещества мишени, отжига материалов | 0,5…10 |
| Химические реакции для ионно-лучевой литографии (взаимодействие с ионорезистом) | 0,5…10 |
| Имплантация ионов (внедрение вглубь образца) для ионного легирования материалов, получения p-n переходов в полупроводниковых материалах | > 30 |
Достоинства ионно-лучевой обработки:
-
Ионная имплантация позволяет внедрять атомы практически всех элементов, получать соединения, которые невозможно создать другими методами (диффузией, металлургическим путем).
раздел 2. Физические процессы в полупроводниковых структурах
Полупроводники – вещества, удельное электрическое сопротивление которых лежит в диапазоне ρ =10 -4.. 10 10 Ом см.. У проводников (металлов) - ρ ≤ 10-4 Ом см, у изоляторов (диэлектриков) ρ ≥ 1010 Омсм. Основные полупроводниковые материалы – германий (Ge), кремний (Si), арсенит галлия (GaAs).
Зонная модель твердых тел
Согласно квантово - механической теории твердого тела электроны в атоме не могут иметь произвольную энергию, а обладают строго определенными дискретными значениями энергии, т. е. располагаются на определенных энергетических уровнях.
В твердом теле возникают зоны разрешенных значений энергии электронов (валентная зона и зона проводимости) и запрещенные зоны.
Для идеального кристалла запрещенная зона – диапазон значений энергии, которую не может иметь электрон в атоме. Валентная зона – зона энергетических уровней, полностью занятых электронами. Зона проводимости – зона энергетических уровней, не заполненных электронами.
Для того, чтобы определить степень заполнения энергетического уровня электронами, пользуются принципом Паули: энергетический уровень атома может быть заполнен двумя электронами, имеющими взаимно противоположные направления спинов (спин – собственный момент количества движения электрона, связанный с его вращением вокруг собственной оси).
















