шпора (1075550), страница 8
Текст из файла (страница 8)
Н
а основе инвертирующего включения операц. усилителя может быть построен преобразователь напряжение - ток (рис. 5). Найдем зависимость выходного тока преобразователя iВЫХ от входного напряжения uВЫХ.
Согласно первому закону Кирхгофа, полагая операц.усилитель идеальным, можно записать:
iВХ + iОС = 0
Поскольку инвертирующий вход операционного усилителя является точкой виртуального нуля, то
iВЫХ + (uВХ / R) = 0
iВЫХ = uВХ / R
Из последнего соотношения находим: т.е. iВЫХ пропорционален uВХ.
В
схеме рис. 5 ни один из выводов нагрузки RH не заземлен. В этом случае говорят, что преобразователь имеет незаземленную нагрузку. R компенсирующего резистора RK = R || RH.
Рассмотрим неинвертирующий Ус. (рис.6).
В этой схеме имеет место последовательная отрицательная обратная связь по напряжению, которая увеличивает входное сопротивление и уменьшает выходное сопротивление усилителя. Найдем КU. Если на неинвертирующий вход подано uВХ.Н = uВХ на инвертирующем входе установится то же самое U: uВХ.И = uВХ, т.е.
Е
сли R2 = 0, а R1 = ∞, то KU = 1. Такую схему называют повторителем напряжения (рис.7).
Неинвертирующий усилитель хуже инвертирующего, так как операционный усилитель работает в нем с большим синфазным напряжением (uВХ.СФ = uВХ).
Рассмотрим дифференциальное включение операционного усилителя, которое представляет собой комбинацию инвертирующего и неинвертирующего включений (рис. 8).
При дифф-ном вкл. операц. Ус. UВЫХ пропорц-но разности uВХ2 и uВХ1 на его входах.
И
спользуя метод суперпозиции (наложения), находим выходное напряжение усилителя как сумму откликов на воздействия uВХ1 и uВХ2:
операц. усилитель в дифф-ом вкл. математическая операция вычитания.
R1 = R2 = R3 = R4 UВЫХ = -(UВХ1 – UВХ2)
R3 = R1, R4 = R2 UВЫХ = -(R2/R1)(UВХ1 – UВХ2)
RВХ по инвертирующему входу rВХ1 = R1.
RВХ по неинвертирующему входу rВХ2 = R3 + R4, т.е. rВХ2 > rВХ1 (≠).
Это нарушает симметрию Ус.
Еще одним недостаток: работа операц. Ус. при больших синфазных U-ях.
-ют схемы дифф. Ус., свободные от указанных недостатков схемы рис. 8, но они содержат 2 или 3 операц. Ус.
52. Линейные схемы на операционных усилителях: интегрирующий усилитель, дифференцирующий усилитель.
Рассмотрим идеальный интегрирующий усилитель.
По первому закону Кирхгофа:
Инвертирующий вход будет точкой виртуального нуля (неинвертирующий вход операц. усилителя имеет нулевой потенциал)
После интегрирования уравнения получим:
схема осуществляет математическую операцию интегрирования.
Т.к. амплитудно-частотная хар-ка интегрирующего усилителя имеет завал в области высоких частот, то он устойчив к самовозбуждению.
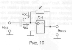
Рассмотрим идеальный дифференцирующий усилитель.
По первому закону Кирхгофа: iВХ + iОС = 0.
Т.к. инвертирующий вход будет точкой виртуального нуля:
схема математической операцию дифференцирования.
Недостатки дифференцирующего усилителя на практике:
склонность к самовозбуждению подъема амплитудно-частотной хар-ки в области высоких частот.
В обеих схемах в цепи неинвертирующего входа м.б. включен компенсирующий резистор, сопротивление которого RK = R.
70















