Михайлов В.П. - Учебное пособие по курсу ФОЭТ (1074338), страница 11
Текст из файла (страница 11)
Триодный электронный прожектор образован тремя электродами: модулятором, первым и вторым анодами. Электростатическая система фокусировки состоит из иммерсионного объектива (катод – модулятор - первый анод) и иммерсионной линзы (первый анод - второй анод) – главной проекционной линзы.
Схема триодного прожектора
Основной недостаток триодного прожектора – взаимное влияние процессов регулировки тока (яркости) и фокусировки луча. Этот недостаток устраняется в ЭЛТ более сложных конструкций.
Типы электронных прожекторов с электростатической фокусировкой
| | В электронном прожекторе с ускоряющим электродом (а) между модулятором М и первым анодом А1 расположен ускоряющий электрод УЭ. Таким образом, прожектор состоит из иммерсионного объектива (К-М-УЭ) и одиночной линзы (УЭ-А1-А2). |
Первый анод, служащий для регулировки фокусировки луча (потенциал UA 1 - несколько сот вольт), отделен от модулятора экранирующим ускоряющим электродом (с постоянным положительным потенциалом UA2 до нескольких киловольт), поэтому значительно уменьшается взаимное влияние регулировок тока (яркости) и фокусировки луча.
| | В электронном прожекторе с нулевым током первого анода (б) между модулятором и первым анодом также располагают ускоряющий электрод с постоянным потенциалом UA2,, который является электрическим экраном между иммерсионным объективом (К-М-УЭ) и одиночной линзой (УЭ-А1-А2). |
При этом значительно уменьшается влияние линз друг на друга. Вторым важным преимуществом прожектора является то, что ток первого анода практически равен 0, т.к. А1 выполнен в виде диафрагмы большого диаметра. Таким образом, при изменении UA1 отсутствует взаимное влияние потенциалов различных электродов.
| | Прожектор тетродного типа является трехлинзовым и содержит: иммерсионный объектив (К-М-УЭ1), иммерсионную линзу (УЭ1-УЭ2) и главную проекционную (одиночную) линзу. |
Потенциал первого ускоряющего электрода UУЭ1 невысок (несколько сот вольт) и определяет напряжение запирания на модуляторе UМЗ.. Преимущество тетродного прожектора - значительно более низкое напряжение запирания UМЗ (по сравнению с триодным прожектором).
Электронный прожектор с магнитной линзой
| | В электронных прожекторах с магнитной линзой используется неоднородное аксиально-симметричное магнитное поле короткой катушки, т.е. такой катушки, длина которой соизмерима с ее внутренним диаметром. |
Магнитная линза. Принцип фокусировки луча
Под действием этой силы
возникает тангенцальная составляющая скорости электрона
.
На электрон, движущийся со скоростью
во внешнем магнитном поле
(схема в) действует сила
, которая направлена по радиусу к оси линзы. Таким образом, в неоднородном магнитном поле линзы электрон движется по спирали с уменьшающимся радиусом и в некоторой т. С его траектория пересекает ось линзы. Регулируя ток в катушке и меняя тем самым величину
можно регулировать фокусное расстояние линзы.
Типы магнитных фокусирующих катушек и их магнитные поля
Для увеличения фокусирующего действия магнитной линзы, а также для концентрации магниного поля в ограниченном пространстве фокусирующие катушки содержат магнитопроводы. Такие катушки называются “панцирными”.
Преимуществами магнитных фокусирующих систем являются лучшие фокусирующие свойства и меньшие искажения изображения.
Недостатки: необходим мощный источник питания фокусирующих катушек.
Магнитные системы находят широкое применение в радиолокационных трубках.
Отклоняющие системы (ОС)
Электростатические ОС
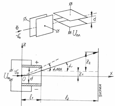
Простейшая ОС состоит из двух пар плоских параллельных пластин. Если пренебречь краевым эффектом, то E=Uпл/d. Рассмотрим движение электрона. Начальная скорость
, где UA2 - напряжение на втором аноде электронного прожектора.
Уравнение движения электронов между пластинами:
;
Решая систему уравнений, получаем:
Электрон, двигаясь по параболе, к моменту выхода из пластин отклоняется на величину z1 и далее движется по касательной к экрану, отклоняясь на величину z2. Суммарное отклонение равно:z=z1+z2.
Подставляя выражения для Е и v0, получим:
Подставляя выражения для E и v0, получим
и
Таким образом:
, где L-расстояние от середины пластины до экрана.
Чувствительность к отклонению
Чувствительность к отклонению – это коэффициент пропорциональности в функции z=f(Uпл), который характеризует отклонение луча при разности потенциалов на отклоняющих пластинах Uпл=1В.
В действительности, если не пренебрегать краевыми эффектами, электрическое поле у краев пластин искривлено и электрон подвергается его воздействию еще на некотором расстоянии от пластин, поэтому
приблизительно на 15% выше расчетной.
Максимальный угол отклонения
определяется геометрическими параметрами l1 и d пластин. Для увеличения
применяют: а) косо расставленные, б) изломанные и в) изогнутые пластины.
Если принять
ЭЛТ с изогнутыми пластинами за 1, то для изломанных, косо расставленных и плоскопараллельных пластин
соответственно будут 0.95; 0.84 и 0.51.
Магнитная отклоняющая система
| | Магнитная отклоняющая система содержит две пары катушек, надеваемых на горловину трубки и образующих магнитные поля во взаимно перпендикулярных направлениях. Рассмотрим движение электрона под действием магнитной отклоняющей системы. |
В зоне действия вектора магнитной индукции
электрон движется по окружности радиусом r:
,где v0 – начальная скорость электрона. При выходе из магнитного поля электрон продолжает движение под углом α. Отклонение электрона от оси:
- при малых α. Величина центрального угла α=S/r≈l1/r, где S-длина дуги.
Чувствительность к отклонению для магнитной системы
Чувствительность к отклонению для магнитной системы – это коэффициент пропорциональности между отклонением луча и индукцией магнитного поля:
, т.е. z=εMB .
Достоинства и недостатки электростатической и магнитной систем отклонения
Достоинства магнитных систем:
-
отклонение луча в меньшей степени зависит от скорости электрона (
) в отличие от электростатической системы (
); -
внешнее расположение магнитных катушек относительно ЭЛТ, что позволяет применять вращающиеся вокруг оси трубки ОС (например, в радиолокационных ЭЛТ).
Недостатки магнитных ОС:
-
невозможность их использования при частотах отклоняющих напряжений более 10…20 кГц;
-
потребление значительного тока и необходимость применения мощных источников питания.
Достоинства электростатических ОС:
-
возможность работы при высоких частотах напряжений (до десятков МГц);
-
более высокая экономичность по сравнению с магнитными ОС.
Недостатки электростатических ОС:
В связи с этим магнитные ОС находят применение в трубках с высоким анодным потенциалом для получения большой яркости свечения экрана.
Экраны электронно-лучевых трубок (ЭЛТ)
Экран ЭЛТ – тонкий слой люминофора, нанесенный на внутреннюю поверхность торцевой части трубки методом напыления в вакууме.
Люминофоры – вещества, способные интенсивно светиться в результате бомбардировки их электронами. В качестве люминофоров используются окиси и сульфиды цинка, магния, кремния и др. Эти вещества легируются серебром, хромом, марганцем и другими элементами. Поглощая энергию электронов проникающих в тело люминофора, электроны вещества переходят на более высокие энергетические уровни. При возвращении электронов на стационарные уровни происходит излучение атомами квантов света.
Требования к люминофорам:
-
высокая светоотдача;
-
хорошие вакуумные характеристики (малое газосодержание, возможность обезгаживания);
-
термостойкость;
-
высокий срок службы;
Потенциал экрана
При бомбардировке экрана электронами происходит вторичная электронная эмиссия с коэффициентом
, где n1,n2 - количество первичных и вторичных электронов. От величины σ зависит потенциал экрана.
| | Участок ОА: при небольших значениях ускоряющего напряжения UA2 σ<1 (энергия первичных электронов недостаточна для эмиссии вторичных электронов). На поверхности экрана скапливаются электроны и его потенциал стремится к потенциалу катода (UK=0) и свечение прекращается. |
Потенциал UA2’ называют первым критическим потенциалом.
В триодном электронном прожекторе (а) имеется иммерсионный объектив (К-М-А), в тетродном (б) – иммерсионный объектив (К-М-УЭ) и иммерсионная линза (УЭ-А). Главной проекционной линзой в обоих случаях является магнитная линза.
















