Михайлов В.П. - Учебное пособие по курсу ФОЭТ (1074338)
Текст из файла
Методические
Московский государственный технический университет
имени Н.Э. Баумана
В.П. Михайлов
физические процессы в вакууме и полупроводниковых структурах и их использование в электронных приборах и технологиях
Учебное пособие
по курсу "Физические основы электронной техники"
Москва
Издательство МГТУ имени Н.Э. Баумана
2006
содержание
Стр.
Раздел 1. Электровакуумные процессы и их
использование в электронных приборах
и технологиях 7
Основные понятия и определения 8
Физическое единство электронной техники 8
Вакуумирование рабочих объемов 11
Физические явления при вакуумировании рабочих объемов 14
Давление газа 14
Объем газа, ударяющегося в единицу времени о единицу поверхности 16
Длина свободного пробега молекул 17
Степени вакуума 18
Получение вакуума 20
Измерение давления вакуумной среды 23
Сорбционные и термовакуумные процессы 25
Растворимость газов в твердых телах. Газопоглощение и
газовыделение на границе «газ – твердое тело» 28
Диффузия газов в твердых телах 29
Рекомендуемые режимы обезгаживающего прогрева 32
Формирование потоков заряженных частиц в вакууме 37
Электронная эмиссия 37
Физическая сущность работы выхода электронов Авых 38
Виды электронных эмиссий 40
-
Термоэлектронная эмиссия 40
-
Электростатическая (автоэлектронная) эмиссия 41
-
Вторичная электронная эмиссия 42
-
Фотоэлектронная эмиссия 43
Стр.
Законы фотоэлектронной эмиссии 43
Катоды электронных устройств 45
Конструкции катодов 46
Основные типы катодов 47
Физические процессы в электровакуумном диоде 54
Физические процессы в трехэлектродной лампе (триоде) 58
Статические характеристики триода 61
Статические параметры электронных ламп 64
Физические процессы в многоэлектродных лампах 67
Статические характеристики многоэлектродных ламп 70
Статические параметры многоэлектронных ламп 72
Электрический разряд в вакууме, основные явления 75
Виды электронных приборов и технологий на основе
электрического разряда в вакууме 79
Технология ионного травления 85
Технология ионного распыления для осаждения тонких пленок 86
Использование газоразрядной плазмы для формирования ионных пучков 86
Формирование пучков электронов в электронно-лучевых
приборах и для электронных технологий 89
Фокусирующие системы 92
Электронные линзы 93
Закон Лагранжа-Гельмгольца для электронных линз 95
Типы электронных прожекторов с электростатической
фокусирующей системой 97
Электронный прожектор с магнитной линзой 99
Отклоняющие системы (ОС) 101
Электростатические ОС 101
Магнитная отклоняющая система 103
Стр.
Экраны электронно-лучевых трубок (ЭЛТ) 105
ЭЛТ различного назначения 110
Приёмная цветная электронно-лучевая трубка (ЦЭЛТ) 111
Технологический процесс изготовления ЦЭЛТ 113
Электронные пушки 116
Типы электронных пушек 117
Конфигурации электронных пучков 119
Формирование ленточного пучка 120
Формирование клиновидного пучка 123
Формирование цилиндрического пучка 125
Формирование конического пучка 127
Сканирующая электронно-лучевая литография 130
Проекционная электроннолучевая литография 130
Взаимодействие электронных потоков с материалами 131
Взаимодействие ионных потоков с материалами 132
Раздел 1. Физические процессы в полупроводниковых
структурах 134
Зонная модель твердых тел 134
Собственные и примесные полупроводники 135
Кристаллические структуры типа алмаза и типа цинковой обманки 137
Индексы Миллера 137
Статистика подвижных носителей заряда 138
Концентрация носителей зарядов в примесных полупроводниках 144
Идеальный p-n – переход 147
Прямое включение внешнего источника напряжения 151
Обратное включение напряжения 152
ВАХ идеального p-n перехода 154
Стр.
Физические процессы в диоде 154
Диод при подключении обратного напряжения 154
Диод при подключении прямого напряжения 156
Биполярный транзистор 158
Токи в транзисторе 159
Полевые транзисторы 160
Выходные характеристики МОП-транзистора с индуцированным
каналом 163
МДП транзисторы со встроенным каналом 163
Выходные (стоковые) характеристики МДП-транзистора со
встроенным каналом 165
Полевые транзисторы с управляющим p-n переходом 165
Статические характеристики транзистора с управляющим p-n-переходом 166
Технология изготовления интегральных микросхем (ИМС) 168
Этапы технологического процесса изготовления ИМС 168
Рекомендуемая литература 171
Раздел 1.
Электровакуумные процессы и их использование
в электронных приборах и технологиях
Электроника – это научно-техническое направление, которое объединяет методы исследования, разработки, производства электронной техники и на основе которого развиваются отрасли производства, такие как машиностроение, приборостроение, атомная энергетика, строительство, художественное производство и т.д.
Классификация составных частей современной электроники
Основные понятия и определения
Электронный прибор (ЭП) – это устройство, действие которого основано на использовании электрических, тепловых, оптических, акустических и других явлениях в твёрдом теле, жидкости, вакууме, газе или плазме. ЭП используются как элементы электронных систем и, как правило, не подлежат сборке, разборке или ремонту.
Электронные системы (ЭС) - это устройства для выполнения определенных функций (передачи изображения, звука, управления объектами и т.д.) и представляющие собой совокупность ЭП.
Электронные технологии (ЭТ) – это процессы обработки материалов высокоэнергетическими потоками частиц (электронами, ионами, молекулами, атомами), плазмой и различными видами излучений (оптическим, гамма, рентгеновским).
Применяют наименования «электронно-плазменные, ионно-плазменные», «элионные» технологии, однако наименование «электронные технологии» получило распространение как наиболее простое. К электронным технологиям также относят ряд нетрадиционных процессов, возникших и отработанных первично в электронной промышленности. Среди них важнейший – это вакуумирование рабочих объёмов.
Физическое единство электронной техники
Существует физическое единство электронных технологий и электронных приборов. Рассмотрим некоторые виды электронных приборов и технологий с точки зрения общих физических признаков.
-
Электровакуумный триод
-
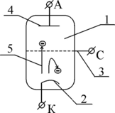
Электронно-лучевая трубка
| 1 – вакуумная среда 2–электронно-оптическая система (ЭОС) 3 – отклоняющая система 4 – экран с люминофорным покрытием 5 – траектория электронов |
-
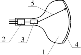
Установка электронно-лучевой литографии
| 1 – вакуумная среда 2 – катодный узел 3 – магнитный узел 4 – полупроводниковая подложка с резистом 5 – траектория электронов |
-
Установка фотолитографии
| 1 – воздух 2 – ртутная лампа высокого давления 3 – фотошаблон 4 – подложка с фоторезистом 5 – траектория электромагнитного излучения |
-
Биполярный транзистор
| 1 – п/п материал (Si) 2 – эмиттер 3 – база 4 – коллектор 5 – траектории подвижных носителей заряда (электронов) 6 – эмиттерный переход 7 – коллекторный переход |
-
Общая схема ЭП и технологического оборудования,
использующего ЭТ
| 1 – среда (вакуум, воздух, полупроводник и т.д.) 2 – источник заряженных частиц (электронов, ионов) или электромагнитного излучения 3 – устройство управления потоком заряженных частиц или электромагнитного излучения 4 – объект воздействия 5 - поток заряженных частиц или электромагнитного излучения |
Таким образом, изучение курса построено по следующему принципу:
Сначала представлен ряд физических явлений:
-
вакуумирование замкнутых объёмов;
-
формирование потоков заряженных частиц или электромагнитного излучения;
-
управление потоками при помощи электромагнитных полей или шаблонов;
-
взаимодействие потоков с мишенями.
Затем рассмотрены ЭП и ЭТ, в которых эти физические явления используются.
Цель курса – изучение физических основ современных электронных технологий и электронных приборов, методов их разработки и использования в различных отраслях промышленности.
Задачи курса:
-
изучение основных физических явлений, лежащих в основе электроники;
-
изучение типовых электронных технологий;
-
изучение конструкции и принципа действия основных видов электронных приборов.
Вакуумирование рабочих объемов
Вакуум - газовая среда с давлением ниже атмосферного (P<Pатм), которая используется в технологии производства практически всех ЭП (ЭВП, ПП, ИМС и др.) и других изделий и которая необходима для работы ЭВП.
Согласно ГОСТ 8.417-81: 1Па=1Н/м2; 1бар=105Па [Н/м2] = 750 мм рт. ст. =750 тор; 1тор=133,3Па.
Свойства вакуума (с позиции реализации в нем технологических процессов):
-
Вакуум предохраняет нагреваемые поверхности (нити накала, катоды и др.) от окисления, перегорания;
-
Вакуум позволяет формировать потоки заряженных и нейтральных частиц;
-
Благодаря вакууму потоки заряженных частиц могут беспрепятственно преодолевать межэлектродные расстояния (при этом они могут ускоряться, фокусироваться и отклоняться по заданной траектории);
-
Вакуум позволяет сохранить чистоту обрабатываемой поверхности материала или элементов ЭП (обеспечить отсутствие сорбированных молекул газа, паров углеводорода и воды, оксидов и др.) для технологических процессов диффузионной сварки, выращивания монокристаллов полупроводников, формирования элементов топологии на полупроводниковой пластине, обеспечения работы ЭП и т. д.
Требования ЭТ к вакууму
| Технологический процесс | Давление, Па | Название вакума |
| Электронно-лучевая обработка а) сварка б) размерная обработка, резка в) плавка, зонная очистка г) электронная литография | 10-3 10-3 10-3 10-5 | ВВ (высокий) ВВ ВВ СВВ (сверхвысокий) |
| Ионная обработка а) очистка б) травление в) имплантация г) ионная литография | 10-2 10-2 10-3 10-5 | ВВ ВВ ВВ СВВ |
| Выращивание монокристаллов | 10-4 | ВВ |
| Нанесение тонких пленок а) нанесение пассивных элементов б) нанесение оптических элементов в) молекулярно-лучевая эпитаксия | 10-3 10-6 10-9 | ВВ СВВ СВВ |
| Контроль качества поверхности в вакууме а) сканирующая СВВ туннельная микроскопия б) атомно-силовая СВВ микроскопия | 10-8... 10-10 10-8... 10-10 | СВВ СВВ |
| Сборка фотоэлектронных приборов (приборы ночного видения) | 10-10 | СВВ |
| Вакуумная сушка | 101 | СВ (средний) |
| Вакуумная упаковка продуктов | 103 | НВ (низкий) |
Требования ЭП к вакууму
| ЭВП | Давление, Па | Название вакуума |
| Газонаполненые лампы накаливания Газотроны, люминесцентные лампы, газовые лазеры Электронно-лучевые трубки, приемно- усилительные лампы Лампы бегущей волны, магнетроны, клистроны Фотоэлектронные приборы | 104 10-1 10-5 10-7 10-10 | НВ СВ СВВ СВВ |
Принципиальные схемы систем вакуумной откачки
Характеристики
Тип файла документ
Документы такого типа открываются такими программами, как Microsoft Office Word на компьютерах Windows, Apple Pages на компьютерах Mac, Open Office - бесплатная альтернатива на различных платформах, в том числе Linux. Наиболее простым и современным решением будут Google документы, так как открываются онлайн без скачивания прямо в браузере на любой платформе. Существуют российские качественные аналоги, например от Яндекса.
Будьте внимательны на мобильных устройствах, так как там используются упрощённый функционал даже в официальном приложении от Microsoft, поэтому для просмотра скачивайте PDF-версию. А если нужно редактировать файл, то используйте оригинальный файл.
Файлы такого типа обычно разбиты на страницы, а текст может быть форматированным (жирный, курсив, выбор шрифта, таблицы и т.п.), а также в него можно добавлять изображения. Формат идеально подходит для рефератов, докладов и РПЗ курсовых проектов, которые необходимо распечатать. Кстати перед печатью также сохраняйте файл в PDF, так как принтер может начудить со шрифтами.
















