Методические указания по лабораторным работам ФОЭТ (1074337), страница 2
Текст из файла (страница 2)
Рис.5. Схемы тепловых преобразователей давления:
а - термопарного; б – преобразователя сопротивления
Рис. 6. Градуировочная кривая термопарного преобразователя
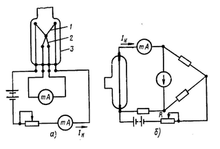
Существует две схемы ионизационных преобразователей: с внутренним и внешним коллектором.
Схема с внутренним коллектором (рис. 7 а) аналогична обычному триоду. Коллектором ионов является сетка, на которую подается относительно катода отрицательное напряжение в несколько десятков вольт, а на анод – положительное напряжение 100 – 200 В. Электроны на своем пути от катода к аноду Ie соударяются с молекулами остаточных газов, ионизируя их. Образовавшиеся положительные ионы попадают на сетку, создавая ионный ток Iи, измеряемый гальванометром.
В схеме с внешним коллектором (рис. 7 б) потенциалы сетки и анода меняются местами, и коллектором становится анод. Электроны, летящие к сетке, совершают вокруг ее витков ряд колебаний, что увеличивает длину траектории электронов и повышает вероятность ионизации молекул остаточных газов. Это делает схему с внешним коллектором более чувствительной.
Рис.7. Схемы ионизационных преобразователей:
а - с внутренним коллектором; б - с внешним коллектором
Схематично конструкция ионизационного преобразователя с внешним коллектором представлена на рис. 8 а. Коллектор ионов 1 имеет форму цилиндра. Сетка 2 имеет форму спирали, катод 3 вольфрамовый. Для уменьшения фоновых токов используется преобразователь с осевым коллектором (рис. 8 б).
Чувствительность датчика можно значительно увеличить, если поместить преобразователь в магнитное поле (рис. 8 в), создаваемое катушкой 2. Электроны от катода 4 к аноду 3 в этом случае движутся по спирали. Коллектор 1 расположен в верхней части баллона.
Ионизационные преобразователи имеют неодинаковую чувствительность к различным газам, так как эффективность ионизации зависит от рода газа. Основные параметры ионизационного преобразователя ПМИ-2 приведены в таблице 3
Таблица 3
| Параметр | Значения параметра |
| Ток эмиссии электронов Ie, мА Верхний предел измерения, Па Нижний предел измерения, Па | 5 1 10-5 |
Рис.8. Конструктивные схемы ионизационных преобразователей:
а – с внешним коллектором; б – с осевым коллектором; в – с магнитным полем
Найдем уравнение ионизационного преобразователя. Число образованных ионов:
где Р – давление, Па;
ne – число электронов;
- эффективность ионизации, м-1Па-1;
l – длина траектории, м.
Эффективность ионизации - количество ионов, образованных электроном при давлении 1 Па и длине траектории электрона равной 1 м.
Разделив уравнение на время t, получим уравнение ионизационного преобразователя:
где Iu,Ie – ионный и электронный ток, А;
k – чувствительность ионизационного преобразователя (
, Па-1).
Чувствительность ионизационного преобразователя – количество ионов, образованных электроном при давлении 1 Па. Чувствительность преобразователя к различным атмосферным газам приведена в табл. 4.
где Ка – постоянная ионизационного преобразователя, AПа-1.
Схема экспериментального стенда для изучения форвакуумной откачки (с давлением газа в диапазоне 102…100 Па) представлена на рис.9 и состоит из механического насоса NI, тарельчатого клапана VT, вакуумной камеры CV, термопарного вакуумметра PT и натекателя VF.
Рис. 9. Схема экспериментального стенда для форвакуумной откачки
Практическая часть работы
-
Записать основные данные вакуумметров и датчиков:
| Тип датчика | ||
| Марка датчика | ||
| Марка вакуумметра | ||
| Средний | Диапазон измеряемых давлений | P max= P min= |
| вакуум | Ток накала (замерить, см. ниже) | Iн= |
| Постоянная времени (измерить) | (P=10-1 Па) = | |
| Тип датчика | ||
| Марка датчика | ||
| Марка вакуумметра | ||
| Высокий | Диапазон измеряемых давлений | P max= P min= |
| вакуум | Ток эмиссии | Ie= |
| Постоянная манометра | Ka= | |
| Быстрота откачивающего действия (рассчитать) | S= |
2. Определить ток накала и постоянную времени термопарного датчика.
Для этого:
а) Подключить к прибору запаянный термопарный датчик (с давлением в колбе P<10-1 Па).
б) Переключить тумблер в положение “Измерение “ и определить, как надо регулировать ток накала (если стрелка слева от деления 10-1 Па - надо увеличить ток и наоборот). Установить стрелку прибора у деления 10-1 Па (при этом ЭДС термопары составляет примерно 96 мВ).
в) Переключив тумблер в положение “Ток накала “, измерить это значение тока накала Iн, которое является рабочим .
г) Записать рабочее значение тока накала Iн в таблицу.
д) Уменьшить ток Iн регулировкой соответствующей ручки до минимума.
е) Подождать 3 минуты для охлаждения вакуумметра.
ж) Быстро вернуть Iн в исходное положение (рабочий Iн).
з) Переключив тумблер в положение “ Измерение “ замерить постоянную времени манометра (время выхода стрелки в стационарное положение).
3. Определить среднюю быстроту откачивающего действия датчика ПМИ-2.
Для этого:
а) Подключив прибор ВИТ-2 к запаянному датчику ПМИ-2 , после предварительного прогрева датчика, измерить в нем давление.
б) Оставив датчик включенным, следить за изменением давления в течение 2 ... 5 мин, фиксируя показания Р и время t в таблице.
| t, сек | 0 | 5 | 10 | 20 | 30 | 40 | 50 | 60 | 120 | 180 |
| Р, Па | ||||||||||
| S, л/сек |
в) Рассчитать по полученным показаниям среднюю быстроту откачивающего действия по формуле:
где V - объем колбы датчика, [л].
г) Записать полученные значения S в таблицу.
-
Провести экспериментальные исследования зависимости давления Р в вакуумной камере CV (рис. 9) от времени t при откачке механическим вакуумным насосом 2НВР-5ДМ и измерении давления термопарным преобразователем ПМТ-2. Построить график зависимости Р(t), определить предельное давление вакуумной системы Р'.
-
Определить среднее значение давления воздуха Рв в запаянной колбе ионизационного преобразователя ПМИ-2 (по данным п.3) и ионного тока Iи, используя формулу Iи=РвIekв, где kв - чувствительность ионизационного преобразователя к воздуху. Определить цену деления шкалы прибора Цдел. = Iи/кол-во дел. для измерения давления других газов по формуле: Рг=Iи/(Iekг), где kг - чувствительность ионизационного преобразователя к различным газам, значения которой приведены в таблице 4.
Таблица 4
| Газ | N2 O2 Ar He H2 CO Воздух |
| kг ,Па-1 | 0,22 0,23 0,27 0,025 0,082 0,24 0,17 |
Лабораторная работа № 2
Измерение быстроты откачки двумя методами
Цель работы – изучение методов измерения одного из основных параметров вакуумной системы – быстроты откачки вакуумной камеры.
Быстротой откачки вакуумной камеры называется объем газа, выходящего из нее через вакуумный трубопровод в единицу времени. Если вакуумный насос присоединен непосредственно к вакуумной камере, то быстрота откачки будет равна быстроте действия насоса.
Быстрота откачки измеряется двумя основными методами: методом постоянного давления и методом постоянного объема.
Метод постоянного давления
Метод постоянного давления является достаточно точным и простым, и используется также для определения быстроты действия насосов. Типовая схема установки при измерении этим методом показана на рис. 10.
Рис. 10. Схема установки для измерения быстроты откачки методом постоянного давления
Установка содержит вакуумную систему 1, камеру 2, датчик давления 3, натекатель 4, бюретку 5, клапан для напуска газа 6, резервуар 7 с жидкостью.
Насос 1 откачивает вакуумную камеру 2, быстроту откачки которой надо измерить. Требуемое давление Р, при котором измеряют быстроту откачки, устанавливается регулировкой натекателя 4. Для измерения давления в камере 2 служит датчик 3. Регулируя натекатель 4, изменяют газовый поток Q, натекающий в вакуумную камеру 2 из бюретки, в которой первоначально было атмосферное давление.
Для стационарного потока газа Q, проходящего также через входное сечение трубопровода можно записать:
S P = Q; S = Q/P; (3)
где S – быстрота откачки, м3 с-1
P – давление в вакуумной камере, Па.
При закрытом кране 6 в процессе откачки уровень масла в бюретке будет повышаться. Давление Рб в бюретке будет равно:
Рб = Ратм - gh, (4)
















