Методические указания по лабораторным работам ФОЭТ (1074337), страница 3
Текст из файла (страница 3)
где Ратм – атмосферное давление, Па;
–плотность вакуумного масла в бюретке, кг/м3;
g – ускорение свободного падения, м/с2;
h – разность уровней масла в бюретке и резервуаре, м.
Если выполняется условие Ратм » gh, то давление в бюретке Рб = Ратм и поток газа через бюретку равен:
Q = Ратм V /, (5)
где V - приращение объема масла в бюретке за время , м3;
-
- время измерения подъема масла, с.
Тогда быстрота откачки вакуумной камеры:
S = Ратм V /(P). (6)
Метод постоянного объема
Метод постоянного объема является квазистационарным, так как вакуумная система в процессе определения быстроты откачки работает в неустановившемся режиме.
Для определения быстроты откачки вакуумной камеры фиксируют изменение давления в камере объемом V0 от времени и строят график этой зависимости (рис. 11).
Рис. 11. График зависимости давления в вакуумной камере от времени
На шкалах целесообразно ставить абсолютные значения давления, а не их логарифмы. Время откачки для идеальной системы:
где Р1, Рх – значения давлений через интервал времени t.
На практике через некоторое время после начала откачки ее эффективная быстрота начинает убывать по мере приближения к предельному давлению Р’, поэтому задачей исследования является определение быстроты откачки как функции давления Р в камере. Для расчета быстроты откачки необходимо преобразовать формулу (7):
где - угол, образуемый на графике касательной к кривой откачки с осью абсцисс в заданной точке (tx, lg Px).
Для обработки полученной кривой откачки графическим методом обычно проводят ряд касательных к ней в интересующих точках, а величину tg находят как отношение:
Практическая часть работы
Метод постоянного давления
1. Записать основные исходные данные:
| Диапазон рабочих давлений установки | Pmax= Pmin = |
| Вакуумметр: тип, марка | |
| Манометр: тип, марка | |
| Атмосферное давление | |
| Насос форвакуумный: тип, марка | |
| Паспортная быстрота действия ф.в. насоса, м3 сек-1 | |
| Предельное давление форвакуумного насоса, Па |
2. Записать данные бюретки:
| Объем бюретки, м3 | |
| Общее число делений на градуированной части | |
| Объем одного деления бюретки, м3 | |
| Удельный вес жидкости в бюретке, кг/м3 |
-
Плавно поворачивая маховик натекателя установить давление P = Па в вакуумной камере;
-
Перекрыть кран 6 и замерить время начала отсчета;
-
Зафиксировать время подъема масла на n = делений = с и определить объем вошедшего в бюретку масла V = м3;
-
Опустить уровень масла в исходное положение,открыв кран 6;
7. Повторить опыт (п.п.4-6) три раза, найти ср.=
Примечание: количество делений n во всех опытах должно быть постоянно.
8. Определить приближенное значение быстроты откачки по формуле (6).
Метод постоянного объема
1. Записать основные данные вакуумной установки:
| Расчетный внутренний объем вакуумной камеры, м3 | |
| Вакууметр: тип, марка | |
| Манометр: тип, марка | |
| Начальное давление, Па | |
| Предельное давление системы, Па | |
| Насос форвакуумный: тип, марка | |
| Паспортная быстрота действия ф.в. насоса, м3 сек-1 | |
| Предельное давление форвакуумного насоса, Па |
2. Предварительно включив датчик, с помощью натекателя, установить в рабочей камере требуемое начальное давление P0;
3. Быстро закрыв натекатель, фиксировать давление в камере через равные промежутки времени. Данные замеров свести в таблицу:
| Время, с | |||||
| Давление P, Па |
4. Построить график зависимости lgP=f(t) в полулогарифмических координатах;
5. Методом графического дифференцирования определить быстроту откачки для четырех значений давления Р;
6. Построить зависимость S=f(P) по точкам, соответствующим значениям P.
Лабораторная работа № 3
характеристики тлеющего разряда
Цель работы - изучение физических явлений при тлеющем разряде в низком и среднем вакууме для его использования в технологиях ионно-плазменного травления и распыления материалов.
Тлеющий разряд относится к самостоятельному разряду и наблюдается только в приборах и технологических установках с холодным катодом. Для получения самостоятельного разряда к электродам достаточно приложить разность потенциалов. Для возникновения и развития тлеющего разряда достаточно небольшого количества свободных электронов, которые всегда есть в газовой камере.
Схема самостоятельного газового разряда представлена на Рис. 12.
Рис.12. Схема самостоятельного газового разряда: e – электрон; MX - молекула; M - атом; M - радикал; X - отрицательный ион; M+ - положительный ион; M* - возбужденный атом; h - фотон; Ee = kTe - энергия (температура) электрона; Eиониз. - энергия ионизации атомов; h - величина темного катодного пространства; ne и ni - концентрация электронов и ионов соответственно; kTi - энергия (температура) иона; w - плотность мощности; p - давление плазмообразующего газа; ki - коэффициент ионизации
Основными участками тлеющего разряда является катодная область (область катодного свечения, темное катодное пространство), столб разряда (плазма) и анодная область (темное фарадеево пространство, область положительного свечения). В результате того, что положительные ионы движутся медленнее электронов, в катодной области формируется положительный объемный заряд, который образует катодное падение потенциала. Катодная область является источником электронов за счет поверхностной ионизации.
Столб разряда представляет собой плазму, в которой потенциал электронов и положительно заряженных ионов равны, а падение напряжения мало. Газ интенсивно светится в результате излучения энергии атомами при переходе электронов с высоких энергетических уровней на стационарные. В анодной области наблюдается небольшое падение потенциала. Напряжение зажигания тлеющего разряда зависит от рода газа и произведения давления на расстояние между электродами. Эта зависимость иллюстрируется кривыми Пашена (Рис.13).
Рис.13. Кривые Пашена
Общий разрядный ток в межэлектродном пространстве установки вакуумного напыления УВН - 1 (рис.14):
Iр=Iф + Iи + Iв, (10)
где Iф - фоновый ток автоэлектронной эмиссии (не зависящий от давления), Iи - ионный ток, образованный ионами в результате объемной ионизации, Iв - ток вторичной электронной эмиссии, образованный в результате поверхностной ионизации.
Ионный ток и ток вторичной электронной эмиссии зависит от давления, поэтому, пренебрегая фоновым током можно записать:
Iр= Iи + Iв = А рn, (11)
где А, n – постоянные, зависящие от геометрических параметров электродов, рода газа, наличия и напряженности магнитного поля в межэлектродном пространстве.
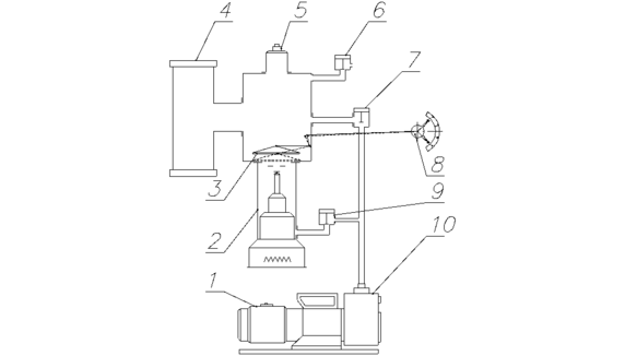
Рис. 14. Установка УВН -1:
-
– электродвигатель вакуумного насоса; 2 – насос диффузионный; 3 – затвор высоковакуумный; 4 - камера рабочая; 5 – преобразователь давления инверсионно-магнетронный; 6 - натекатель для напуска рабочего газа; 7 – вентиль; 8 – рукоятка управления; 9 - вентиль; 10 - насос механический пластинчато-роторный
Практическая часть работы
-
Откачать рабочую камеру до давления 5 … 10 Па;
-
Подать напряжение ~ 1 кВ на электрод и зажечь тлеющий разряд;
-
Измерить ток разряда;
-
Прекратить откачку камеры, закрыв затвор высоковакуумный 3;
-
Удерживая напряжение разряда стабильным, измерить ток разряда при увеличении давления через каждые 30 Па. Результаты измерений занести в таблицу 5;
-
По полученным точкам построить график зависимости тока разряда от давления;
Таблица 5
| Давл. Па | 10 | 40 | 70 | 100 | 130 | 160 | 190 | 220 | 250 | 280 |
| Ток, мА |
-
Экспериментально исследовать зависимость напряжения зажигания тлеющего разряда Uз от давления Р. Результаты измерений занести в таблицу 6. Построить график зависимости Uз(Pd) (кривую Пашена), где d – расстояние между анодом и катодом. (принять d=0,2 м).
Таблица 6
| Давл. Па | 10 | 40 | 70 | 100 | 130 | 160 | 190 | 220 | 250 | 280 |
| Uз, В |
Лабораторная работа № 4
Термовакуумные процессы при обезгаживающем прогреве
Цель работы - изучение термовакуумных процессов при обезгаживающем прогреве электровакуумных приборов (ЭВП).
При обезгаживающем прогреве материала наблюдается десорбция газа как с поверхности, так и из приповерхностного слоя твердого тела. При газовыделении из толщи материала происходит нестационарный процесс диффузии, при котором объемная концентрация газа С в каждой точке твердого тела меняется во времени. Характер изменения объемной концентрации С и толщины обезгаженного слоя в приповерхностном слое материала показан на рис.15. Удельный поток газовыделения q из приповерхностного слоя, обусловленный диффузией растворенного газа, определяется выражением:
q = D dC/dx = D(C0-C1)/ = D0exp(-Eд/(jRT))(C0-C1)/ , (12)
где D – коэффициент диффузии газа; dC/dx – градиент объемной концентрации газа; C0,C1 – начальная объемная концентрация газа в твердом теле и на поверхности; - толщина обезгаженного слоя; D0 – константа диффузии; Eд – энергия активации диффузии; j – число атомов в молекуле газа для металла (j=2) и j=1 – для неметалла; R – универсальная газовая постоянная; T – абсолютная температура твердого тела.
Толщину обезгаженного слоя можно найти как:
где t - время прогрева.
Рис.15. Распределение объемной концентрации газа в приповерхностном слое материала
Таким образом, удельный поток газовыделения q из приповерхностного слоя экспоненциально зависит от температуры твердого тела Т (увеличивается с ростом Т), а также от времени прогрева t (уменьшается с ростом t).
















