Из пособия. (1073712)
Текст из файла
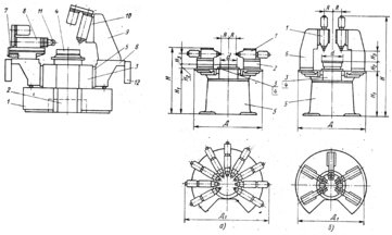
Рисунок 1. Компоновка агрегатного станка А26-01
1 – Прямоугольная тумбовая станина
2 – Продольный делительный стол
3 – Подвесные горизонтальные кронштейны
4 – Силовые головки
5 – Насосная установка
6 – Блоки управления
Компоновки малогабаритных агрегатных cтанков
Рисунок 6. Компоновки малогабаритного многопозиционного агрегатного станка с применением силовых головок ГСМ-01 и ГСМ-03.
Рисунок 7. Компоновки малогабаритных многопозиционных агрегатных станков с горизонтальным (а) и вертикальным (б) расположением силовых головок УМ-4000 и УМ-4001
Таблица 1
| Тип головки | Расположение силовой головки | D | D1 | d | H |
| УМ-4000 | Рисунок 7, а Рисунок 7, б | 1100 | 1565-1645 980-1090 | 320 | 965-1065 1600 |
| УМ-4001 | Рисунок 7, а Рисунок 7, б | 1250 | 1780-1890 1020-1120 | 400 | 1010-1165 1950 |
Продолжение таблицы 1
| Тип головки | Расположение силовой головки | H1 | H2 | HS | R |
| УМ-4000 | Рисунок 7, а Рисунок 7, б | 800 | 75 | 90-180 30-235 | 105-185 130-185 |
| УМ-4001 | Рисунок 7, а Рисунок 7, б | 800 | 175 | 35-180 35-190 | 80-185 150-200 |
Принцип агрегатирования дает возможность разрабатывать оптимальные технологические процессы обработки с учетом характера производства и в соответствии с этим создавать необходимые компоновки агрегатных станков. Все конструкции и компоновки агрегатных станков для обработки деталей приборов можно классифицировать на следующие группы станков: а) с неподвижно установленной обрабатываемой деталью и с одновременной или последовательной работой силовых головок; б) с поступательным перемещением обрабатываемой детали и с последовательной работой силовых головок; в) с вертикальной осью вращения поворотно-делительного стола и с последовательной работой силовых головок (при этом на поворотной части столов может быть установлена одна обрабатываемая деталь, ось вращения которой совпадает с осью стола, или несколько обрабатываемых деталей, расположенных на одинаковом расстоянии от центра стола).
На базе унифицированных сборочных единиц ХЗАС изготовляет малогабаритные агрегатные станки для обработки деталей приборов. Комплект унифицированных сборочных единиц позволяет создать малогабаритные станки различной компоновки с горизонтальным, вертикальным или наклонным расположением силовых головок.
На рисунке 6 показана компоновка многопозиционного малогабаритного станка с наклонными и горизонтальными силовыми головками. В основании 1 расположен выдвижной бак 2 охлаждения со стружкосборником и станина 3 четырех-, шести-, восьми-или двенадцатигранная. На станине 3 - основной несущей корпусной детали установлены поворотно-делительный стол 4 СД-320 (СД-200 или СД-500) с ограждением и кожухом, а также подвижные кронштейны для горизонтально расположенных силовых головок. Установленные на гранях станины 3 подвижные кронштейны состоят из салазок 5, обеспечивающих перемещение по станине на величину 10 мм, и кронштейнов 6, перемещающихся вертикально относительно салазок 5 на величину 100 мм.
При горизонтальном расположении силовых головок на кронштейне 6 устанавливают подкатной стол 7 с силовой головкой 8 ГСМ-01 или ГСМ-03. Подкатной стол СП-03-100 с гидравлическим приводом подачи предназначен для сообщения силовой головке дополнительного ускоренного перемещения, но может быть использован и в качестве силового стола. Наибольшая величина хода подкатного стола с силовой головкой 150 мм. При вертикальном расположении силовой головки на кронштейн 6 устанавливают стойку 9, а на нее подкатной стол с силовой головкой. Для наклонного расположения силовых головок применяют угловые переходники 10. В чертежах комплекта базовых корпусных деталей предусмотрены повышенные требования к плоскостности, параллельности и взаимной перпендикулярности их базовых поверхностей, что обеспечивает возможность сборки станка без подгонки. Это позволяет быстро и легко производить перекомпоновку агрегатного станка при смене обрабатываемых деталей, что особенно важно для серийного производства.
При необходимости силовая головка ГСМ-03 может быть оснащена многошпиндельной или фрезерной насадкой 11. В комплект станка входят гидростанция и гидропанели управления 12 силовыми головками и подкатными столами. Гидропанели управления устанавливают на гидростанции или на соответствующих кронштейнах 6. Электрооборудование агрегатного станка предусматривает широкий набор программ, осуществляемый переключением тумблеров на панели управления. Малогабаритные многопозиционные агрегатные станки можно компоновать также с применением силовых головок УМ-4000 и УМ-4001. Пример компоновки такого станка при горизонтальном расположении силовых головок приведен на рисунке 7, а (наибольшее число силовых головок в одной компоновке - 9). Сборочные единицы, входящие в компоновку: 1 - силовые головки УМ-4000 или УМ-4001; 2— плита АУ-110 или АУ-111 (возможна компоновка агрегатного станка при горизонтальном расположении силовых головок, без плит); 3 — поворотный стол АУ-220 или АУ-230; 4 — редуктор АУ-241-10 (при установке поворотного стола АУ-220); 5 — станина АУ-127 или АУ-128.
Размеры нормализованных сборочных единиц и агрегатного станка при различном расположении силовых головок приведены в таблице 1.
При вертикальном расположении силовых головок (рисунок 7,б) на станину 5 вместо плит 2 устанавливают стойки 6 типа АУ 311-120 (для силовых головок УМ-4000) или АУ-311-121 (для силовых головок УМ-4001). Наибольшее число силовых головок при этой компоновке - 5.
Возможна компоновка агрегатного станка одновременно с вертикальным и горизонтальным расположением силовых головок (до пяти вертикальных и горизонтальных силовых головок в одной, компоновке).
Многошпиндельные зубчатые головки для сверления равноудаленных от центра отверстий
Рисунок 9. Многошпиндельные зубчатые головки
для сверления равноудаленных от центра отверстий:
а — при больших расстояниях от центра; б — при малых расстояниях от центра
Рисунок 9,а:
1 – Корпус
2 – Крышка
3 – зубчатое колесо
4 – Рабочие шпиндели
Рисунок 9,б:
1 – Бронзовый вкладыш
2 – Бронзовый вкладыш
3 – Шейка шпинделя
4 – Шейка шпинделя
5 – Приводной валик-колесо
6 – Шарик
7 – Шайба
8 – Корпус
9 – Фетровая рубашка
10 – Втулка
11 – Крышка
12 – Направляющая колонка
13 – Направляющая колонка
14 – Упор
15 – Упор
16 – Кондукторная плита
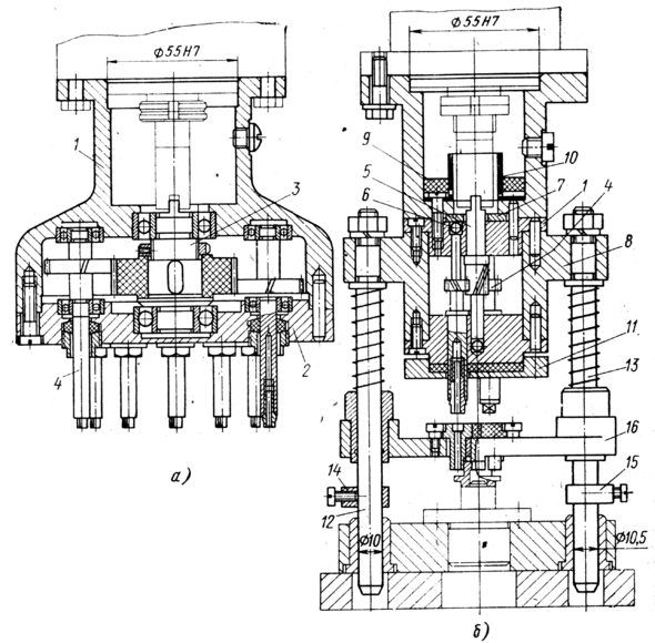
Малогабаритная кривошипная головка
Рисунок 10. Малогабаритная кривошипная головка.
1 – Рабочие шпиндели
2 – Поводок
3 – Диск
Специальные многошпиндельные головки. В зависимости от привода рабочих шпинделей специальные многошпиндельные головки подразделяют на зубчатые и кривошипные. Конструкции головок с зубчатым приводом целесообразно применять при обработке концентрично расположенных отверстий. При обработке произвольно расположенных отверстий необходимо применять многошпиндельные головки с кривошипным приводом.
В зависимости от характера расположения осей обрабатываемых отверстий применяют комбинированные многошпиндельные головки, в которых имеется как зубчатый, так и кривошипный привод вращения шпинделей. Конструкции многошпиндельных головок для обработки отверстий малого диаметра в деталях из алюминиевых и медных сплавов значительно отличаются от конструкций многошпиндельных головок, применяемых в машиностроении.
На рисунке 9, а изображена конструкция специальной зубчатой головки, предназначенной для сверления 12 отверстий диаметром до 3 мм, равномерно расположенных по окружности. Головка состоит из соединенных между собой корпуса 1 и крышки 2, внутри которых установлены центральное зубчатое колесо 3 и рабочие шпиндели 4. От шпинделя станка крутящий момент передается через центральное колесо рабочим шпинделям, ведомые зубчатые колеса которых расположены в два яруса. Сравнительно малый крутящий момент и осевые силы, передаваемые при сверлении, а также малые габаритные размеры головки обусловили некоторые особенности ее конструкции, а именно: рабочие шпиндели и устанавливаемые на них зубчатые колеса изготовляют цельными; с целью плавной и бесшумной работы зубчатой пары ее центральное колесо изготовляют из текстолита или капрона, а при несколько больших крутящих моментах — из бронзы. С этой же целью зубчатые колеса изготовляют винтовыми с углом наклона 15—20°. Осевая сила рабочих шпинделей при сверлении воспринимается непосредственно радиальным подшипником, упорные подшипники в головках подобного типа не устанавливают.
Для сверления отверстий, расположенных на одном расстоянии от центра при малых межцентровых расстояниях (6—8 мм), применяют специальную многошпиндельную головку (рисунок 9, б). В головках подобного типа применяются подшипники скольжения, выполненные в виде двух бронзовых вкладышей 1 и 2, в которых обработаны отверстия под шейки шпинделей 3 и 4 и приводного валика-колеса 5. Осевая сила, передаваемая на каждый шпиндель при сверлении, воспринимается шариком 6, который устанавливается в отверстие вкладыша 1 и соприкасается с упорной шайбой 7. В связи с применением нерегулируемых подшипников скольжения не рекомендуется применять частоту вращения шпинделей свыше 4000 об/мин. Трущиеся части смазывают периодической подачей масла внутрь корпуса 5, при этом для фильтрации масла и его задержки применена фетровая рубашка 9, натянутая на втулку 10, имеющую отверстия. Ввиду малых межцентровых расстояний между шпинделями для их уплотнения применяется фетровый диск, прижимаемый крышкой 11.
Обрабатываемую деталь устанавливают в приспособлении на столе настольно-сверлильного станка. При подъеме стола вверх производится прижим обрабатываемой детали, а затем сверление отверстий. Ориентация шпинделей головки относительно обрабатываемой детали производится с помощью направляющих колонок 12 и 13. С целью избежания ошибки ориентации на 180° колонки выполняют различных диаметров. Упоры 14 и 15 ограничивают перемещение кондукторной плиты 16 при опускании стола.
В приборостроении ввиду обработки отверстий малого диаметра в деталях из алюминиевых и медных сплавов конструкции многошпиндельных головок с кривошипным приводом имеют следующие отличия от вышеописанных (рисунок 10). Ввиду малых межцентровых расстояний обрабатываемых отверстий в опорах рабочих шпинделей 1 применяют подшипники скольжения. Сравнительно малые крутящие моменты при обработке отверстий определяют отсутствие противовеса на кривошипном диске и малый эксцентриситет положения поводков (в некоторых головках до 2 мм). Большое значение при проектировании головки имеет правильный выбор конструкции поводка рабочих шпинделей. При малых эксцентриситетах поводок 2 выполняют цельным. При эксцентриситетах свыше 5 мм поводок рабочего шпинделя выполняют составным. В отверстиях диска 3 устанавливают и расклепывают цилиндрические пальцы, а на конце каждого рабочего шпинделя закрепляют обойму, имеющую продольный паз для ведущего пальца. Такая конструкция поводка позволяет обрабатывать отверстия в кривошипном диске с гораздо меньшей точностью, так как при некотором смещении от оси шпинделя поводок, при вращении имеет возможность скользить в пазу обоймы шпинделя. Для увеличения плавности вращения рабочих шпинделей в некоторых конструкциях головок плоскопараллельное перемещение (вращение каждой точки кривошипного диска) осуществляется не одним, а двумя и даже четырьмя водилами.
Универсальная многошпиндельная головка кривошипного типа
Характеристики
Тип файла документ
Документы такого типа открываются такими программами, как Microsoft Office Word на компьютерах Windows, Apple Pages на компьютерах Mac, Open Office - бесплатная альтернатива на различных платформах, в том числе Linux. Наиболее простым и современным решением будут Google документы, так как открываются онлайн без скачивания прямо в браузере на любой платформе. Существуют российские качественные аналоги, например от Яндекса.
Будьте внимательны на мобильных устройствах, так как там используются упрощённый функционал даже в официальном приложении от Microsoft, поэтому для просмотра скачивайте PDF-версию. А если нужно редактировать файл, то используйте оригинальный файл.
Файлы такого типа обычно разбиты на страницы, а текст может быть форматированным (жирный, курсив, выбор шрифта, таблицы и т.п.), а также в него можно добавлять изображения. Формат идеально подходит для рефератов, докладов и РПЗ курсовых проектов, которые необходимо распечатать. Кстати перед печатью также сохраняйте файл в PDF, так как принтер может начудить со шрифтами.
















