tpsN1 (1073692), страница 5
Текст из файла (страница 5)
Р
ис. 5.3. Гребенка однозаходная и многозаходная для нарезания окулярной резьбы.
Гребенки служат долго, так как при изнашивании режущей кромки вытачивают новую режущую кромку дальше по окружности, но так, чтобы величина h сохранялась. Этот процесс повторяют до тех пор, пока не останется небольшой “хвостик”, который под действием силы резания может сломаться. Обязательное условие h=const, в противном случае происходит трение кромки об обрабатываемую деталь.
Гребенку выбирают так, чтобы “хвост” входил по впадине, не царапая боковой поверхности впадин нарезаемой резьбы.
Существуют также и многозубые гребенки, которые представлены на рисунке 5.3.(схематическая конструкция трехзубой гребенки). При такой конструкции процесс обработки следующий: станок выставляется так, чтобы 1-й зуб резал по металлу (черновая обработка в половину глубины), второй зуб продолжает обработку, а третий - срезает начисто (калибрует), срезает малое количество металла. Поэтому резьба нарезается за один проход.
Окулярная резьба бывает и левая, и правая, соответственно и инструмент для ее нарезания - гребенки бывают и левые, и правые.
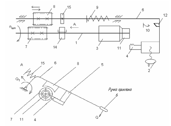
Схема нарезания однозаходной окулярной резьбы на револьверном станке представлена на рисунке 5.4.
Рис 5.4. Схема нарезания резьбы с приклоном:
-
шпиндель станка;
-
устройство для радиальной подачи резца;
-
патрон (цанга);
-
режущий инструмент (гребенка);
-
резцедержатель;
-
приклон;
-
резьбовой копир (жестко закреплен на шпинделе и вращается с ним);
-
полугайка;
-
возвратная пружина;
-
регулируемый упор;
-
заготовка;
-
клин (наезжает на упор и откидывает приклон);
-
пружина (в нормальном состоянии 6 откинут).
Так как на револьверном станке нет ходового винта, с помощью которого нарезают точные резьбы, поэтому применяют специальное резьбонарезное приспособление - приклон.
Копир 7 имеет параметры нарезаемой резьбы (шаг копира равен шагу нарезаемой резьбы, а также равен шагу резьбы полугайки 8), и подачу выставляют равной шагу нарезаемой резьбы.
Процесс нарезания резьбы осуществляется следующим образом: прикладывается сила Q к ручке приклона 6 (рис. 5.4.), при этом полугайка 8 и копир 7 входят в зацепление, полугайка при этом обеспечивает заданную подачу, равную шагу резьбы, инструмент придет в положение, в котором он должен нарезать резьбу. После нарезания (одного прохода) приклон откинется.
Однозаходная резьба нарезается за 3-4 прохода, так как нельзя прорезать сразу всю глубину.
При нарезании многозаходной резьбы в схему добавляют:
14- фрикционное устройство - кулачок
-
палец.
Шаг копира равен ходу нарезаемой окулярной резьбы Pк=k*Poк.р.
Палец мешает соединению полугайки 8 и копира 7, до тех пор, пока палец не войдет в паз кулачка. Как только это произойдет кулачок не сможет вращаться со шпинделем (так как кулачок будет неподвижен, а шпиндель внутри будет прокручиваться).
При повторном замыкании приклона, если х=Рок.р., то, следовательно, произойдет зацепление полугайки 8 с копиром 7 с опозданием на величину и вторая нитка будет нарезана от точки 2 (рис. 5.5.).
Р
ис. 5.5. Механизм деления для нарезания окулярной резьбы.
Палец должен быть при таком условии толщиной 1.5 мм, но эта величина слишком мала и поэтому делают толщину кулачка в n раз больше величины Рок.р. Таким образом осуществляется деление на заходы.
Окулярную резьбу притирают после обработки и подбора пар оправ с окулярной резьбой для достижения требуемых эксплуатационных характеристик соединения (плавного хода, отсутствия радиальной и осевой качки, качества поверхности резьбовых поверхностей и т.д.), которые не могут быть получены при механической обработке резьб.
Процесс притирки окулярных резьб заключается в следующем. На резьбовую поверхность скомплектованной пары оправ «винт» – «гайка» наносят притирочную пасту, детали свинчивают и им сообщают относительный поворот попеременно в одну и другую сторону, т.е. осуществляют периодическое свинчивание и развинчивание резьбового соединения.
Несмотря на сравнительную простоту процесса, эту операцию в настоящее время выполняют либо вручную, либо на станках, но с использованием ручного труда. Это объясняется тем, что необходимое время обработки различных участков резьбы неодинаково, оно зависит от многих факторов (неравномерности припуска, оставленного на притирку, погрешностей формы деталей, неравномерной твердости отдельных участков резьбы и т. п. ). При ручной притирке время окончания обработки отдельных участков резьбы рабочий определяет по крутящему моменту, который ему приходится прикладывать для поворота оправ, или, как принято говорить, «по чувству». Попытки создания станков, у которых время обработки отдельных участков резьбы регулируется в зависимости от момента трения на них, пока не увенчались успехом.
В настоящее время притирка окулярной резьбы осуществляется на специальных притирочных станках (или приспособлениях), обеспечивающих попеременное вращение оправы в разные стороны, а иногда непосредственно на станке, на котором нарезается наружная окулярная резьба сразу после ее обработки и комплектования пары. Оправа с наружной резьбой (винт) укреплена в шпинделе и вращается, а оправа с внутренней резьбой (гайка) навинчивается на «винт». При навинчивании и свинчивании гайки в процессе притирки ее удерживают рукой с помощью «жимков». Заканчивают притирку обычно вручную после съема притираемой пары со станка. Свинчивая и развинчивая оправы, рабочий определяет («по чувству») плавность хода по всей длине и при необходимости дополнительно притирает отдельные участки. Затем детали промывают в бензине, контролируют, смазывают приборной вазелиновой массой и передают на хранение или сборку.
Для притирки на заводах используют пасту ГОИ и другие пасты с различными наполнителями (сера, пемза и др.), например, паста такого состава: жир животный технический 30, вазелин технический 10, пемза порошковая 60 (в цехе пасте разводят машинным маслом).
6. КОНТРОЛЬ ОПРАВ И ТУБУСОВ.
Контроль точности обработки посадочных внутренних и наружных цилиндрических поверхностей оправ и тубусов осуществляется общепринятыми методами с помощью предельных калибров (проходных и непроходных скоб и пробок) или с использованием универсальных микрометрических инструментов (микрометров, микрометрических нутрометров и т.д.). Аналогичными методами контролируют и наружные (охватывающие) линейные размеры.
Для контроля линейных размеров внутренних поверхностей (охватываемых) оправ часто используют специальные или переналаживаемые контрольные приспособления. На рис.6.1.,а показано переналаживаемое приспособление, настроенное на контроль размера 15,5+0,019 (длины цилиндрической поверхности диаметром 20+0,045) детали, изображенной на рис.6.1.,б.
Рис. 6.1. Переналаживаемое приспособление (а) для контроля линейных
размеров оправы (б).
В корпусе с помощью винта и пружины установлена сменная вставка. Индикатор, укрепленный в корпусе, настраивается по набору концевых мер или эталонной детали на контролируемый размер. Для контроля детали приспособление вводят в отверстие оправы. Опорная поверхность корпуса и вставки упирается в торцы оправы. При этом показания индикатора у годной детали не должны отличаться от настроенного значения на величину большую допуска контролируемого размера.
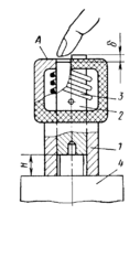
К
алибр для контроля размера Н оправы 4 (рис.6.2) состоит из корпуса 1, подвижного упора 2 и пружины 3. На верхнем торце подвижного упора 2 обработаны две перпендикулярные оси упора площадки, расстояние между которыми равно допуску на контролируемый размер. Калибр устанавливают на деталь, подвижный упор пальцем прижимают к контролируемой поверхности оправы. Деталь считается годной, если нижняя площадка подвижного упора 2 располагается ниже торца А корпуса, а верхняя – выше. Положение площадок упора относительно торца корпуса оценивают на ощупь пальцем. Такой метод на заводах получили наименование «контроль методом осязания».
Рис. 6.2. Приспособление для контроля линейных размеров:
1 –корпус; 2-упор; 3-пружина; 4-оправа.
Для контроля охватываемых осевых размеров оправ на заводах часто применяют калибры с рисками. Принцип контроля остается прежним, только вместо площадок на поджимном упоре наносят риски, расстояние между которыми равно допуску на контролируемый размер. Контрольная риска на неподвижном корпусе калибра для годных деталей должна располагаться между рисками на подвижном упоре.
Основным методом контроля резьбовых поверхностей оправ в производственных условиях является комплексный метод с помощью резьбовых калибров. Рабочие калибры применяют для контроля резьб в процессе их изготовления. Приемные калибры предназначены для проверки резьбы работниками ОТК. Для проверки и установки рабочих калибров используют контрольные калибры (контркалибры).
Контроль внутренней резьбы осуществляют следующими калибрами: проходная резьбовая пробка, непроходная резьбовая пробка и предельные гладкие пробки для проверки внутреннего диаметра резьбы.
Для проверки наружной резьбы используют проходное резьбовое кольцо (или скобу), непроходное резьбовое кольцо (или скобу) и предельные гладкие скобы для наружного диаметра резьбы.
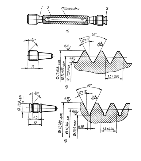
Предельная резьбовая пробка для контроля однозаходной окулярной резьбы ОК 121,5, показанная на рис.6.3.,а состоит из рукоятки 2 и двух вставок: проходной 1 и непроходной 3.
Проходная сторона (вставка) резьбовой пробки (рис.6.3.,б) имеет полный профиль резьбы и длину, примерно равную диаметру, для выявления прогрессивной ошибки шага. Проходной пробкой осуществляется комплексный контроль параметров внутренней резьбы, кроме внутреннего диаметра, который проверяется гладкой предельной пробкой.
Непроходная сторона (рис.6.3.,в) резьбовой пробки служит для проверки только среднего диаметра гайки по наибольшему предельному размеру. Эта сторона пробки не должна ввинчиваться в гайку. На несвинчиваемость непроходной резьбовой пробки с гайкой, кроме среднего диаметра, могут оказывать влияние ошибки шага резьбы и половины угла профиля (/2). Для уменьшения влияния ошибок /2 непроходную резьбовую пробку делают с укороченным профилем резьбы, получаемым уменьшением высоты витка. Для уменьшения влияния погрешности шага длину резьбовой части пробки сокращают до 2-2,5 витков.
Р
ис. 6.3. Проходная (б) и непроходная (в) вставки предельной резьбовой
пробки (а) для контроля окулярной резьбы:
1 -проходная вставка, 2-непроходная вставка, 3-рукоятка.
Хотя благодаря укороченному профилю и сокращенной длине резьбовой части намного снижается влияние ошибок угла и шага, однако отклонение от цилиндричности еще не выявляется. Поэтому в тех случаях, когда требуется проконтролировать некруглость резьбы, применяют вместо непроходного резьбового калибра-пробки шкальный прибор с укороченными измерительными элементами (ребристые ролики, резьбовая гребенка и др.).
Проверку размеров наружной резьбы осуществляют предельными резьбовыми кольцами – проходными и непроходными.
Проходное резьбовое кольцо имеет полный профиль резьбы и число витков, равное числу витков контролируемой резьбы. Проходное резьбовое кольцо предназначено для комплексной проверки параметров наружной резьбы. Наружный диаметр резьбы проходным кольцом не проверяют. Для этой цели применяют гладкую предельную скобу.















