tpsN1 (1073680), страница 2
Текст из файла (страница 2)
Контроль линейных и диаметральных размеров оправ и тубусов в процессе их механической обработки осуществляют рабочие с помощью калибров, шаблонов или универсальных измерительных средств. Такой контроль является составной операции механической обработки. В самостоятельную контрольную операцию выделяют преимущественно контроль форм и расположения поверхностей, требующий специальных контрольных приспособлений. Такой контроль целесообразно проводить после операций, на которых обеспечивается точность по контролируемым параметрам с целью своевременной отбраковки деталей.
Технологический процесс изготовления колец обычно складывается из токарных, фрезерных и сверлильных операций. На токарных операциях осуществляют обработку цилиндрических поверхностей крепежных резьб и рифлений. Обработку выступов на торцах и прорези на боковых поверхностях пружинных колец, а также шлицев на торцах крепежных колец производят на фрезерных операциях.
ЭТАП 1
ПРЕДВАРИТЕЛЬНАЯ ТОКАРНАЯ ОБРАБОТКА.
Предварительную обработку оправ и тубусов обычно выполняют на токарно-револьверных станках и автоматах. Широкое использование этих станков обусловлено в первую очередь потребностью большого количества разнообразных инструментов, необходимых для обработки сложных по конструкции оправ и тубусов и в том числе инструментов для осевой обработки отверстий (сверл, зенкеров, разверток, метчиков), особенно для деталей, изготовляемых из прутка. Необходимая для обработки оправ частая смена осевых инструментов, устанавливаемых в задней бабке токарного станка, приводит к значительному увеличению вспомогательного времени по сравнению с обработкой на токарно- револьверных станках.
Кроме того, применение токарно-револьверных станков дает возможность сделать операции предварительной обработки оправ более концентрированными, т.е. за одну операцию обрабатывать большее количество поверхностей. Это уменьшает количество установок и повышает точность взаимного расположения поверхностей, обработанных за одну установку.
Токарные станки используют для предварительной токарной обработки в единичном производстве.
Иногда простые токарные станки используют на второй (после револьверной) операции предварительной обработки оправ, которую выполняют с применением небольшого количества инструментов (2-3). Она обычно заключается в подрезке в размер необработанного (после отрезки на револьверном станке) торца и расточке или обточке одного-двух диаметров со стороны этого торца.
Вопрос о выборе токарно-револьверного станка или автомата для предварительной обработки оправ решается в зависимости от программы, вида и размеров заготовки, технологических возможностей станков и их загруженности.
Токарно-револьверные станки используют для предварительной токарной обработки сложных по конфигурации оправ и тубусов, для обеспечения которой требуется большое количество разнообразных режущих инструментов. На оптических заводах эта операция выполняется преимущественно на токарно-револьверных станках с горизонтальной осью револьверной головки.
Токарно-револьверные станки характеризуются высокой производительностью, которая достигается за счет концентрации операций, одновременной обработки поверхностей, быстрой смены инструментов и т. д. Однако переход от обработки одной детали к другой, требующей замены инструментов в револьверной головке и настройки станка на обработку новой детали, занимает несколько часов. Поэтому обработка малых партий деталей (а это весьма характерно для изготовления оправ оптических приборов) на револьверных станках обычным методом с полной переналадкой станка при переходе к обработке каждой новой партии деталей экономически нецелесообразно.
В настоящее время на заводах широко применяют метод групповой обработки (предложен Митрофановым), позволяющий приблизить серийное и мелкосерийное производство к условиям крупносерийного производства и эффективно использовать револьверные станки для обработки малых партий деталей.
Сущность групповой обработки на токарно-револьверных станках заключается в следующем. Из деталей, подлежащих обработке на токарно-револьверных станках, комплектуют группы. В группе объединяют детали, имеющие незначительные отличия по конструктивно-технологическим признакам, к которым относятся габаритные размеры и геометрическая форма деталей, технологические свойства материала и вид заготовки, технологические приемы обработки. При этом не учитывают функциональное назначение деталей; в одну группу, например, могут попасть оправы и втулки, бленды и тубусы, диафрагмы и кольца и т. д. Из группы выбирают (или специально проектируют) так называемую “комплексную” деталь, в которой содержатся все разновидности поверхностей деталей, входящих в данную группу (рис.1.1).
Рис.1.1. Детали (а), объединенные в группу для групповой обработки, и комплексная деталь (б).
На обработку комплексной детали разрабатывают хороший технологический процесс обработки: определяют последовательность и способы обработки поверхностей, подбирают режущий и вспомогательный инструмент, устанавливают схему размещения инструмента в револьверной головке и т. п. Станок настраивают на обработку комплексной детали, и, таким образом, создают групповую наладку, которую закрепляют за одним станком. Все детали, входящие в данную группу независимо от размера партии, обрабатывают на этой групповой наладке, для каждой детали пропуская те операции, которые для данной детали не предусмотрены. Переход к обработке партии других деталей данной группы заключается в подналадке, связанной с перестановкой и регулировкой упоров, частичной сменой размерного инструмента. Такая подналадка занимает 15-60 мин. вместо нескольких часов, необходимых для полной переналадки станка.
Дальнейшая предварительная токарная обработка оправ проводится в одну или несколько операций на револьверных или токарных станках в зависимости от конструкции детали и требуемой точности обработки.
А также разрабатываются групповые приспособления, то есть, таким образом, уменьшается парк приспособлений для каждой изготовляемой детали.
При проектировании операций предварительной токарной обработки оправ на автоматах и револьверных станках рекомендуется на первой операции снимать по возможности больший припуск, так как в начале процесса, пока заготовка имеет сравнительно высокую жесткость, обработку можно вести при интенсивных режимах резания, что невозможно на последующих операциях ввиду снижения жесткости детали.
Особое внимание уделяется обработке поверхностей, связанных требованиями точного взаимного расположения. Такие поверхности целесообразно обрабатывать за одну операцию при одной установке детали, что значительно упрощает задачу обеспечения точности расположения поверхностей.
Как указывалось ранее, на оправах и тубусах часто встречаются резьбы, предназначенные для крепления оптических деталей в оправах или для соединения оправ между собой или с тубусами. К последним обычно предъявляются требования точности их расположения относительно посадочных поверхностей и торцов оправ. Для обеспечения этих требований резьбы, посадочные поверхности и торцы целесообразно обрабатывать за одну установку детали. Это сравнительно легко выполняется при предварительной обработке оправ на револьверных станках специальными дисковыми гребенками. Необходимость использования гребенок обусловлено тем, что крепежные резьбы оправ имеют малый (0,5; 0,75 мм) шаг, высокую точность (6-7 квалитет) и нарезаются на небольшой длине (5-10 мм). Нарезание резьбы осуществляется с помощью резьбонарезного приспособления («приклона»). Гребенка закрепляется на приклоне и получает принудительную продольную подачу, равную шагу нарезаемой резьбы, от сменного резьбового барабана, установленного на шпинделе станка и закрепленного на приклоне резьбовой звездочки или полугайки.
Для нарезания внутренней резьбы направление резьбы гребенки совпадает с направлением резьбы детали, для наружных резьб эти направления противоположны.
ЭТАП 2 .
ОБРАБОТКА ВСПОМОГАТЕЛЬНЫХ ПОВЕРХНОСТЕЙ.
Вспомогательные поверхности (отверстия, пазы, лыски и т.п.) служат для прикрепления оправ и тубусов к корпусу прибора, установки стопорных винтов, штифтов, для монтажа диафрагм и т.п. Вспомогательные отверстия бывают осевые и радиальные, глухие и сквозные, гладкие и резьбовые.
Обработку отверстий ведут в следующей последовательности: сначала сверление или, значительно реже, пробивка, затем развертывание или зенкерование, или нарезание резьбы.
Сверление отверстий выполняют либо на отдельной операции, либо совмещают с предварительной токарной обработкой на револьверных станках и автоматах.
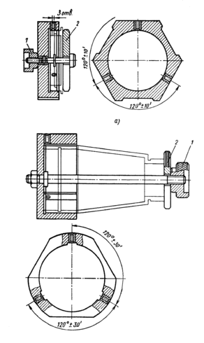
Обработку отверстий на сверлильных станках ведут в специальных или групповых кондукторах. Кондукторы для сверления радиальных отверстий в оправе или в тубусе показаны на рис.2.1. В обоих случаях детали базируются по наружной поверхности, их закрепляют с помощью гаек 1 и быстросменных шайб 2. Для сверления отверстий кондуктор устанавливают на плоскость, перпендикулярную к оси кондукторной втулки.
Рис. 2.1. Кондукторы для сверления радиальных отверстий в оправе(а) и тубусе(б).
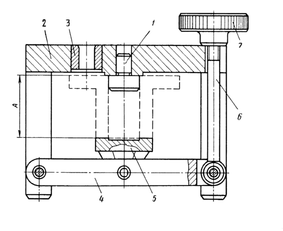
Для сверления осевых отверстий чаще используются кондукторы с откидной прижимной планкой (рис.2.2.). Оправу устанавливают по внутреннему диаметру на палец 1, закрепленный в кондукторной плите 2, в которой запрессованы кондукторные втулки 3. Деталь закрепляют откидной планкой 4 с качающимся прижимом 5, болтом 6 и гайкой 7. Если угловое положение системы обрабатываемых отверстий закоординировано относительно какой-либо предварительно обработанной поверхности, например, паза, отверстия и т.п., то на кондукторной плите устанавливают штифт или другой фиксатор, который обеспечивает заданное положение детали относительно системы кондукторных втулок приспособления.
Рис. 2.2. Кондуктор для сверления осевых отверстий в оправе.
Отверстия в оправах сверлят либо последовательно (по одному) на одношпиндельном сверлильном станке, либо одновременно с помощью многошпиндельных сверлильных головок.
Для сверления отверстий в оправах или тубусах, имеющих как радиальные, так и осевые отверстия, иногда используют кондукторы, позволяющие вести обработку всех отверстий в одном кондукторе, при одной установке и закреплении детали.
У таких кондукторов против каждой кондукторной втулки обрабатывается плоскость, перпендикулярная к оси кондукторной втулки, необходимая для установки приспособления на столе станка при сверлении отверстий.
Если все отверстия оправы одного диаметра, то их последовательную обработку выполняют на одношпиндельном сверлильном станке одним инструментом. Для сверления отверстий разного диаметра необходима смена инструмента. Кроме того, обработку таких деталей можно вести на многошпиндельных сверлильных станках. На практике широко применяются групповые кондукторы, которые состоят из постоянного корпуса, который используется для обработки всех деталей данной группы, и регулируемой или сменной части, настраиваемой или изготовляемой специально для обработки каждой конкретной детали группы.
Групповой кондуктор со сменной частью (вставной) для сверления осевых отверстий в оправах может быть спроектирован на базе кондуктора (рис.2.2) с прижимной планкой. Конструкцией группового кондуктора предусмотрена возможность регулировки величины зажимного размера А, чем достигается возможность обработки оправ разной длины. Кондукторная плита (рис.2.3) состоит из постоянной части 1 и специальной вставки 2, в которой запрессованы кондукторные втулки 3 и установочный палец 4. Сменную вставку изготовляют для каждой оправы данной группы, если число, диаметры и расположение отверстий, а также диаметр установочного отверстия оправы отличаются от аналогичных параметров других деталей. Вставку устанавливают в плиту 1 по диаметру D и закрепляют (на рис.2.3 элементы крепления не показаны).
Рис. 2.3. Кондукторная плита группового кондуктора.
Определенный интерес представляет идея одновременной обработки осевых и радиальных отверстий в оправках и тубусах на агрегатных станках. Целесообразность такой обработки в условиях крупносерийного производства очевидна.
Схема устройства, реализующего эту идею, показана на рис.2.4. Деталь устанавливают по наружному диаметру в стакан 12, в котором запрессованы кондукторные втулки 13. С помощью рукоятки 20 и подъемного механизма (на схеме не показан) подвижную плиту 17 поднимают и прижимают деталь к плите 11 с кондукторными втулками 10. При дальнейшем подъеме плиты 17 кондукторная плита 11 поднимается по направляющим колоннам 7; сверла 9 (на схеме они условно показаны стрелками), закрепленные в шпинделях неподвижной многошпиндельной головки 6, проходят через кондукторные втулки 10 и сверлят три осевых отверстия на торце оправы.
Необходимая точная ориентация кондукторной плиты 11 и детали осуществляется направляющими колонками и точными втулками 2, укрепленными в плитах 11 и 17. Зажим детали обеспечивается усилием пружин 8. Одновременно со сверлением осевых отверстий ведется обработка трех радиальных отверстий. При подъеме плиты 17 рычаги 19 перемещаются по функциональным кулачкам 21, закрепленном на неподвижном основании 22, и сообщают сверлам 15 движение подачи.
Р
ис. 2.4. Схема устройства для одновременного сверления в оправах осевых и радиальных отверстий.
Передача вращательного движения на радиальные сверла осуществляется шкивами 5, 4, 1, пассиком 3, зубчатым колесом 16 и круговой рейкой 14. Возврат сверл в исходное положение производится пружинами 18 при опускании плиты 17.
На схеме не показано устройство для съема детали, которое выполнено в виде толкателей, поднимающих обработанную оправу вверх. Обработка отверстий в оправах на таком станке дает значительный выигрыш в производительности по сравнению с другими способами за счет уменьшения вспомогательного и совмещения основного времени.















