Чётные (1073660)
Текст из файла
2. Методы обеспечения заданной точности
В процессе обработки пытаются обеспечить какими либо способами заданную точность.
Различают два метода обеспечения точности при обработке
Метод пробных ходов и промеров
Обработка на настроенном станке.
Пусть требуется обработать первым методом заготовку до диаметра d на длину l (см. рис.3). Правая часть заготовки обрабатывается на малую длину до диаметра
Рис.3 Схема, поясняющая сущность метода пробных ходов промеров
d1, снимается тонкий слой материала, как говорят производственники «пропылили». Затем резец продольной подачей отводится вправо, измеряется диаметр d1 и вычисляется новая глубина резания t = (d – d1)/2
После этого резец по лимбу подается на t и осуществляется обработка на длину l/
. Эту процедуру надо повторять при обработке каждой новой детали.
По второму методу резец заранее устанавливается на выполнение заданных размеров (например тем же методом пробных ходов и промеров) и при этой настройке обрабатывается партия деталей.
4. Структурные элементы деталей
Структурные элементы детали в данном подразделе рассматриваются кратко, лишь некоторые общие, а также специфические вопросы конструирования деталей, так как студентам (и прочим читателям) они, как правило, в известной степени знакомы из других учебных курсов и публикаций. Как было сказано, детали являются простейшими объектами конструирования. Они представляют собой однородные неделимые тела, состоящие из элементов формы (геометрических поверхностей тел) и материала.
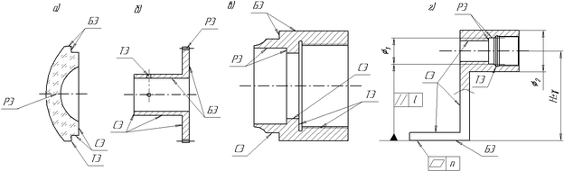
В каждой детали различают следующие структурные элементы (поверхности): рабочие (активные), базовые, соединительные (свободные) и технологические.
Рабочие элементы (РЭ) (их называют также активными или исполнительными поверхностями) непосредственно выполняют заданные функции детали. Например, РЭ являются сферические поверхности линзы (рис 5,а); эвольвентная поверхность зубчатого венца колеса (рис. 5,6), плоская и цилиндрическая поверхности гнезда оправы линзы (рис. 5,в). Эти поверхности, как правило, тщательно обрабатываются, и к ним предъявляются высокие требования: точность расположения, погрешность формы, чистота поверхности, размеры и т.п.
Базовые элементы (БЭ) обеспечивают координацию детали (т.е. координацию ее РЭ) относительно других деталей и представляют собой поверхности, по которым деталь сопрягается (соединяется) с базовой деталью (см. рис. 5). Данные поверхности изготавливаются также весьма тщательно.
Рис. 5. Структурные элементы детали: а) линза, б) зубчатое колесо, в) оправа, г) стойка.
Соединительные элементы (СЭ) (их называют часто свободными) служат для обеспечения материальной связи между рабочими и базовыми элементами (см. рис. 5). К СЭ не предъявляются высокие требования к тщательности и точности изготовления (за исключением требований к чистоте поверхностей, когда это обусловлено эстетическими показателями качества детали).
Технологические элементы (ТЭ) служат для обеспечения технологического процесса изготовления и последующей сборки детали (например, фаски, галтели, выточки, центровые отверстия в валиках и т.п.). Для линзы (см. рис 5, а) ТЭ являются фаски, устраняющие выколки, появляющиеся на кромках при ее шлифовке; для зубчатого колеса (см. рис. 5, б) ТЭ является резьбовое отверстие под стопорный винт для фиксации зубчатого колеса на валике при рассверливании отверстия под штифт; в оправе линзы (см. рис. 5, в) ТЭ является резьба (и канавка для выхода резьбы) для закрепления оправы (с линзой) в центрировочном патроне (см. рис. 42).
Следует отметить, что одни и те же поверхности (части поверхностей) могут выполнять роль РЭ, БЭ и СЭ. Наиболее благоприятным считается вариант, когда в конструкции удается объединить РЭ и БЭ, минимизировать СЭ.
6. Структура технологического процесса
Технологический процесс по физическим, организационным или экономическим причинам разделяется на операции, которые, в свою очередь, складываются из установов, переходов, ходов и позиций.
Технологической операцией (или просто операцией) называется законченная часть технологического процесса, выполняемая на одном рабочем месте.
Установ – часть технологической операции, выполняемая при неизменном закреплении обрабатываемых заготовок или собираемой сборочной единицы.
Технологический переход (или просто переход) – законченная часть технологической операции, характеризуемая постоянством применяемого инструмента и поверхностей, образуемых обработкой или соединяемых при сборке.
Вспомогательный переход – законченная часть технологической операции, состоящая из действий рабочего и (или) оборудования, которые не сопровождаются изменением формы, размеров или шероховатости поверхностей обрабатываемой заготовки или сборочной единицы, но необходимы для выполнения технологического перехода, например, установка и закрепление заготовки, смена инструмента и т.д.
Рабочий ход – законченная часть технологического перехода, состоящая из однократного перемещения инструмента относительно заготовки, сопровождаемого изменением формы, размеров, шероховатости поверхности или свойств заготовки.
Вспомогательный ход – законченная часть технологического перехода, состоящая из однократного перемещения инструмента относительно заготовки, не сопровождаемого изменением формы, размеров, шероховатости поверхности или свойств заготовки, но необходимого для выполнения рабочего хода, например, подвод и отвод инструмента.
Позиция – фиксированное положение, занимаемое неизменно обрабатываемой заготовкой или собираемой сборочной единицей совместно с приспособлением относительно инструмента или неподвижной части оборудования для выполнения определенной части операции.
Например, заготовка 1 закреплена в приспособлении 2, обрабатывается на на вертикально-сверлильном станке с поворотным столом 3. При повороте стола заготовка занимает последовательно четыре позиции. В 1 позиции производится установка заготовки в приспособление, во 2 позиции сверление отверстия, в 3 позиции зенкерование отверстия и в 4 позиции развертывание отверстия. Все обработки выполняются одновременно.
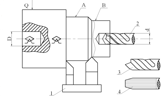
Рис. 1. Многофункциональная обработка.
На рис. 2 показана обработка детали на токарно-револьверном станке за одну операцию. Поверхности А и В обрабатываются точением блоком 1 из 2-х резцов, поверхность С обрабатывается последовательно сверлом 2, зенкером 3 и разверткой 4, поверхность D сверлением. Здесь: одна операция, два установа, один показан на рисунке, второй при повороте заготовки чтобы отверстие D встало в рабочую зону, пять переходов (обработка поверхности A и B – один переход). Как видно процессов обработки много, а операция одна.
8. Методы формообразования поверхностей деталей приборов резанием
Деталь – это элемент, являющийся составной частью прибора или его узла1( Под термином “узел” следует понимать термин “сборочная единица”.)
. Пространственная форма детали ограничивается геометрическими поверхностями. Как бы ни была сложна форма детали, ее всегда можно представить в виде отдельных геометрических поверхностей, из которых наиболее часто встречаются плоские, линейчатые, круговые, цилиндрические и конические, шаровые, торовые и геликоидные (винтовые) поверхности (рис. 2).
Любую поверхность рассматривают как совокупность последовательных положений (следов) одной из производящей линии, называемой образующей (1), движущейся по другой производящей линии, называемой направляющей (2,
и
).
Для получения плоской поверхности (рис. 2, а) необходимо образующую прямую линию 1 перемещать по направляющей прямой 2. Для образования цилиндрической поверхности (рис. 2, в) следует образующую прямую линию 1 перемещать по направляющей линии – окружности 2 и т.д.
Плоские, линейчатые и цилиндрические поверхности являются обратимыми, так как для их воспроизведения образующие и направляющие линии можно менять ролями. Кроме обратимых поверхностей, есть необратимые, например геликоидная, торовая, шаровая и коническая поверхности. Коническая поверхность (рис. 2, г) получают при перемещении одного конца прямой образующей линии 1 по направляющей линии 2 – окружности основания конуса, а второй конец образующей прямой линии 1 должен быть неподвижным.
Рис. 2. Виды поверхностей: а-плоская, б-линейчатая, в - цилиндрическая, г - коническая, д- сферическая, е - торовая, ж - геликоидная; 1-образующая, 2-направляющая.
В реальных условиях образования поверхностей деталей на металлорежущих станках образующие и направляющие линии в большинстве случаев являются воображаемыми. При обработке они воспроизводятся комбинацией согласованных между собой движений заготовки и инструмента. Движения резания и являются формообразующими движениями, так как они воспроизводят во времени образующие и направляющие линии. Формообразующих движений может быть одно или несколько.
Существующие методы формообразования поверхностей рассмотрим на конкретных примерах обработки резанием.
Образование поверхностей по методу копирования заключается в том, что форма режущего лезвия инструмента является образующей линией 1, совпадающей по форме с образующей линией поверхности (рис. 3, а) или имеющей форму, обратную ей (рис. 3, б). Направляющая линия 2 воспроизводится вращением заготовки (рис. 3, а) или поступательным движением инструмента (рис. 3, б), которые и являются формообразующими. Второе движение, направленное перпендикулярно обрабатываемой поверхности, необходимо для получения определенного размера поверхности. Этот метод используют при обработке фасонных поверхностей на металлорежущих станках.
Рис. 3. Схемы методов формообразования поверхности.
Образование поверхностей по методу следов состоит в том, что образующая линия 1 является траекторией движения точки (вершины) режущего лезвия инструмента, а направляющая линия 2 – траекторией движения точек заготовки (рис. 3, в). В этом случае оба движения резания (V и Sпр) являются формообразующими. Этот метод формообразования поверхностей распространен наиболее широко.
Образование поверхностей по методу касания заключается в том, что направляющей линией 2 служит касательная к ряду геометрических вспомогательных линий, являющихся траекториями движения точек режущего инструмента. Образующей линией 1 служит режущее лезвие инструмента (рис. 3, г), а формообразующим движением – подача Sпр.
Образование поверхностей по методу обкатки (огибания) состоит в том, что образующая линия 1 (рис. 3, д.) является огибающей кривой ряда последовательных положений режущего лезвия инструмента в результате двух согласованных относительных движений заготовки и инструмента (S1 и S2). Направляющая линия 2 образуется поступательным движением инструмента.
На металлорежущих станках в зависимости от вида обрабатываемой поверхности используют разные методы их формообразования.
10. Факторы, влияющие на качество отливок, точность размеров.
Качество отливки, факторы влияющие на качество
Характеристики
Тип файла документ
Документы такого типа открываются такими программами, как Microsoft Office Word на компьютерах Windows, Apple Pages на компьютерах Mac, Open Office - бесплатная альтернатива на различных платформах, в том числе Linux. Наиболее простым и современным решением будут Google документы, так как открываются онлайн без скачивания прямо в браузере на любой платформе. Существуют российские качественные аналоги, например от Яндекса.
Будьте внимательны на мобильных устройствах, так как там используются упрощённый функционал даже в официальном приложении от Microsoft, поэтому для просмотра скачивайте PDF-версию. А если нужно редактировать файл, то используйте оригинальный файл.
Файлы такого типа обычно разбиты на страницы, а текст может быть форматированным (жирный, курсив, выбор шрифта, таблицы и т.п.), а также в него можно добавлять изображения. Формат идеально подходит для рефератов, докладов и РПЗ курсовых проектов, которые необходимо распечатать. Кстати перед печатью также сохраняйте файл в PDF, так как принтер может начудить со шрифтами.
















