Чётные (1073660), страница 9
Текст из файла (страница 9)
Процесс протягивания. Схема протягивания отверстия на горизонтально-протяжном станке показана на рис.89 Гоца рис 8.4 стр 270.
Обрабатываемую заготовку 3 устанавливают в приспособлении 2, закрепленном на столе станка. Протяжку 4 продевают в отверстие и соединяют с тяговым патроном 1 каретки рабочего хода. При включении рабочего хода протяжка перемещается относительно обрабатываемой заготовки и осуществляется процесс резания. После выполнения рабочего хода протяжка возвращается в исходное положение вручную или при помощи каретки протяжного станка. Возвращение протяжки в исходное положение при помощи каретки происходит следующим образом. После снятия заготовки из приспособления протяжка перемещается в обратном направлении со скоростью холостого хода при помощи каретки рабочего хода до тех пор, пока задняя замковая часть не захватится тяговым патроном 5 каретки обратного хода. Цикл обработки повторяется.
Методы протягивания. В зависимости от положения обрабатываемых поверхностей относительно баовых различают свободное и координатное протягивание и прошивание.
Метод свободного протягивания. (рис. 89) наиболее широко используют при обработке разнообразных по форме отверстий, пазов и т.д.
Точность расположения геометрического пятна протягиваемого контура отверстия относительно базовых поверхностей детали при свободном протягивании определяется точностью расположения геометрического центра отверстия, обработанного под протягивание.
Рис. Схемы свободного (а,б) и координатного (в-ж) протягивания внутренних и наружных поверхностей
1,2 – детали, 3 – заготовка, 4 = протяжка, 5 – неподвижная и подвижная базы.
7 – предварительно обработанная база
,. Координатное протягивание осуществляется принудительным направлением протяжек по подвижным и неподвижным направляющим базам, а также направление протяжек, закрепленных в протяжном блоке на инструментальной каретке, по направляющим вертикально-протяжного станка.
Метод координатного протягивания наряду с получением заданной формы поверхности обеспечивает расположение относительно базовой поверхности с точностью до 0,02 – 0,03 мм
На рис. в-ж представлены различные способы координатного протягивания внутренних и наружных поверхностей с направлением протяжки непосредственно по неподвижным базам 5 приспособления на горизонтально-протяжных (см. рис. в,г) и вертикально-протяжных (см. рис. д), внутренних поверхностей с применением подвижных направляющих баз 6 (передних и задних) (см. рис. е), внутренних поверхностей с направлением й протяжки по предварительно обработанной поверхности заготовки на горизонтально- и вертикально-протяжных станках (см. рис. ж).
48. Фрезерование на ВФ станках.
Вертикально-фрезерные станки
Эти станки имеют много общих унифицированных деталей и узлов с горизонтально-фрезерными станками.
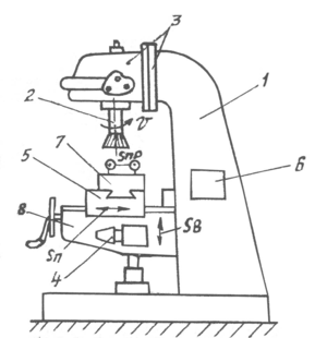
Рис.2. Общий вид вертикально-фрезерного станка: 1 – станина; 2 – шпиндель; 3 – шпиндельная головка; 4 – коробка подач; 5 – поперечный стол; 6 – коробка скоростей; 7 – продольный стол;
8 – консоль
В станине 1 рис.2 размещена коробка скоростей 6. Шпиндельная головка 3 смонтирована в верхней части станины и может поворачиваться в вертикальной плоскости. При этом ось шпинделя 2 можно поворачивать под углом к плоскости рабочего стола 7. Главным движением является вращение шпинделя. Стол, на котором закрепляют заготовку, имеет продольное перемещение по направляющим салазок 5. Салазки имеют поперечное перемещение по направляющим консоли 8, которая перемещается по вертикальным направляющим станины. Таким образом, заготовка, установленная на столе 7, может получать подачу в трех направлениях. В консоле смонтирована коробка подач 4.
50. Фрезерование –виды, схемы, инструмент.
Виды и схемы фрезерования
Различают фрезерование цилиндрическое (осевое) рис.5,а и торцовое рис.5,б. При цилиндрическом фрезеровании работу выполняют зубья, расположенные на цилиндрической поверхности фрезы. При торцевом фрезеровании в работе участвуют зубья, расположенные на цилиндрической и торцевой поверхностях фрезы.
Рис.5 Схемы фрезерования: а – цилиндрическое; б – торцевое
Для цилиндрического фрезерования желательно, а при большой ширине обработки – обязательно, горизонтальное положение плоскости с тем, чтобы использовать для операции горизонтально-фрезерный станок, допускающий двустороннее закрепление инструмента.
Фрезерование цилиндрическими, а также дисковыми фрезами может быть выполнено по двум схемам:
1) движение подачи направлено против вращения фрезы (рис.6,а)
2) движение подачи совпадает с направлением вращения фрезы I (рис.6,б).
Рис.6 Схемы работы фрез: а – встречное фрезерование цилиндрической фрезой; б – попутное фрезерование цилиндрической фрезой; в – работа торцевой фрезы
Фрезерование но первой схеме называется встречным, а по второй схеме - попутным.
При встречном фрезеровании сечение среза и нагрузка на зуб увеличиваются постепенно - от нуля при врезании зуба до максимума при выходе его из контакта с деталью. Горизонтальная составляющая усилия резания направлена в сторону, противоположную подаче. Преодоление этой составляющей в процессе работы приводит к устранению зазора, имеющегося в механизме подачи, и резание проходит плавно и спокойно.
При попутном фрезеровании зуб фрезы начинает работу со срезания слоя наибольшей толщины, которая в конце работы уменьшается до нуля. Горизонтальная составляющая совпадает по своему направлению с подачей и стремится затянуть обрабатываемую деталь под фрезу.
При обработке заготовок с черной поверхностью попутное фрезерование применять не следует, так как при врезании зуба фрезы в твердую корку происходит преждевременный износ и выход их строя фрезы.
При обработке заготовок с чистыми поверхностями попутное фрезерование имеет преимущества перед встречным в отношении как стойкости инструмента, так и шероховатости поверхности. При попутном фрезеровании необходимо, чтобы станок был в хорошем состоянии и имел устройство для устранения зазора в механизме подачи.
При попутном и встречном фрезеровании можно работать при движении стола в обоих направлениях, что позволяет выполнять черновое и чистовое, фрезерование за одну операцию.
Цилиндрические фрезы широко используются в единичном и, серийном производстве.
Торцовыми фрезами можно обрабатывать и ступенчатые плоские поверхности, имеющие свободный вход и выход для фрезы.
Торцовые фрезы имеют ряд преимуществ по, сравнению с цилиндрическими. Они обеспечивают равномерное фрезерование даже при небольших припусках на обработку, так как угол контакта фрезы с заготовкой зависит только от диаметра фрезы и ширины заготовки. Длина дуги контакта здесь значительно больше, чем при фрезеровании цилиндрическими фрезами. Для оснащения сборных торцовых фрез требуется меньше быстрорежущей стали или твердого сплава. Установка торцовой фрезы непосредственно в шпиндель станка исключает необходимость в применении длинных и недостаточно жестких оправок, неизбежных при работе цилиндрическими насадными фрезами, и позволяет использовать фрезы диаметром до 800-1000 мм и более.
Фрезерование плоскостей торцовыми фрезами осуществляется на вертикально- и продольно-фрезерных станках, а также и на горизонтально-фрезерных станках с установкой фрезы непосредственно в шпинделе станка.
Схемы фрезерования поверхностей на горизонтально- и вертикально-фрезерных станках.
Движения, участвующие в формообразовании поверхностей в процессе резания, в схемах указаны стрелками.
Горизонтальные плоскости фрезеруют на горизонтально-фрезерных станках цилиндрическими фрезами (рис.7,а) и на вертикально-фрезерных осанках - торцовыми фрезами (рис.8,а), цилиндрическими фрезами целесообразно обрабатывать горизонтальные плоскости шириной до 120 мм, при этом длина фрезы должна быть немного больше ширины обрабатываемой заготовки. В большинстве случаев плоскости удобнее обрабатывать торцовыми фрезами вследствие большей жесткости их крепления в шпинделе и более плавной работы, так как число одновременно работающих зубьев торцовой фрезы больше числа зубьев цилиндрической фрезы.
Рис.7 Схемы фрезерования плоскостей на ГФС
Вертикальные плоскости фрезеруют на горизонтально-фрезерных станках торцовыми фрезами (рис.7,б) и торцовыми фрезерными головками, а на вертикально-фрезерных станках - концевыми фрезами (рис.8,б).
Наклонные плоскости и скосы фрезеруют торцовыми (рис.8,в) концевыми (рис.8,г) фрезами на вертикально-фрезерных станках, у которых фрезерная головка со шпинделем поворачивается в вертикальной плоскости. Скосы фрезеруют на горизонтально-фрезерном станке одноугловой фрезой (рис.7,в).
Рис.8 Схемы фрезерования плоскостей на ВФС
Комбинированные поверхности фрезеруют набором фрез (рис.7,г) на горизонтально-фрезерных станках. Точность взаиморасположения обработанных поверхностей зависит от жесткости крепления фрез по длине оправки. С этой целью применяют дополнительные опоры (подвески), избегают использования несоразмерных по диаметру фрез (рекомендуемое отношение диаметров фрез не более 1,5).
Уступы и прямоугольные пазы фрезеруют дисковыми (рис.7,д) и концевыми (рис.8,д) фрезами на горизонтально- и вертикально- фрезерных станках.
Уступы и пазы целесообразнее фрезеровать дисковыми фрезами, так как они имеют большее число зубьев и допускают работу с большими скоростями резания.
Угловые пазы фрезеруют одноугловой и двухугловой (рис.7,е) фрезами на горизонтально -фрезерных станках.
Паз типа "ласточкин хвост" фрезеруют на вертикально-фрезерном станке за два прохода: прямоугольный паз - концевой фрезой, затем скосы паза концевой одноугловой фрезой (рис.8,е).
Т-образные пазы (рис.8,ж), которые широко применяют в машиностроении как станочные пазы, например, на столах фрезерных станков, фрезеруют обычно за два прохода: вначале паз прямоугольного профиля концевой, реже дисковой фрезой, затем нижнюю часть паза - фрезой для Т-образных пазов.
Закрытые шпоночные пазы фрезеруют концевыми фрезами (рис.8,з), а открытые - концевыми фрезами или шпоночными на вертикально-фрезерных станках. Точность получения шпоночного паза является важным условием при фрезеровании, т.к. от нее зависит характер посадки на шпонку сопрягаемых с валом деталей. Фрезерование шпоночной фрезой обеспечивает получение более точного паза; при переточке по торцовым зубьям диаметр шпоночной фрезы практически не изменяется.
Инструмент
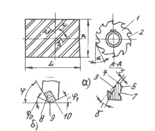
| Элементы и геометрия фрезы. На рис.3 показана цилиндрическая фреза с винтовыми зубьями. Она состоит из корпуса 1 и режущих зубьев 2. Зуб фрезы имеет следующие элементы: переднюю поверхности 3, заднюю поверхность 6, спинку зуба 7, ленточку 5 и режущие лезвия 4. У цилиндрических фрез различают углы: передний γ, измеряемый в плоскости А-А, перпендикулярной к режущему лезвию; главный задний α, измеряемый в плоскости, перпендикулярной к оси фрезы; угол наклона зубьев ω. Передний угол γ облегчает образование и сход стружки. Главный задний угол α обеспечивает благоприятные условия перемещения задней поверхности зуба относительно поверхности резания и уменьшает | ||
| трение на этих поверхностях. | Рис.3. Элементы и геометрия фрезы |
Угол наклона зубьев ω обеспечивает более спокойные (без рывков) условия резания по сравнению с прямым зубом и придает направление сходящей стружке.
У зуба торцевой фрезы (рис.3б) режущее лезвие имеет более сложную форму. Оно состоит из главного режущего лезвия 8, переходного лезвия 9 и вспомогательного лезвия 10. Зуб торцевой фрезы имеет главный угол в плане φ, измеряемый между проекцией главного режущего лезвия на осевую плоскость и направлением подачи. Вспомогательный угол в плане φ1, составляет 5-10°. Чем меньше этот угол, тем ниже шероховатость обработанной поверхности. Угол в плане на переходном режущем лезвии φ0 = φ/2. Величины углов фрезы влияют на качество обработки и выбираются по справочным материалам в зависимости от материала фрезы и заготовки, требований к качеству обрабатываемой поверхности и другим данным.
















