Чётные (1073660), страница 8
Текст из файла (страница 8)
Р
ежущим инструментом здесь служит сверло, которое дает возможность получать отверстия в сплошном материале и увеличивать диаметр ранее полученного отверстия (рассверливание). Главное движение при сверлении - вращательное, движение подачи поступательное.
Спиральное сверло (Рис. 65, а) - инструмент цилиндрической формы, на поверхности которого имеются две винтовые канавки, образующие режущие кромки. Сверло состоит из рабочей части и хвостовика, соединенных между собой шейкой. Хвостовик служит для закрепления сверла в патроне или шпинделе станка. Хвостовики бывают конические и цилиндрические.
Рабочая часть сверла выполняет основную работу резания. Режущие кромки образуются пересечением передних поверхностей спиральных канавок с торцевыми поверхностями сверла.
Поперечная кромка (перемычка) образуется пересечением двух задних (торцевых) поверхностей сверла. Наличие ее отрицательно влияет на процесс резания, затрудняя проникновение сверла в металл.
Основным углом, определяющим форму режущей кромки сверла является угол при вершине 2φ. Он оказывает влияние на правильность работы и производительность сверла. Величина угла при вершине сверла 2φ зависит от свойств обрабатываемого материала: например для стали 2φ = 116-120°, а для латуни и алюминиевых сплавов 2φ = 130-140°.
Оборудование для сверления и способы сверления
Р
азличают два основных способа сверления: 1) на станках сверлильной группы - движение резания и движение подачи осуществляет сверло, 2) на станках токарной группы - движение резания осуществляется при вращении обрабатываемой детали, а движение подачи - перемещением сверла. При сверлении глубоких отверстий обработка часто производится при совместном встречном вращении детали и сверла.
В приборостроении наибольшее распространение получили настольно-сверлильные станки (Рис. 66, а). и вертикально-сверлильные (Рис. 66,ба),на которых обработка осуществляется по первому способу.
Настольно-сверлильные станки устанавливаются по 2-3 штуки на один стол так, чтобы оператор, сидя на вращающемся стуле, доставал руками до рабочих органов каждого станка.
Дискретная клино-ременная коробка скоростей 2 устанавливается на колонне 1. Шпиндель 7 приводится во вращение электродвигателем 3, подача шпинделя осуществляется вручную через рукоятки 12. Стол 5 служит для установки приспособления с деталью .Для регулировки головки по высоте используются ручки 4.
Вертикально-сверлильные станки предназначаются для сверления, зенкерования, развертывания отверстий в деталях, а также нарезания резьб машинными метчиками.
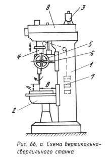
Основным узлом вертикально-сверлильного станка (Рис. 66, а) является сверлильная головка (шпиндельная бабка) 8. Головка монтируется, на колонне 1 сверху. Снизу на колонне установлен стол 2, который может перемещаться вверх-вниз по направляющим колонны при вращении, рукоятки подъема стола. Шпиндель 4 приводится во вращение электродвигателем 3 через механизм головки 8, которым можно изменять число оборотов шпинделя. Ручная подача шпинделя осуществляется штурвалом 5.
Сверление по второму способу осуществляется на токарных, токарно-револьверных и других станках. При сверлении на токарном станке деталь закрепляется в патроне, а сверло устанавливается в пиноли задней бабки. Подача осуществляется вращением маховика 16 пиноли.( см. рис. 22 гл.3)
44. Развертывание – инструмент и оборудование.
Р
азвертывание. Развертывание является основным способом чистовой обработки отверстий диаметром до 400 мм H7-H8 квалитетов точности. Развертыванию всегда предшествует сверление, зенкерование или растачивание.
Инструмент. При развертывании используют инструмент – развертку (Рис. 73). Развертка состоит из рабочей части, шейки и хвостовика (см. рис. 73, а)заменить рис.или крупнее Хвостовик машинных разверток – конический, ручных разверток – цилиндрический с квадратом под вороток. сделать подписи на стрелках
На рабочей части развертки различают направляющий конус, режущую часть и калибрующую часть. Направляющий конус облегчает введение развертки в отверстие. Режущая часть расположена под углом φ к оси развертки (φ = 4-15°). Калибрующая часть состоит из двух участков: цилиндрического длиной l1 и конического длиной l2 c обратной конусностью (1:50). Обратную конусность делают для уменьшения трения инструмента об обрабатываемую поверхность и уменьшения величины разбивки отверстия. Режущие зубья на этом участке имеют узкие шлифованные ленточки шириной 0,05 – 0,2 мм, которые направляют развертку в отверстия, а кромка ленточки зачищает отверстия, обеспечивает высокую чистоту поверхности. Шаг между зубьями развертки, как правило, делается неравномерным. Если у развертки, например, 12 зубьев, то центральный угол составляет не 30°, а последовательно 33°, 34°30’, 36°, 37°30’, 39°, при этом противолежащие зубья располагаются на одном диаметре, что важно для контроля развертки. Неравномерность шага устраняет попадание режущей кромки в одно и то же место на поверхности отверстия в момент биения развертки из-за колебаний частоты вращения.
Стандартные развертки имеют от 6 до 12 зубьев..
Различают цилиндрические, ступенчатые и конические развертки.
Ручные цилиндрические развертки с прямыми и винтовыми зубьями используются для обработки отверстий диаметром от 3 до 50 мм; машинные цельные с цилиндрическим и коническим хвостовиками для отверстий диаметром от 25 до 80 мм; машинные со вставными регулируемыми ножами - для отверстий диаметром от 40 - до 100 мм; машинные насадные твердосплавные для отверстий диаметром от 52 до 300 мм.
Развертка снимает значительно меньший припуск, чем зенкер, имеет угол в плане и большее число зубьев. Зубья развертки снимают стружку малой толщины и большой ширины, что позволяет применять при развертывании большие подачи.
К
онструктивные особенности разверток таковы, что в процессе работы они испытывают большие радиальные и незначительные осевые нагрузки, сами стремятся установиться по отверстию и не обеспечивают точности направления оси отверстия. Поэтому для обеспечения точности направления оси отверстия его перед развертыванием необходимо обработать резцом или другим инструментом с принудительным центрированием и точным направлением .Короче, развертка не обеспечивает точность координирующего размера. Если развертка закреплена жестко, то незначительная несоосность с осью отверстия вызывает неравномерное срезание припуска: отверстие будет иметь больший диаметр у концов и меньший в середине (Рис. 74 а, б).
Закрепляться развертка должна таким образом, чтобы во время работы она свободно устанавливалась по отверстию или имела точное направление. Это достигается с помощью самоустанавливающихся качающихся оправок (Рис. 75).
Иногда развертку направляют кондукторные втулки. Так же как и при зенкеровании, направление может быть нижним, верхним или двойным. На направляющей части развертки образуют канавки для размещения стружки.
Принудительное направление применяют иногда для предотвращения разбивания короткого отверстия при входе и выходе развертки.
Для отверстий диаметром от 6 до 120 мм общий припуск на предварительное и чистовое развертывание составляет 0,2-0,4 мм. Для точных отверстий применяют двойное развертывание (т.е. два развертывания подряд разными развертками).. При предварительном развертывании снимается 80% величины припуска, а при чистовом – 20%.
Режимы резания при развертывании. Подача принимается в 2 – 3 раза большей, а скорость резания в 2 – 3 раза меньшей, чем при сверлении отверстия такого же диаметра.
В зависимости от диаметра и требуемой точности отверстия развертывание производят одной или двумя развертками. Отверстия 9-го квалитета точности получают однократным развертыванием. При обработке развертками можно получить отверстия и H6 квалитета точности, однако такая высокая точность экономически не оправдывает себя (повышаются затраты на содержание разверток в надлежащем состоянии, используются рабочие более высокой квалификации, а иногда и ручное развертывание).
Шероховатость поверхности при развертывании достигается Ra (5 – 0,32).
При развертывании выделяется большое количество тепла, что приводит к нагреву детали и вследствие этого к конусности обрабатываемого отверстия. Поэтому точность размеров отверстия будет выше при развертывании на больших подачах с обильным охлаждением.
Отверстия больших диаметров, короткие, глухие и с прерывистыми поверхностями, как правило, развертками не обрабатываются.
Чистовая обработка отверстий развертыванием применяется преимущественно в единичном и мелкосерийном производстве. Объясняется это тем, что стоимость изготовления разверток, допускающих небольшое число переточек, а также расходы на их переточку значительно превышают стоимость разверток выполнения операций. Стойкость разверток невелика - 300-500 отверстий в чугунных деталях и 80-100 - в стальных.
46. Протягивание отверстий
Протягивание отверстий
Протягивание находит широкое применение в крупносерийном и массовом производстве для окончательной обработки отверстий различной формы (круглых, треугольных, квадратных и т.д.) (рис.90) размеров от 3 до 300 мм с точностью Н6 – Н9 квалитетов, шероховатости поверхности
. Длина протягиваемого отверстия обычно не превышает трехкратной величины ее поперечника. Перед протягиванием отверстия обрабатывают сверлом, зенкером или резцом.
Инструмент. Процесс протягивания осуществляется многозубым инструментом – протяжкой на горизонтально- и вертикально-протяжных станках. Обычно протяжка – это стержень в поперечном сечении, имеющий форму, обрабатываемого отверстия. Конструкцию протяжки рассмотрим на примере круглой протяжки, показанной на рис. Стержень протяжки состоит из нескольких частей - передней части
и задней части
, которыми протяжка крепится на станке; и рабочей части, разделенной на режущую
, осуществляющей резание и калибрующую части.
Рис Составные части внутренних круглых протяжек (а) и фрагменты продольного сечения
Каждый последующий зуб режущей части протяжки выше предыдущего на величину
(подъем на зуб), равной толщине срезаемого слоя «а» каждым зубом. На черновой режущей части толщина ”а” срезаемого слоя каждым зубом достигает 0,2 мм, а на чистовой ”а”
мм.
Калибрующие зубья не имеют подъема на зуб, они сглаживают отдельные неровности на обработанной поверхности, образованные режущими зубьями, а также служат резервом для пополнения режущих зубьев при изменении их размеров при переточках и обеспечивают правильное направление и центрирование протяжки при выходе из резания последних режущих зубьев. Конструктивное оформление и размеры калибрующих зубьев такие же, как у режущих зубьев, или с уменьшением шага
и глубиной
. Обычно количество зубьев на калибрующей части принимают 4 – 8. Иногда за калибрующими зубьями располагают выглаживающие, которые закруглены и при движении протяжки как бы развальцовывают обрабатываемое отверстие. Величина подъема на зуб у выглаживающих зубьев от 0,005 до 0,02 мм.
















