Исправленная и дополненная обработка наружных поверхностей2 (1073590), страница 7
Текст из файла (страница 7)
Шлифование с поперечной подачей (способом врезания) осуществляется поперечной подачей ведущего круга по направлению к шлифуемому кругу. Перед этим деталь укладывается на опору сверху или сбоку. Обработка до определенного размера осуществляется за счет сближения кругов. По окончанию шлифования, ведущий круг отводится, деталь снимается и закладывается новая.
При этом способе оси ведущего и рабочего кругов параллельны. Подача ведущего круга принимается от 0,003 до 0,01 мм на оборот детали.
Шлифование способом врезания применяется при обработке деталей с буртиками или имеющих форму конуса.
Бесцентровое шлифование в один проход обеспечивает 3-й класс точности, при шлифовании в 2-3 прохода - 2-й класс точности.
Бесцентровое шлифование обладает рядом преимуществ перед круглым шлифованием:
1) более высокая производительность, что является основным преимуществом,
2) можно назначить значительно меньший припуск под шлифование, так как исключаются ошибки, возникающие из-за закрепления деталей,
3) нет необходимости применять люнеты при шлифовании длинных деталей,
4) благодаря простоте управления станком высокая точность обработки достигается при средней квалификации шлифовальщика,
5) станок легко автоматизируется и встраивается в автоматические линии.
К недостаткам бесцентрового шлифования относятся:
1) нельзя достигнуть точной концентричности наружной и внутренней цилиндрических поверхностей,
2) настройка и регулировка бесцентрово-шлифовальннх станков особенно при шлифовании ступенчатых валиков, требует значительной затраты времени, что окупается только при больших партиях деталей.
Способы шлифования наружных конических поверхностей
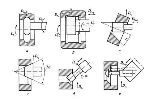
Наружные конические поверхности можно шлифовать на кругло-шлифовальных станках путем: поворота стола; поворота передней бабки; поворота бабки шлифовального круга.
Внешние конические поверхности, имеющие небольшой уклон, шлифуют в центрах с поворотом верхней части стола на угол уклона
(рис.62,в). Поворот производят по шкале, деления которой нанесены на прижимной правой накладке стола. Наибольший поворот стола возможен до 7°. Это даёт возможность шлифовать конус с углом 12-14°. Такая установка стола позволяет расположить образующую обрабатываемой поверхности конуса параллельно направлению продольной подачи Sпp. Поперечная подача Sп осуществляется бабкой шлифовального круга.
Конические поверхности с большим уклоном небольшой длины шлифуют в патроне, поворачивая переднюю бабку на величину угла уклона а (рис.62,а). Шлифование производят с продольной подачей стола Sпp. После каждого прохода шлифовальному кругу дают подачу St.
Внешние конические поверхности с большим уклоном и большой длины шлифуют в центрах с поворотом салазок бабки шлифовального круга в положение (рис.62,б), при котором ось салазок параллельна образующей конуса. В этом случае продольная подач Sпp может быть осуществлена только перемещением бабки шлифовального круга вручную. Подача на глубину St производится продольным перемещением стола влево.
Суперфиниширование
Суперфиниширование - это один из наиболее совершенных и производительных процессов, позволяющих получать поверхности шероховатостью 0.16-0.04, а в отдельных случаях и 0.02. Этот метод обработки целесообразно применять в условиях массового производства.
Принципиальная схема суперфиниширования показана на рис.63,а.
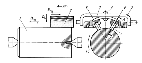
Наружные цилиндрические поверхности 1 можно обрабатывать колеблющимися брусками 2 с продельным перемещением Sпp их относительно вращающейся детали вместе с кареткой 4. Бруски поджимаются к обрабатываемой детали тарированной пружиной 3 с небольшим давлением от 1 до 5 кгс/см2.
Процесс ведется с применением смазочно-охлаждающей жидкости малой вязкости (керосин или керосин с добавкой 10%-ого веретенного масла), обеспечивающей очистку абразивных брусков от отходов и охлаждения.
В начале обработки (рис.63,б), когда площадь контактирования абразивных брусков с поверхностью детали мала, а давление на эту площадь большое, масляная пленка на ней не препятствует резанию и абразивные зерна брусков срезают микронеровности (рис.63,в). По мере обработки площадь контактирования увеличивается, и давление на поверхность уменьшается; масляная пленка начинает препятствовать резанию и процесс резания постепенно ослабевает (рис.63,г).
Затем наступает такой момент, когда площадь контактирования абразивных брусков с обрабатываемой поверхностью детали увеличивается на столько, что масляная пленка уже не разрывается и процесс снятия стружки автоматически прекращается (рис.63,д).
За один цикл движения бруска абразивное зерно изменяет направление относительного движения, при этом меняется и его режущее грани, поэтому в каждый период движения зерно режет металл разными гранями. Это - одна из наиболее, важных особенностей процесса суперфиниширования. Так как в процессе резания участвует большое число режущих граней и при изменении направления движения зерен они очищаются от стружки, условия обработки значительно улучшаются.
Снимаемый при суперфинишировании слой металла настолько мал, что трудно говорить о припуске на обработку в обычном смысле этого слова. Если после шлифования средняя высота микронеровностей составляет 0,5-0,75 мкм, то после суперфиниширования она снижается до 0,15-0,20.
Оборудование. Для суперфиниша отечественная промышленность выпускает несколько моделей как универсальных, так и специальных станков. Универсальные станки моделей ВС-22 и ВС-23 предназначены для обработки наружных цилиндрических поверхностей деталей, устанавливаемых в центрах или приспособлениях.
Рисунок 12.9. Схема суперфиниширования наружной цилиндрической поверхности:
1 – заготовка; 2 – брусок; 3 – тарированная пружина; 4 – заклепка; 5 – головка; Р – усилие давления на брусок
Параметры процесса. Производительность процесса суперфиниша и качество получаемой поверхности зависят от рационального выбора основных параметров: 1) давления на обрабатываемую поверхность (1-5 кгс/см2), 2) скоростей колебательного и вращательного движений - частота колебаний брусков составляет 1000-300 дв.ход-мин при амплитуде колебаний - 1.5-6 мм; окружная скорость детали 2.5 м/мин; скорость возвратно - поступательного перемещения в пределах 1-3 м/мин, 3) высоты микронеровностей на обрабатываемой поверхности - не должны превышать 2-3 мш.
Суперфиниш частично исправляет погрешность формы обрабатываемой поверхности.
Рисунок 12.4. Внутреннее шлифование фасонных (а), цилиндрических (б) и конических (в, г, д, е) поверхностей с поперечной (а, б, г) и продольной (в, д, е) подачами:
α- половина угла конуса
Рисунки из книги:
Рисунок 12.2. Схемы бесцентрового шлифования:
а, б – с продольной подачей заготовки; в, г – модель гиперболоида и ведущего круга; д – с поперечной подачей круга; 1 – ролики; 2 – рабочий круг; 3 – заготовка; 4 – призма; 5 – ведущий круг; 6 – опорный нож; 7, 8 – диски; КМ – гибкие нити; АВ – линия контакта ведущего круга и заготовки; α – угол наклона оси ведущего круга
Рисунок 12.4. Внутреннее шлифование фасонных (а), цилиндрических (б) и конических (в, г, д, е) поверхностей с поперечной (а, б, г) и продольной (в, д, е) подачами:
α- половина угла конуса
Рисунок 12.9. Схема суперфиниширования наружной цилиндрической поверхности:
1 – заготовка; 2 – брусок; 3 – тарированная пружина; 4 – заклепка; 5 – головка; Р – усилие давления на брусок
Рисунок 12.10. Хон (а) и схема штрихов на обрабатываемой поверхности (б):
1 – хвостовик; 2 – корпус; 3 – разжимной шток; 4 – абразивный брусок; φ – угол скрещивания штрихов обработки
Рисунок 44. Подрезание торца детали, закрепленной в патроне
Рисунок 45. Подрезание торца детали, установленной в центрах
















