Исправленная и дополненная обработка наружных поверхностей2 (1073590), страница 2
Текст из файла (страница 2)
При обработке нежестких цилиндрических деталей на станке с высотой центров менее 500 мм применяют подвижный люнет, который устанавливается и закрепляется на суппорте и в процессе работы перемещается вместе с ним.
При обработке детали с подвижным люнетом шейку протачивать на ней не надо, так как для установки кулачков 1 (рис.28) служит обработанная поверхность, по которой они и перемещаются. При использовании подвижного люнета расстояние а между точкой приложения усилия резания и опорой, создаваемой кулачками, остаётся постоянным в течении всей обработки детали.
Обработка в патронах. В патронах обрабатывается, как правило, жесткие и короткие (l/d=1.5) детали
Рисунок 8
Существует большое число различных типов патронов: четырёхкулачковые с индивидуальным приводом кулачков, самоцентрирующие, трёх и двух кулачковые, самозажимные, цанговые, мембранные, магнитные и др.
В единичном производстве при обработке деталей сложной и несимметричной формы применяют четырёхкулачковые патроны с индивидуальным и ручным приводом. Независимое перемещение каждого кулачка позволяет использовать иногда четырёхкулачковые патроны при точной обработке деталей тел вращения.
В производствах всех типов широко распространены самоцентрирующие патроны. Они пригодны для установки деталей с базовыми поверхностями любой формы. Для этого достаточно к основным кулачкам патрона прикрепить специальные губки или дополнительные кулачки.
Примеры использования самоцентрирующих патронов с дополнительными кулачками приведены на рисунке рис.29. Дополнительные кулачки 1 для закрепления длинных и большого диаметра деталей показаны на рис.29,а,б. Возможно закрепление деталей за обратную коническую поверхность (рис.29,в), если угол уклона конуса превышает 4-6°. Если.на дополнительные кулачки нанести насечку, то закрепление деталей за необработанную поверхность может быть надежным и при большем угле наклона конуса. При необработанных конических поверхностях детали только один из трёх кулачков патрона может быть жёстким, а остальные два должны быть снабжены качающимеся губками (рис.29,г).
Для закрепления тонкостенных втулок с обработанными наружными поверхностями применяют дополнительные кулачки с увеличенными рабочими поверхностями (рис.29,д). Нежесткие дополнительные кулачки (рис.29,е) можно использовать для закрепления тонкостенных втулок с необработанной наружной поверхностью. Примеры закрепления тонкостенных дисков в патроне с дополнительными кулачками показаны на рис.28,ж. Очень тонкий диск с обрабатываемым в нем отверстием небольшого диаметра (рис.29,з) поддерживается пружинными подпорками 3, расположенными в дополнительных кулачках Закреплены подпорки 3 винтами 2.
Основным недостатком самоцентрирующих патронов является невысокая точность центрирования: 0,06-0,12 мм у патронов со спиральным диском и 0,03-0,08 -у клиновых и рычажных патронов.
Для установки тонких дисков при обработке торцевых поверхностей применяют электромагнитные патроны и патроны с постоянными магнитами.
Обработка на угольниках. В тех случаях, когда форма детали не позволяет установить и закрепить ее в патроне или непосредственно на планшайбе, применяют дополнительное устройство в виде угольника, который крепится непосредственно к планшайбе. Установка и закрепление подобных деталей при подрезке торца у фланца показаны на рис.30. Угольник 1 с точными взаимно перпендикулярными плоскостями закреплен болтами 2 на планшайбе 3. Деталь 5 в виде патрубка устанавливается так, чтобы обрабатываемая плоскость была расположена параллельно планшайбе. При обработке деталей на угольниках с несимметричным расположением вращающихся масс относительно оси шпинделя необходимо произвести балансировку путем прикрепления к планшайбе груза 4.
Рисунок 9 Обработка на угольнике. 1- угольник 2- болт, 3- планшайба, 4-противовес, 5- деталь.нет цифры 1
В серийном производстве применяют специальное приспособление типа угольник, которое предназначено для обработки одной детали.
Обработка на оправках. При обтачивании наружных поверхностей у деталей с уже точно обработанным отверстием для установки их и закрепления применяют оправки. Имеются различные конструкции оправок.
Жесткие оправки.Одна из самых простых по конструкции оправок приведена на рис.31 ,а - жесткая коническая оправка.
Рисунок 10 Обработка на жестких оправках. а) коническая оправка, б) цилиндрическая оправка рис поставить горизон и соосно
Средняя часть оправки изготовляется с очень небольшой конусностью -1/2000. Диаметр D делается несколько меньше наименьшего возможного диаметра отверстия обрабатываемой детали. Деталь насаживается на оправку ударами медного молотка или под прессом и удерживается на ней силами трения. Недостатком конусной оправки является то, что положение детали на ней зависит от величины допуска на 0D заготовки. Для работы на настроенном станке такая оправка не пригодна.
На оправке, приведенной на рис.31 ,б положение детали в осевом направлении определяется буртиком А оправки. Чтобы снять обработанную деталь 1 с оправки, достаточно немного отвернуть гайку 4 и убрать шайбу 3, имеющую вырез. Диаметр D
рабочей части оправки выполняется по скользящей посадке 6-го квалитета точности. Таким образом, возможная погрешность установки детали лежит в пределах зазора при указанной посадке и данном отверстии в детали.
Разжимные оправки применяют для закрепления деталей, у которых разница в диаметрах отверстий может доходить до 0,5-2,0 мм.
Рисунок 11 разжимные оправки. а) цанговая, б) тарельчатая
1-гайка, 2- заменить цанговую оправку, 5 -деталь
Заготовки диаметром до 60 мм целесообразно закреплять не в кулачковом патроне, а в цанговой оправке (рис.32,а). Цанга 4 (тонкостенная стальная втулка с прорезями), сжимаясь при навёртывании гайки 1 на резьбу цилиндрического участка корпуса 3 оправки, обжимает заготовку 5 по наружной поверхности.
Оправки с тарельчатыми пружинами являются более точными, чем рассмотренные выше. Они применяются для закрепления небольших деталей.
Оправка, показанная на рис.32,б предназначена для закрепления коротких, но сравнительно большого диаметра деталей. При завертывании винта 7 втулка 6 с фланцем перемещается в центрирующем ее отверстии корпуса и действует на комплект пружин 8, выпрямляет их, чем и достигается закрепление заготовки 5.
Быстродействующие самозажимные оправки применяются для черновой обработки при снятии больших припусков. Они не обеспечивают точного центрирования детали из-за ее одностороннего смещения в пределах зазора.
Рисунок 12
Схема самозажимных оправок с роликами и кулачками приведена на рис.33. На корпусе 1 оправки образован один или несколько вырезов с профилем в виде плоскости (рис.33.а) или криволинейной поверхности. Между опорным профилем оправки и отверстием обрабатываемой детали 2 установлены закаленные ролики 3 или кулачки 3, заключённые в обойму 4. Принцип действия этих оправок основан на заклинивании обрабатываемой детали роликами или кулачками в результате совместного действия крутящих моментов на оправке и резце, направленных в противоположные стороны.
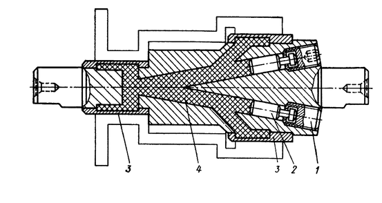
Гидропластовые оправки см. обработка оправ
Рис. 3.3. Гидропластовая оправка для крепления тубуса.
1- винт, 2- плунжер, 3- тонкостенные втулки, 4- гидропласт
4. Выбор режимов резания
Высокая производительность токарной обработки, точность и качество поверхностей достигаются правильным выбором режимов резания. Режимы резания выбирают в зависимости от материала заготовки и резца, от припуска на обработку, от требуемой точности и шероховатости поверхности детали, жесткости заготовки и резца применяемой СОЖ и других факторов. Последовательность выбора режимов резания может быть представлена следующей схемой.
Прежде всего, назначают глубину резания, стремясь срезать весь припуск за один рабочий ход. Если жесткость заготовки недостаточна или требуется высокая точность, обтачивание выполняют за несколько рабочих ходов. Для чернового прохода глубину резания принимают 3-5 мм, получистового 2-3 мм и чистового прохода 0,5-1 мм. Затем выбирают подачу. Выбор подачи зависит главным образом от допускаемой шероховатости поверхности готовой детали. Для черновых проходов подачу принимают 0,5 - 1,2 мм/об, а для чистовых 0,2-0,4 мм/об. Скорость резания выбирают в зависимости от многих факторов. Основной фактор - это стойкость резца, способность его выдерживать высокую температуру и сопротивляться истиранию режущей части.
5. Обработка гладких наружных цилиндрических поверхностей
Инструмент. Для токарной обработки наружных цилиндрических поверхностей применяют проходные резцы с режущей частью из быстрорежущей стали или твёрдого сплава.
Проходные резцы могут быть прямые (рис.34,а) и отогнутые (рис.34,б). Проходные резцы имеют главный угол в плане
= 30 - 60°. Для обработки нежестких деталей применяют упорные проходные резцы (рис.34,в). Для черновых проходов применяют резцы с радиусом R = 0,5 -1 мм, а для чистовых R = 1,5-2 мм, так как чем больше радиус при вершине, тем чище обработанная поверхность. Для чистового точения целесообразно применять чистовые резцы (прямые или отогнутые) с радиусом закругления 3 - 5 мм (рис. 35,а и б)
или широкие резцы (рис.35,в). Твердосплавные резцы для обработки хрупких материалов имеют острую кромку, а для обработки стали на кромке резца делают фаску (рис.36, а и б).
Схемы обработки. В условиях единичного или серийного производства применяют две схемы обработки цилиндрических поверхностей на токарных станках.
1. Обработка с перемещением резца в поперечном направлении.(имеет второе название – метод пробных ходов и промеров) Чтобы получить нужный диаметр d детали применяют метод пробных ходов и промеров. При этом резец подводят к вращающейся заготовке до соприкосновения с обрабатываемой поверхностью, фиксируя момент касания по появлению на заготовке едва заметной кольцевой риски. После этого резец отводят от заготовки продольным перемещением суппорта, затем поворотом рукоятки поперечного суппорта подают резец вперед, отсчитывая его перемещение по лимбу на величину тэ несколько меньшую, чем требуется для окончательного размера.
После этого, применяя ручную подачу, обтачивают участок поверхности на длину 3-5 мм. Затем резец вновь отводят в продольном направлении, станок выключают и измеряют диаметр d1 на обработанном участке, уточняют положение резца, переместив его вперед на величину (d1 - d)/2. После окончательной установки резца на размер остальные заготовки партии обрабатывают по лимбу (запомнив показания лимба) без пробных ходов, при этом резец может отводиться от заготовки в поперечном направлении на 5-6 мм (рис.37).
2. Обработка за один проход резцом, заранее установленным на размер (рис.38).(обработка на настроенном станке) В процессе обработки всей партии заготовок резец, установленный на размер d, не перемещается в поперечном направлении. После обтачивания детали на длине I её снимают, а резец отводят в исходное положение.(рис. а).
По этой схеме обрабатывают партию небольших по размерам одинаковых деталей. По ней же выполняют черновую, а иногда и получистовую обработку небольших партий деталей за две установки.
После обтачивания половины одной детали до диаметра 30 мм (рис. 38,б) она переустанавливается в центрах и при том же положении резца в радиальном направлении обрабатывается вторая половина детали (рис. 38в).
















