Лекция8-Кровообращение(продолжение) (1059254)
Текст из файла
Механика кровообращения (продолжение)
Течение в спадающихся (коллапсобильных) трубках и артериях.
Коллапс наблюдается в мягких податливых трубках, когда давление снаружи трубки превышает давление внутри нее. При сжатии трубки сначала сечение становится эллиптическим, а потом начинает схлопываться.
На рисунке представлена зависимость относительного изменения площади поперечного сечения от трансмурального давления в трубке:
где А0 – площадь трубки при нулевом давлении внутри нее.
Видно, что когда давление внутри трубки большое, трубка растянута и имеет круглое сечение. Растяжимость трубки при этом довольно мала. При уменьшении трансмурального давления площадь сечения уменьшается. Сплошная линия – кривая для полой вены собаки, пунктирная – для трубочки из латекса. Видно, что качественно кривые имеют схожий вид, но количественно величины сильно различаются. Вена более растяжима при большом давлении, и лучше держит форму при отрицательном давлении. На правом рисунке изображено относительное изменение периметра трубочки из латекса (треугольники) и вены (крестики) в зависимости от изменения давления. Видно, что при изменении давления периметр у вены меняется сильнее, чем у латексной трубочки, хотя их размеры одинаковы (внутренний диаметр вены и трубки 1,2 см, h/d=0,04). Это связано с тем, что модули Юнга обоих материалов различаются в 40 раз.
На рисунке представлено изменение формы сечения трубочки при изменении трансмурального давления. Форма трубочки при этом меняется от круга до «гантельки» - двух отдельных кружков, соединенных перемычкой.
При дальнейшем увеличении разницы давлений площадь открытых участков (маленьких кружочков) все больше и больше уменьшается, а длина перемычки между ними – увеличивается. Упругость трубочки препятствует полному схлопыванию просветов.
В некотором диапазоне трансмуральных давлений можно аналитически решить задачу о площади сечения схлопывающейся трубки:
При Pтм<-β, трубка без учета продольного натяжения
Где β – давление коллапса, т.е. давление, при котором трубка начинает схлопываться. Зная геометрические размеры трубки и модуль Юнга, можно рассчитать давление коллапса. Оказывается, что величина этого давления невелика:
Вены с радиусом 100-50 мкм β≈0,02 гПа
Нижняя полая вена собаки β≈0,15 гПа
Эксперимент показывает, что при давлении РТМ=-5гПа в яремной вене собаки сечение имеет форму эллипса, т.е. полного коллапса не происходит.
По формуле Моэнса-Кортевега можно получить значение скорости пульсовой волны
Где А – площадь сечения трубки.
Скорость пульсовой волны в венах 0,6-3 м/с, в то время как скорость кровотока в венах может достигать 1 м/с, т.е. U/С ≈1, Pпульс/ PТМ≈1. Поэтому могут возникать нелинейные эффекты.
Еще один немаловажный вопрос – имеется ли пульсовая волна в венах. Та пульсовая волна, которая идет от артерий, до вен не доходит, затухая в мелких сосудах. Но из-за того, что предсердие сокращается, идет обратная пульсовая волна по венам. Нелинейные свойства проявляются в том, что меняется форма пульсовой волны (происходит увеличение крутизны формы волны):
Рис. [Anliker et al., 1969]. Изменение формы волн при прохождении по брюшному отделу полой вены собаки.
В 60-70 гг. активно проводилось исследование течения жидкости в податливых трубках. Рассмотрим подробней один из экспериментов.
Резервуар, в котором находится жидкость, с помощью системы жестких трубок соединен с камерой. Регулируя с помощью крана сопротивление на входе, можно менять скорость кровотока. Давление Р1 - давление жидкости на входе в камеру. Внутри камеры есть некоторое давление Рк, которое действует на наружную поверхность мягкой трубочки, закрепленной в камере. На выходе из камеры измеряется давление Р2.
В данном эксперименте изменялось входное давление Р1, которое влияло на площадь сечения коллапсобильной трубочки. На левом рисунке изображена зависимость кровотока от разности давления на ходе и выходе камеры. На рисунке справа - вид сбоку на способный спадаться сегмент трубки на разных стадиях опыта; номера соответствуют помеченным числами точкам графика на А.
Когда давление Р1 и Р2 больше чем давление Рк, то трубочка полностью открыта. В тот момент, когда Р2 становится равно Рк, трубочка начинает пережиматься (начинает сжиматься выходное сечение трубочки). Этот момент соответствует форме 7 на верхних рисунках. При дальнейшем увеличении входного сопротивления кровоток продолжает падать, а разница давлений на входе и выходе камеры – расти. В некоторый момент времени (16 отсечка) давление в камере сравнивается с давлением на входе и начинает схлопываться входное сечение трубочки.
На рисунке В показаны три кривые, аналогичные кривой А, которые получены при трех разных значениях выходного сопротивления; давление в камере поддерживали постоянным (рк=3,9 . 103 Н • м-2). Каждая кривая -непрерывная запись, полученная при постепенном увеличении расхода; в некоторых случаях при режиме течения II возникали самовозбуждающиеся колебания, что видно из кривых. Аналогичные кривые получаются и в том случае, когда выходное сопротивление остается постоянным, а давление в камере изменяется.
Уравнения стационарного квазиодномерного потока несжимаемой жидкости в одиночной трубке
Будем рассматривать только стационарные потоки. Но даже из стационарных уравнений можно получить интересные эффекты.
Уравнения неразрывности имеет вид:
U*S=Q=const. (1)
Уравнение баланса импульса:
Площадь сечения – функция x, P («закон трубки»)
Из уравнений движения, неразрывности, закона трубки условия: давление на внешней поверхности трубки Рвн=const следует
То уравнение принимает вид
Видно, что если скорость U<<c, получаем обычное уравнение Пуазейля.
Если же трубочка податливая и U приближается к с, то в этом случае при той же величине Q градиент давления должен быть больше.
В уравнении (3) величина
может стать очень большой в 2-х случаях:
1) малое S- рост вязкого сопротивления
2) U→c приближение к звуковому барьеру- большое конвективное ускорение
Физически это означает, что в каком-то месте трубочка оказывается резко суженной. В этом месте линии тока начинают сильно сближаться. При этом возникает большое конвективное ускорение. Это ускорение приводит к большому перепаду давлений, поэтому
в этом месте будет увеличиваться. Увеличение
означает увеличение сопротивления. Если задано S=S(P), то уравнение (3) можно проинтегрировать по длине трубки и для задачи, в которой задано давление на входе P1, давление на выходе P2 и окружающее давление PL, где P1>PL>P2 получить решение Q=Ф(P1,PL,P2).
Представим зависимость площади сечения от трансмурального давления в виде:
Показатель степени n показывает, насколько резко изменяется площадь при отрицательном трансмуральном давлении. При n<2 происходит резкое снижение площади.
На рисунке показано изменение кровотока в зависимости от давления на конце трубки при различных n. Видно, что если трубка жесткая (n бесконечно большое), кровоток линейно зависит от давления. Если трубочка податливая, она начинает сжиматься. Чем меньше n, тем меньше увеличивается поток. Оказывается, что если n<2, то у этой зависимости есть асимптота, т.е. поток не может превысить определенной величины. Это явление называется запирание потока.
Упрощенное решение можно представить в виде
, P1>PL>P2 .
Запирание потока важно в следующих структурах:
-в системе дыхания для легочного кровообращения
-в трахее во время форсированного выдоха
-в мочеточнике
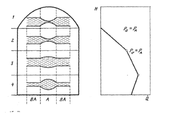
Легочное кровообращение
На левом рисунке изображена схема легочного кровообращения. Легкие от верхушки до оснований поделены на 4 зоны. В каждой из зон есть деление на альвеолярные сосуды (А), т.е. те сосуды, на внешнюю стенку которых действует альвеолярное давление, и внеальвеолярные сосуды (ВА), на которые действует давление в легочной ткани.
На правом рисунке изображено изменение кровотока по зонам в зависимости от высоты. В первой зоне артериальное и венозное давление крови меньше, чем давление воздуха в альвеолах, т.е. давление внутри сосудов меньше, чем давление снаружи. Поэтому сосуды в первой зоне сильно сдавлены, и кровоток практически равен нулю. Во второй зоне давление на артериальном конце сосуда становится больше альвеолярного давления, но давление на венозном конце меньше, чем давление воздуха в альвеолах. В этих условиях величина кровотока пропорциональна разности между давлением крови в сосудах и альвеолярным давлением. В этой зоне кровоток сильно возрастает по мере того, как мы опускаемся все ниже и ниже. На границе второй и третьей зоны величина венозного давления сравнивается по значению с альвеолярным давлением. Дальше трубочка не пережата. Далее кровоток возрастает мало, т.к. сосуды растянуты. В четвертой зоне кровоток падает, так как внеальвеолярные сосуды сдавлены весом самих легких.
Уравнения для каждой зоны можно представить в следующем виде:
1-я зона Q ≈ 0
2-я зона Q ≈(Pa-PA)/R
Характеристики
Тип файла документ
Документы такого типа открываются такими программами, как Microsoft Office Word на компьютерах Windows, Apple Pages на компьютерах Mac, Open Office - бесплатная альтернатива на различных платформах, в том числе Linux. Наиболее простым и современным решением будут Google документы, так как открываются онлайн без скачивания прямо в браузере на любой платформе. Существуют российские качественные аналоги, например от Яндекса.
Будьте внимательны на мобильных устройствах, так как там используются упрощённый функционал даже в официальном приложении от Microsoft, поэтому для просмотра скачивайте PDF-версию. А если нужно редактировать файл, то используйте оригинальный файл.
Файлы такого типа обычно разбиты на страницы, а текст может быть форматированным (жирный, курсив, выбор шрифта, таблицы и т.п.), а также в него можно добавлять изображения. Формат идеально подходит для рефератов, докладов и РПЗ курсовых проектов, которые необходимо распечатать. Кстати перед печатью также сохраняйте файл в PDF, так как принтер может начудить со шрифтами.
















