рисунки к Главе 9 (1043904)
Текст из файла
Рис.9.1. Влияние температуры на степень диссоциации α различных газов.
Рис.9.3. Влияние температуры на степень диссоциации СО2 и парциальные давления продуктов диссоциации.
Рис.9.5. Содержание азота в металле шва в зависимости от состава защитной атмосферы при Σ р =1·10-1 Мпа: 1 – рН2 +рN2; 2 – рN2; 3 – рО2 +рN2
Рис.9.2. Влияние температуры на степень однократной ионизации одноатомных газов и паров металлов.
Рис.9.4. Изменение %СО в присутствии твердого углерода при повышении температуры.
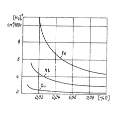
Рис.9.6. Равновесная растворимость атмосферных газов в Al, Cu, Ni а) и железе, б) в зависимости от температуры и фазового состояния железа при нормальном давлении (при температуре кристаллизации растворимость Н2 в Al падает от 0,69 до 0,036 см3/100г).
Рис.9.7. Снижение растворимости водорода в титане при высоких температурах.
Рис.9.8. Высокотемпературный участок диаграммы Fe – O: B-В1 – линия равновесия трех фаз: раствора [Fe+O]ж , жидкой закиси железа FeOж и газообразного кислорода.
Р
ис.9.9. Влияние содержания кислорода на механические свойства малоуглеродистой стали.
Рис.9.11. Влияние концентрации азота в низкоуглеродистой стали на ее механические свойства.
Рис.9.13. Зависимость растворимости в жидком металле водорода от концентрации в нем кислорода при температуре, близкой к температуре плавления металла.
Рис.9.10. Диаграмма состояния
железо-азот.
Рис.9.12. Влияние температуры и парциального давления водорода в газовой фазе на его растворимость в жидком железе.
Рис.9.14. Диаграмма плавкости Cu-O.
Рис.9.15. Диаграмма плавкости Ni – O (массовые доли).
Рис.9.17. Схема строения жидких кислых и основных флюсов: а- чистый кремнезем; б- раствор небольшого количества основных оксидов в кремнеземе (показаны кремнекислородные анионы: 1- Si3O96-; 2- Si6O1812-; 3- Si4O128-; 4- SiO44-); в- раствор небольшого количества кремнезема в основном окисле (показаны изолированные тетраэдры SiO44-); г- сплав основных окислов: ○- анионы кислорода; ○- катионы металлов основных оксидов; ●- катионы кремния.
Рис.9.16. Диаграмма плавкости Ti –O (атомные доли) для малых содержаний кислорода.
Рис.9.18.Зависимость вязкости расплавленных флюсов от температуры: 1- АН-22; 2- АН-348-А; 3- ФЦ-6; 4- АН-30.
Рис.9.20. Диаграмма плавкости системы CaO- SiO2 (массовые доли).
Рис.922. Диаграмма плавкости системы CaO-SiO2 (массовые доли).
Рис.9.24. График зависимости константы распределения L=(FeO/ГеО) от температуры.
Рис.9.19. Диаграмма плавкости системы SiO2-Al2O3 (массовые доли).
Рис.9.21. Диаграмма плавкости системы CaO- Al2O3 (массовые доли).
Рис.9.23. Схематический вид диаграммы плавкости системы CaO- SiO2- Al2O3
Рис.9.25. Условия равновесия железа, окислов железа, СО и СО2.
Рис.9.28. Зависимости содержания FeO от содержания Si в стали (равновесные концентрации).
Рис.9.30. Раскисляющая способность некоторых элементов при температуре 1873К.
Рис.9.26. Схема движения расплава из головной в хвостовую часть сварочной ванны.
Рис.9.27. Схема металлотермического восстановления оксидов металла при Т=const.
Рис.9.29. Схема легирования сварочной ванны горячей присадочной проволокой и характер ее усвоения: а- в головной; б- средней; в- хвостовой части ванны.
1- электрод; 2-проволока подогреваемая электроконтактным способом; 3- токоподвод; 4- ванна; 5- шов.
Рис.9.31. Сводная диаграмма плавкости Fe-S, Cu-S, Ni-S (массовые доли).
Рис.9.33. Снижение доли FeS в сульфидной фазе [FeS]/[MnS] при увеличении концентрации [Mn] в стали.
Рис.9.32. Макроструктура цента шва (х200) в зоне срастания кристаллитов передними гранями (в правой части горячая трещина).
Рис.9.34. Возможные формы полости газа, выделяющегося из твердого тела в жидкость.
Рис.9.35. Схемы формирования газовой полости и ее отрыва от фронта кристал- лизации металла шва: а,б- малая и большая скорость сварки соответственно.
1- газовая полость, оставшаяся в металле.
Характеристики
Тип файла документ
Документы такого типа открываются такими программами, как Microsoft Office Word на компьютерах Windows, Apple Pages на компьютерах Mac, Open Office - бесплатная альтернатива на различных платформах, в том числе Linux. Наиболее простым и современным решением будут Google документы, так как открываются онлайн без скачивания прямо в браузере на любой платформе. Существуют российские качественные аналоги, например от Яндекса.
Будьте внимательны на мобильных устройствах, так как там используются упрощённый функционал даже в официальном приложении от Microsoft, поэтому для просмотра скачивайте PDF-версию. А если нужно редактировать файл, то используйте оригинальный файл.
Файлы такого типа обычно разбиты на страницы, а текст может быть форматированным (жирный, курсив, выбор шрифта, таблицы и т.п.), а также в него можно добавлять изображения. Формат идеально подходит для рефератов, докладов и РПЗ курсовых проектов, которые необходимо распечатать. Кстати перед печатью также сохраняйте файл в PDF, так как принтер может начудить со шрифтами.
















