Химмотология ракетных и реактивных топлив (1043407), страница 19
Текст из файла (страница 19)
Компоненты жидких ракетных топлив при хранении, транспортировании и перекачивании не должны изменять своих физико-химических свойств, т. е. должны оставаться стабильными. Это достигается созданием необходимых условий хранения, транспортирования, перекачивания, подбором стойких к компонентам топлив конструкционных материалов и введением специальных добавок, которые повышают стабильность компонентов, но не влияют на их энергетические свойства. Важнейшим требованием является сохранение компонентов ракетного "топлива в жидком состоянии при их длительном хранении.
Высококипящие компоненты можно хранить в герметизированных стационарных резервуарах либо в топливных баках практически без потерь на испарение (герметичное хранение). Низкокипящие, или криогенные, компоненты ракетного топлива (жидкие фтор, кислород, монооксид фтора, водород, аммиак и др.) в условиях эксплуатации либо хранения имеют при максимальной температуре давление насыщенного пара выше допустимого по прочности топливных баков (резервуаров). Для сохранения их качества и снижения потерь от испарения при хранении необходимо принятие специальных мер, таких, как, тепловая изоляция баков (резервуаров), возврат конденсата и др. Хранение криогенных компонентов топлива связано со значительными потерями их от испарения, которые стремятся максимально уменьшить [4, 25].
5.1. ХРАНЕНИЕ, ТРАНСПОРТИРОВАНИЕ, ПЕРЕКАЧИВАНИЕ И НЕЙТРАЛИЗАЦИЯ ОКИСЛИТЕЛЕЙ
Хранение, транспортирование и перекачивание низкокипящих окислителей представляет сложную техническую задачу, так как окислители имеют небольшую скрытую теплоту испарения и значительную разницу между температурой кипения самого испарителя и температурой окружающего воздуха. Поэтому происходит непрерывное испарение их, что приводит к значи-
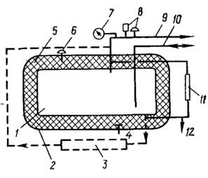
Рис. 5.1. Типовой резервуар для жидкого кислорода:
/—внутренний сосуд (резервуар); 2—наружный резервуар (кожух); 3— испаритель; 4— вакуумметр; 5 — тепловая изоляция, 6 — предохранительная мембрана кожуха; 7—манометр; 8 — предохранительное устройство (клапан, мембрана) внутреннего сосуда; 9 — труба для сброса газа; 10—сливно-наливная труба; 11—указатель уровня; 12—патрубок для отбора проб жидкого кислорода
тельной потере окислителей. Сложность задачи обусловливается и тем, что такие окислители, как жидкий фтор, монооксид фтора и озон,—ядовитые вещества, обладают высокой токсичностью, энергично взаимодействуют со многими органическими и неорганическими соединениями, часто с воспламенением.
Жидкий кислород хранят и транспортируют в специальных герметичных резервуарах, изготовленных из стойких к кислороду материалов с хорошей тепловой изоляцией. Обычно резервуары для жидкого кислорода состоят из двух или трех металлических сосудов, концентрически расположенных но отношению друг к другу. Центральный (внутренний) сосуд предназначен для жидкого кислорода. Между внутренним и наружным сосудами размещают тепловую изоляцию—насыпную^ вакуумно-порошковую (многослойную)—или поддерживают вакуум (высоковакуумная изоляция) [25, 99]. Схема типового резервуара для жидкого кислорода показана на рис. 5.1.
Тепловая изоляция имеет важное значение в технике транспортирования и хранения всех низкокипящих окислителей. Величина теплового потока к хранимой жидкости прямо пропорциональна коэффициенту теплопроводности тепловой изоляции, поверхности теплопередачи и разности температур окружающего резервуар воздуха и находящейся в нем жидкости (жидкого кислорода). Чтобы уменьшить скорость испарения жидкого кислорода, стремятся получить минимальный коэффициент теплопроводности тепловой изоляции и уменьшить поверхность теплопередачи.
С понижением температуры кипения и увеличением удельной поверхности изолируемого объекта потери жидкости от испарения резко возрастают при неизменной величине теплового потока. Так, вследствие малой теплоты парообразования (испарения) жидкий водород испаряется в 7,7 раза быстрее-жидкого кислорода при одинаковом подводе тепла [25, 100]. Тепловая изоляция должна обладать минимальным коэффициентом теплопроводности, малой влагоемкостью, низкой гигроскопичностью, невысокой плотностью, не взаимодействовать
с металлическими поверхностями оборудования, не быть горючей (что особенно важно при изготовлении оборудования для хранения кислорода) и должна удовлетворять ряду других требований.
Обычную насыпную (пористую) тепловую изоляцию на основе волокнистых, порошкообразных и пеноматериалов применяют в основном для защиты оборудования, используемого для хранения низкокипящих жидкостей типа жидкого метана. При хранении жидкого кислорода этот вид тепловой изоляции используют преимущественно для защиты отдельных видов оборудования, например трубопроводов. Достоинства насыпной изоляции—простота выполнения, невысокая стоимость, а недостаток—относительно высокий коэффициент теплопроводности. Возможно применение этой изоляции для стационарных резервуаров большой емкости (>100 м3).
Высоковакуумная изоляция позволяет резко снизить теплопередачу к сжиженному газу. Применение глубокого вакуума как изоляции исключает два вида потерь тепла — конвекцию и перенос тепла за счет теплопроводности. Сжиженному газу передается лишь тепло остаточных газов в вакуумной полости, -а также за счет излучения и теплопроводности конструкционных материалов. Создание глубокого вакуума (остаточное давление 1,3—0,13 мПа) в теплоизолирующем пространстве практически исключает перенос тепла из-за теплопроводности и конвекции газа. К недостаткам этого вида изоляции относятся необходимость надежной герметизации кожуха, трудность создания и поддержания в период эксплуатации высокого вакуума. Коэффициент теплопроводности высоковакуумной изоляции составляет примерно 4,6-10-4 Вт/(м*К), остаточное давление—от 0,13-10-2 до 0,13 Па. Такая изоляция нашла применение при защите сосудов для жидкого кислорода вместимостью 1—50 л.
Вакуумно-порошковая тепловая изоляция представляет со-оой порошкообразный материал, размещенный в вакуумиро-ванном пространстве. Наиболее распространенными материалами для вакуумно-порошковой изоляции являются аэрогель, перлит, кремнегель, а также стекловолокно. Коэффициент теплопроводности такой изоляции составляет (3—6) • 10-4 Вт/(м-К). Основные преимущества вакуумно-порошковой изоляции таковы: отсутствие необходимости в высоком вакууме и возмож- , ность создания разрежения (остаточное давление 1,33— 0,013 Па) с помощью обычного механического насоса; исключение необходимости полировки стенок (как правило, обязательной при высоковакуумной изоляции); возможность использования любых металлических материалов. Одним из недостатков этой изоляции являются трудности вакуумирования из-за большой поверхности и адсорбционность порошков [99, 101]. Вакуумно-порошковая изоляция нашла применение для изоляции трубопроводов, стационарных и транспортных резер
вуаров при хранении жидкого кислорода в сосудах вместимостью до 100 м3 и более.
Многослойная (вакуумно-многослойная, экранно-вакуумная) теплоизоляция представляет собой чередующиеся слои изоляционного и экранирующего материалов, помещенные в вакууме. Экраны выполняют из металлической фольги и разделяют прокладками из теплоизолирующего волокнистого материала. Наибольшее практическое распространение получила алюминиевая фольга, имеющая малую плотность, низкую стоимость и высокую отражательную способность, а также пленка из полиэфиров, на которую нанесено алюминиевое покрытие. В качестве теплоизолирующих прокладок широкое распространение получила стеклянная бумага, спресованная из очень тонких волокон. Многослойная изоляция позволяет снизить (на порядок) коэффициент теплопроводности по сравнению с вакуумно-порошковой изоляцией, уменьшить массу изоляции на единицу объема, сократить период охлаждения изоляции и предотвращает ее усадку (в отличие от вакуумно-порошковой изоляции). Несмотря на необходимость создания и поддержания высокого вакуума в межстенном пространстве (остаточное давление 1,3 мПа) и сложность монтажа, эту изоляцию используют для защиты трубопроводов и резервуаров любой емкости при хранении жидкого кислорода [99, 101].
Потери от испарения жидкости в значительной мере зависят от формы резервуара. Самая рациональная форма резервуара — сферическая (шаровая) или цилиндрическая, причем высота цилиндра должна быть равна диаметру. Для такого цилиндра величина потерь на 10% больше, чем- для шара того же объема [102]. Потери от испарения зависят и от вместимости резервуара, с увеличением которой они снижаются. С увеличением степени заполнения сосуда потери на испарение в единицу времени возрастают, а относительные потери уменьшаются [101].
Потери от испарения вследствие притока тепла через изоляцию зависят от габаритов и конструкции резервуаров. Эта сложная зависимость учитывается при конструировании резервуаров. На потери при испарении влияет также приток тепла по опорам, подвескам и трубам (тепловым мостам), который стремятся уменьшить за счет улучшения изоляции и конструкции этих элементов. Для уменьшения жидкого кислорода резервуары могут снабжаться специальными устройствами, например системой обратной конденсации, или устройствами, позволяющими экономно использовать образующийся при хранении газообразный кислород, например газонаполнительными станциями.
Хранение жидкого кислорода, как и любой криогенной жидкости, без потерь является важной задачей. Испарение жидкого кислорода приводит не только к потерям продукта, но и накоплению в нем различных, менее летучих примесей (масла и
ацетилена), что может создать аварийную ситуацию. Известно" несколько способов хранения жидкого кислорода без потерь. Все они связаны с применением дополнительного оборудования для резервуаров либо с затратой энергии, необходимой для обеспечения условий длительного хранения [101, 103].
Первый способ—обратная конденсация испарившихся паров кислорода. При втором способе хранения без потерь поддерживают температуру, равную (или ниже) температуре кипения жидкого кислорода (криостатирование). Если переохладить жидкий кислород ниже температуры кипения при соответствующем давлении, можно уменьшить потери от испарения, а при наличии хорошей изоляции резервуара—хранить в течение нескольких суток жидкий кислород практически без потерь [23, 104}.
Стационарные резервуары для хранения жидкого кислорода могут иметь насыпную, вакуумно-порошковую или вакуумно-многослойную изоляцию. Последнюю применяют главным образом в специальных резервуарах небольшой вместимости (до» 6—10 м3).
Вместимость железнодорожных цистерн для жидкого кислорода обычно составляет 30—50 м3, рабочее давление в них 0,25 МПа. Цистерны снабжены вакуумно-порошковой изоляцией, и потери от испарения равны 0,3% в сутки [25, 105]. Цистерну с жидким кислородом перед отправлением осматривают, обращая особое внимание на состояние арматуры, предохранительных устройств, контрольно-измерительных приборов и тепловой изоляции. Наличие снеговых пятен на кожухе указывает на значительное испарение жидкого кислорода и увеличение потерь вследствие снижения вакуума в изоляционном пространстве.
Жидкий кислород перекачивают с помощью специальных насосов, а также передавливанием газообразным азотом или сухим сжатым воздухом. Для переливания используют гибкие шланги (рукава) диаметром 40, 70 и 100 мм, изготовленные из гофрированных металлических труб с волокнистой изоляцией, покрытой металлической сеткой. Концы шлангов соединяют со штуцером резервуаров специальными разъемными муфтами [24].
Крупные хранилища вместимостью более 100 м3 обычно изолируют насыпной изоляцией. Так, резервуары вместимостью 1000—3000 м3 для жидкого кислорода имеют изоляцию из перлитового порошка или шлаковой ваты толщиной до 1 м и более. Потери жидкого кислорода от испарения в таких резервуарах составляют 0,15—0,18% в сутки, т. е. меньше, чем для сосудов с вакуумно-порошковой изоляцией. Одним из недостатков волокнистой и порошковой изоляций является резкое увеличение коэффициента теплопроводности при насыщении изоляции влагой. Во избежание попадания влаги в изоляционном пространстве поддерживают небольшое избыточное давление
Рис. 5.2. Резервуар для хранения жидкого фтора:
















