Раздел III (1043227)
Текст из файла
7
Раздел III
Статистические методы исследования точности механической обработки
Выше был рассмотрен расчетно-аналитический метод определения точности механической обработки. Однако, исторически исследование точности обработки шло другим путем: научной базой, на которой были проведены первые исследования точности, была теория вероятности и математическая статистика. Первым шагом в изучении точности было изучение кривых распределения размеров деталей.
Все погрешности возникающие при механической обработке (или сборке) можно разбить на 3 вида:
1. Систематические постоянные погрешности - не изменяются при обработке одной или нескольких партий заготовок; они возникают от действия постоянного не изменяемого во времени фактора (например: неперпендикулярность оси вращения шпинделя к направляющим поперечного суппорта).
2. систематические закономерно изменяющиеся во времени погрешности могут влиять на точность обработки непрерывно или периодически (например: погрешность от размерного износа режущего инструмента во времени)
3. Случайные погрешности - возникают без определенного закона и последовательности их появления; возникают в результате действия большого числа несвязанных между собой факторов (например: погрешность от упругих деформаций технологической системы). Несмотря на то, что определение случайной погрешности для каждой детали в партии почти неосуществимо, все же установить пределы ее изменения возможно методами кривых распределения.
А. Метод кривых распределения и оценка точности на его основе - этот метод применим в условиях большого выпуска деталей (n25-200 число наблюдений). Построение кривых распределения производится следующим способом: обрабатывается партия деталей (n) при неизменных условиях обработки. Путем измерения устанавливают величину разброса размеров в партии - это величина называется размах варьирования (W). Все величины разброса разбиваются на интервалы (j), т.е. вся партия деталей разбивается на группы. В каждую группу входят детали , находящиеся внутри одного и того же интервала. Затем строят кривую распределения , откладывая по оси абсцисс интервалы , а по оси ординат - число деталей , попавших в данный интервал (m). Полученные точки соединяют ломанной линией, которая называется кривой распределения (лабораторная работа).
Или кривая распределения
Обычно по оси ординат откладывают не "m" - абсолютную частоту появления данного р-ра в данном интервале , а m/n - относительную частоту, равную отношению числа деталей, попадающих в данный интервал к общему числу деталей в партии. При увеличении числа деталей в партии и единовременном уменьшении величины интервала (т.е. увеличении числа интервалов j>11) ломанная линия перейдет в плавную кривую. Обычно
.
Вид кривой распределения зависит от характера распределения первичных погрешностей. Многочисленные исследования показывают, что наиболее часто встречающийся тип распределения - кривая нормального распределения ( кривая Гаусса-Лапласа). Кривая Гаусса имеет вид представленный на рисунке и выражается уравнением:
+σ2
-σ2
г
де у=m/n - относительная частота
- среднеквадратичное отклонение размера от Хср
хср=
- среднее значение размера в партии деталей (математическое
хi - текущее значение размера
Симметричная форма кривой показывает, что отклонения размеров от среднего размера (Хср) в обе стороны равно вероятны. Величина характеризует точку перегиба кривой распределения. Форма кривой рассеяния сильно зависит от величины параметра : чем больше , тем более плавно идет кривая (см. Рис где 2>1), тем больше разброс размера в партии. Таким образом, величина сможет служить объективным критерием для суждения о плотности группирования размеров вокруг среднего значения , т.е. величина может быть мерой точности.
Имея кривую распределения размеров партии деталей, и, считая , что условия обработки не меняются , можно допустить что кривая получится точно такая же. Следовательно, величина может служить объективным критерием оценки точности данного технологического процесса при данных условиях обработки. Т.к. величина характеризует точность выполнения технологического процесса, значит эта величина каким то образом связана с величиной фактически получающегося допуска. Выясним эту связь:
Из теории вероятности и математической статистики известно, что заштрихованная площадь показывает какой процент деталей из партии имеет размеры, заключенные между значениями X1 и Х2. Эта площадь будет равна:
Э
тот интеграл не выражается в Элементарных функциях, однако он может быть подсчитан приближенными методами для чего будем выражать величину интервала (х2– x1) в значениях . Теория вероятностей нам показывает, что при величине интервала равной (х2-x1)=6 в этот интервал попадает 99,73% размеров партии деталей, т.е. практически все 100% лежат в пределах 6=±3, т.е. отношения в большую и меньшую стороны равновероятны. Следовательно, фактически допуск на партию деталей равен =±3, правда при этом возможно отклонение размера и за пределы 6 (0.27%). (При (х2-x1)=7 % брака снижается незначительно). Равенство =±3 справедливо лишь при совпадении центра группирования и середины поля допуска на размер.
Величина 6 учитывает лишь случайные составляющие суммарной погрешности. Систематическая постоянная погрешность лишь сдвигает всю кривую распределения вправо или влево. Например, при обработке двух партий деталей с разных настроек получаются совершенно идентичны, но сдвинутые на величину Н одна относительно другой.
В том случае , если при обработке партии деталей имелось две подналадки, то результирующая кривая будет суммой двух кривых (двугорбая кривая ):
При трех подналадках будет три горба и т.д. Если подналадок очень много, то величина Н превращается в случайную и мы опять получаем нормальную кривую, но с большим значением .
При наличии только размерного износа кривая распределения выражается в прямоугольную - кривую равной вероятности:
Суммарная кривая от износа и прочих случайных факторов будет иметь вид:
Помимо законов Гаусса и равной вероятности могут встречаться и другие законы распределения:
Закон распределения Симпсона
Для погрешностей пространственного расположения поверхностей (несоосность, непараллельность)
Из выше сказанного можно сделать следующий вывод: по виду кривой распределения мы можем судить о том , какой фактор в данном случае является доминирующим.
К достоинствам метода можно отнести его универсальность, т.е. метод применим к изучению любых процессов. Особенно удобен метод для исследования технологических процессов когда механизм влияния , его физика недостаточно изучены.
Недостатки метода:
1 - метод не вскрывает физической сущности явлений, т.е. не дает путей повышения точности;
2 - данные, полученные данным методом, теряют свою ценность при изменении условий обработки.
Метод наиболее часто используется для установления нормативных величин. Примечание: связь точности () и (): в общем случае при обработке
1.2 - к-т, учитывающий отклонение действительных кривых распределения от кривых нормального распределения
Ф - систематическая погрешность формы обрабатываемой поверхности в результате влияния геометрических неточностей станка и др. факторов.
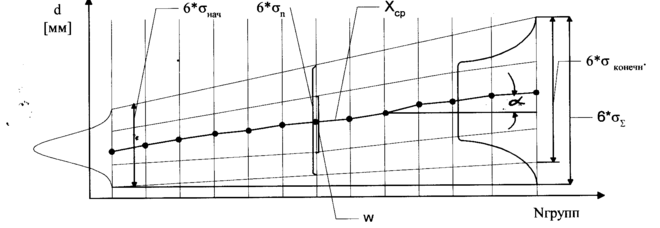
Б Метод точечных и точностных диаграмм.
Метод точечных диаграмм основан на построение кривых изменения размеров во времени : по оси абсцисс откладываются номера обрабатываемых деталей в той последовательности, как они сходят со станка; по оси ординат размеры деталей.
Длина этих диаграмм сокращается, если по горизонтали откладывать не номера деталей, а номера групп (с 1 по 10; с 11 по 20 и т.д.), когда в каждую группу входит одинаковое количество последовательного снимаемых со станка деталей.
dср dmin dmax - для каждой группы Ni
В случае построения по dср отчетливо видна периодичность изменения р-ров в результате непрерывно протекающего износа режущего инструмента и периодичность настроек станка.
Метод точечных диаграмм в несколько измененном виде позволяет более четко выявить влияние систематических закономерно изменяющихся погрешностей на общую погрешность обработки - в этом случае мы имеем точностную диаграмму
Д
ля каждой группы находятся: XсрN, N, WN и величины 6, те. рассеивание для каждой группы отдельно (кол-во деталей в группе д.б.>25). В этом случае получаем характеристику изменения указанных величин (Xср, , 6) во время протекания исследуемого процесса.
Из диаграмм видно, что поле рассеивания 6 размеров в пределах одной группы значительно меньше поля рассеивания для всей совокупности деталей 6.
Характеристики
Тип файла документ
Документы такого типа открываются такими программами, как Microsoft Office Word на компьютерах Windows, Apple Pages на компьютерах Mac, Open Office - бесплатная альтернатива на различных платформах, в том числе Linux. Наиболее простым и современным решением будут Google документы, так как открываются онлайн без скачивания прямо в браузере на любой платформе. Существуют российские качественные аналоги, например от Яндекса.
Будьте внимательны на мобильных устройствах, так как там используются упрощённый функционал даже в официальном приложении от Microsoft, поэтому для просмотра скачивайте PDF-версию. А если нужно редактировать файл, то используйте оригинальный файл.
Файлы такого типа обычно разбиты на страницы, а текст может быть форматированным (жирный, курсив, выбор шрифта, таблицы и т.п.), а также в него можно добавлять изображения. Формат идеально подходит для рефератов, докладов и РПЗ курсовых проектов, которые необходимо распечатать. Кстати перед печатью также сохраняйте файл в PDF, так как принтер может начудить со шрифтами.
















