rpz(последнее) (1041338)
Текст из файла
Московский государственный технический университет имени Н.Э.Баумана
кафедра МТ-7
расчетно-пояснительная записка
Сварные конструкции
Вариант №20
Студент Можаев Р.Е. группы МТ 7-82
Консультант проекта Куркин А.С.
М
oooo
осква 2008Содержание
стр.
-
Содержание ……………………………………………………………………………………………………………………………….. 1
-
Аннотация …………………………………………………………………………………………………………………………………… 2
-
Построение линий влияния и нахождение усилий для стержней главной фермы ………………… 3
-
Таблица максимальных и минимальных усилий в стержнях
главной и вспомогательных ферм …………………………………………………………………………………………….. 8
-
Расчет первого варианта главной фермы ……………………………………………………………………………..…..10
-
Раскос главной фермы …………………………………………………………………………………………………………10
-
Стойка главной фермы ………………………………………………………………………………………………………. 12
-
Нижний пояс главной фермы ……………………………………………………………………………………………. 14
-
Верхний пояс главной фермы ..………………………………………………………………………………………….15
-
Расчет второго варианта главной фермы …………………………………………………………………………….….. 18
-
Раскос главной фермы ………………………………………………………………………………………………………..18
-
Стойка главной фермы .... …………………………………………………………………………………………………..19
-
Нижний пояс главной фермы ..……………………………………………………………………………………….... 20
-
Верхний пояс главной фермы ………………………………………………………………………………..…………. 21
Проверка нижнего пояса в месте соединения с концевой балкой ………………………………………… 25
Расчет горизонтальной фермы ……………………………………………………………………………………………….… 26
Расчет пространственных раскосов ………………………………………………………………………………..……….. 30
Расчет концевой балки …………………………………………………………………………………………………………….. 31
Расчет сварных соединений ………………………………………………………………………………………………….…. 33
Расчет массы главной фермы ………………………………………………………………………………………………….. 35
Стенд для сборки главной фермы первого варианта …………………………………………………………..… 36
Принцип работы прижима для стоек и раскосов …………………………………………………………….…….. 36
Список использованной литературы ………………………………………………………………………………………. 37
Аннотация
Проект выполнен на четырех листах А1 содержащих: основные узлы конструкции двух вариантов, схему сборочного стенда главной фермы первого варианта и конструкцию прижима раскосов; расчетно-пояснительная записка содержит 37 листов А4.
В рамках данного проекта было выполнено: проектирование мостового крана с двумя вариантами главной фермы (с более легкой технологией изготовления и с меньшей массой), проработаны основные моменты конструкции сборочного стенда главной фермы первого варианта под сварку и конструкция прижимного устройства раскосов.
Расчетно-пояснительная записка содержит: расчет усилий в стержнях, расчет стержней главной фермы двух вариантов; расчет стержней горизонтальной и пространственной фермы, расчеты швов и концевой балки. И также описание работы сборочного стенда и прижимного устройства.
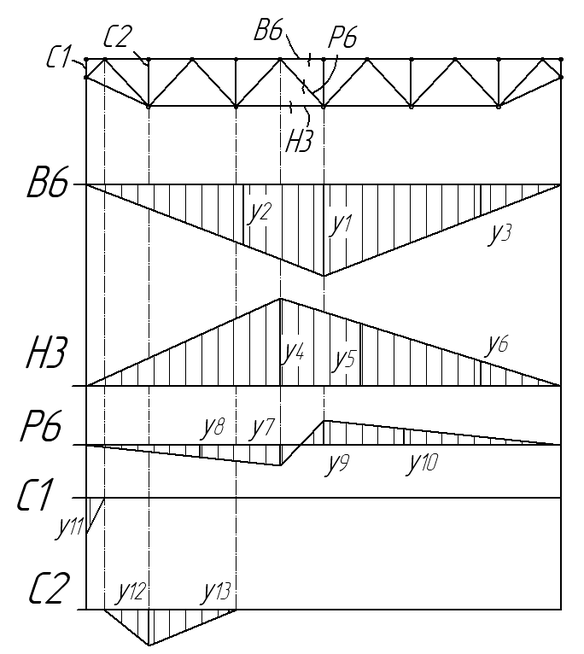
Построение линий влияния и нахождение усилий для стержней главной фермы
Реакции в опорах:
Определение усилий в стержнях от единичной силы:
Для правой части линий влияния:
Стержень В6:
Стержень H3:
Стержень Р6:
Для левой части линий влияния:
Стержень В6:
Стержень H3:
Стержень Р6:
Линии влияния для стержней С1, С2, В6, Р6, Н3.
Усилия в стержнях:
Распределенная нагрузка:
Сосредаточенная сила:
Усилия в других стержнях приведены в таблице ниже.
Таблица максимальных и минимальных усилий в стержнях главной и вспомогательных ферм.
– максимальное усилие в стержне;
– минимальное усилие в стержне;
– усилие в стержне от распределенной нагрузки;
– усилие в стержне от распределенной горизонтальной нагрузки;
– усилие в стержне от горизонтальной инерционной нагрузки;
– максимальное усилие от силы давления колес тележки в стержне.
Верхний пояс главной фермы:
Верхний пояс включают в себя главная ферма и горизонтальная ферма.
Максимальное усилие зависит от распределенной нагрузки, максимального воздействия от сосредоточенной нагрузки в главной ферме, а также от распределенной горизонтальной нагрузки и горизонтальной инерционной нагрузки от горизонтальной фермы.
Минимальное усилие зависит от распределенной нагрузки, минимального воздействия от сосредоточенной нагрузки в главной ферме, и от распределенной нагрузки от горизонтальной фермы. Усилие от горизонтальной инерционной нагрузки не учитывается, так как если оно появляется, то минимальное усилие в стержне переходит в максимальное.
Нижний пояс главной фермы:
Подобно верхнему поясу. Только отсутствует горизонтальная инерционная нагрузка. По нижнему поясу не ездит тележка.
Раскосы главной фермы:
стойки главной фермы:
Раскосы и стойки принадлежат только главной ферме, поэтому горизонтальные силы отсутствуют.
раскосы горизонтальной фермы:
стойки горизонтальной фермы:
Результаты расчета по приведенным выше формулам записаны в таблицах ниже.
Таблица максимальных и минимальных значений в стержнях главной фермы
| Стержень | Усилия в стержнях | |
| Максимальное, кН | Минимальное, кН | |
| В1 | 0 | 0 |
| В2 | -92.2 | -1.3 |
| В3 | -92.2 | -1.3 |
| В4 | -170 | -2.3 |
| В5 | -170 | -2.3 |
| В6 | -186.9 | -2.7 |
| Н1 | 50.5 | 0.9 |
| Н2 | 118.7 | 1.9 |
| Н3 | 159.2 | 2.6 |
| Р1 | -64.5 | -1.3 |
| Р2 | 55.5 | 1.0 |
| Р3 | -71.9 | 3.5 |
| Р4 | 62.1 | -13.2 |
| Р5 | -52.3 | 23.1 |
| Р6 | 42.6 | -32.8 |
| С1 | -37.6 | -0.1 |
| С2 | -37.8 | -0.3 |
| С3 | -37.8 | -0.3 |
Таблица максимальных и минимальных значений в стержнях горизонтальной фермы
| Стержень | Усилия в стержнях | |
| Максимальное, кН | Минимальное, кН | |
| Гор-Р1 | -9.2 | 9.2 |
| Гор-Р2 | 12.1 | -12.1 |
| Гор-Р3 | -10.6 | 10.6 |
| Гор-Р4 | 9.2 | -9.2 |
| Гор-Р5 | -7.7 | 7.7 |
| Гор-Р6 | 6.2 | -6.2 |
| Гор-С1 | -4.5 | 4.5 |
| Гор-С2 | -4.5 | 4.5 |
| Гор-С3 | -4.5 | 4.5 |
Р
асчет первого варианта главной фермы
Раскосы главной фермы:
Необходимо провести расчет на выносливость для наиболее растянутого стержня.
Наиболее растянутый стержень – Р4.
Определим приближенное значение площади сечения.
Допускаемое напряжение
Коэффициент асимметрии цикла
Коэффициент
при сжатии
Приближенное значение требуемой площади
где m=1,1 – коэффициент неполноты расчета металлоконструкций
Сечение раскоса – два неравнополочных уголка.
Требуемая площадь 1 уголка
Выбираем по ГОСТ 8510-72 уголок 50x32x4, с площадью поперечного сечения 317
Расчет на общую устойчивость
Проводим для самого сжатого стержня.
Наиболее сжатый стержень – Р3.
Момент инерции должен быть достаточным, для обеспечения гибкости менее 120.
Определи гибкость стержня:
Расстояние между уголками принимаем равным
мм.
Момент инерции относительно оси y:
Определим радиус инерции относительно оси y:
Гибкость стержня:
Условие не обеспечивается данным сечением. Необходимо увеличить размер сечения.
Примем уголок 75х50х5 по ГОСТ 8510-72.
Расстояние между уголками принимаем равным
мм.
Определим гибкость стержня относительно материальной оси Х:
Гибкость стержня относительно оси У:
где
радиус инерции относительно оси y:
Характеристики
Тип файла документ
Документы такого типа открываются такими программами, как Microsoft Office Word на компьютерах Windows, Apple Pages на компьютерах Mac, Open Office - бесплатная альтернатива на различных платформах, в том числе Linux. Наиболее простым и современным решением будут Google документы, так как открываются онлайн без скачивания прямо в браузере на любой платформе. Существуют российские качественные аналоги, например от Яндекса.
Будьте внимательны на мобильных устройствах, так как там используются упрощённый функционал даже в официальном приложении от Microsoft, поэтому для просмотра скачивайте PDF-версию. А если нужно редактировать файл, то используйте оригинальный файл.
Файлы такого типа обычно разбиты на страницы, а текст может быть форматированным (жирный, курсив, выбор шрифта, таблицы и т.п.), а также в него можно добавлять изображения. Формат идеально подходит для рефератов, докладов и РПЗ курсовых проектов, которые необходимо распечатать. Кстати перед печатью также сохраняйте файл в PDF, так как принтер может начудить со шрифтами.
















