МУ к выполнению ДЗ по КШО - Власов, Складчиков (1031222)
Текст из файла
Московский государственный технический университет
Э.Ф. Богданов, А.В.Власов, Е.Н. Складчиков, И.Н. Черкасова
ПРОЕКТИРОВАНИЕ ФРИКЦИОННЫХ МУФТ ВКЛЮЧЕНИЯ
КРИВОШИПНЫХ ПРЕССОВ И ЦИЛИНДРОВ ГИДРАВЛИЧЕСКИХ
ПРЕССОВ.
Методические указания к выполнению домашних заданий по курсу
«Кузнечно-штамповочное оборудование»
Под редакцией Богданова Э.Ф., Е.Н. Складчикова
Москва 2009
УДК 621.777.06
Методические указания к выполнению домашних заданий по курсу «Кузнечно-штамповочное оборудование» издаются в соответствии с учебным планом. Рассмотрены и одобрены кафедрой МТ-6 19.04.08 г., учебно-методической комиссией факультета МТ 13.05.08 и учебно-методическим управлением 14.10.08 г.
Рецензент д.т.н., проф. Евсюков С.А.
В методических указаниях приведены три темы для домашнего задания, которое выполняется студентами кафедры «Технологии обработки давлением» (МТ6) на 8 и 9 семестрах в соответствии с программой курса «Кузнечно-штамповочное оборудование». Первая тема связана с проектированием многодисковых муфт включения с кольцевыми фрикционными накладками для кривошипных горячештамповочных прессов, вторая – с проектированием однодисковых муфт включения с фрикционными вставками для кривошипных листоштамповочных прессов, третья – с проектированием цилиндров гидравлических прессов.
Цель домашних заданий – закрепить и углубить знания, полученные при изучении лекционного материала и приобрести навыки самостоятельной работы по проектированию дисковых фрикционных муфт включения кривошипных прессов и цилиндров гидравлических прессов.
Методические указания могут быть использованы при курсовом и дипломном проектировании.
1. ПРОЕКТИРОВАНИЕ ФРИКЦИОННЫХ МУФТ ВКЛЮЧЕНИЯ КРИВОШИПНЫХ ПРЕССОВ
1.1. Основы методики определения момента трения дисковых фрикционных муфт
1.1.1. Классификация и применение дисковых фрикционных муфт
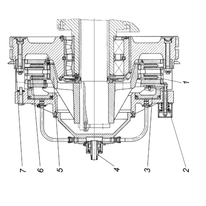
В кривошипных прессах наибольшее применение получили фрикционные муфты двух типов: одно-, двух-, трехдисковые муфты с кольцевыми фрикционными накладками (рис. 1.1) и однодисковые малоинерционные муфты с фрикционными вставками различной формы и размеров (рис. 1.2).
При проектировании муфты вначале необходимо выбрать тип муфты и место ее установки в приводе. Муфты с кольцевыми накладками используют, как правило, в приводах кривошипных горячештамповочных прессов (КГШП) и горизонтально-ковочных машин (ГКМ). У КГШП двухдисковые или трехдисковые муфты устанавливают на главном (эксцентриковом) валу, у ГКМ – на главном валу или, при больших ее габаритах, на приемном валу. Применение двухдисковых и трехдисковых муфт в КГШП и ГКМ позволяет уменьшить габаритные размеры муфт.
Однодисковые малоинерционные муфты с фрикционными вставками используют в приводах различных прессов, в основном листоштамповочных, и устанавливают, по возможности, ближе к электродвигателю, что существенно снижает габариты муфты и необходимый передаваемый ею крутящий момент.
При установке муфты на главном валу КГШП она имеет большой момент инерции и как дополнительный маховик, жестко связанный непосредственно с главным валом, снижает влияние ударной нагрузки на зубчатую передачу привода в начальный момент деформирования поковки, особенно в окончательном (чистовом) ручье. Кроме того, зубчатое колесо ведущей части муфты, установленной на главном валу, передает крутящий момент главному (эксцентриковому) валу во время каждого рабочего хода пресса различными участками зубьев, что гарантирует равномерный износ всех зубьев и увеличивает работоспособность зубчатой передачи. Боковая поверхность кольцевых накладок не участвует в передаче крутящего момента и не изнашивается. У фрикционных вставок именно боковая
| Рис. 1.2. Однодисковая муфта со вставками. 1 – маховик; 2 - шпилька; 3 – ведущий нажимной диск; 4 – ведущий опорный диск; 5 – ведомый диск; 6 – раз-жимающая пружина; 7 – вставка; 8 – цилиндр. |
| Рис. 1.1. Двухдисковая муфта с кольцевыми накладками. 1 – ведомый диск с кольцевыми накладками; 2 – раз- жимающая пружина; 3 – кольцевой поршень с ведущим нажимным диском; 4 – воздухоподводящая головка; 5 – ступица; 6 – ведущий промежуточный диск; 7 – зубчатое колесо сведущим опорным диском. |
1.1.2. Момент трения и средние радиусы трения муфты.
Исходной величиной при проектировании фрикционной муфты является расчетный момент муфты Мр:
г
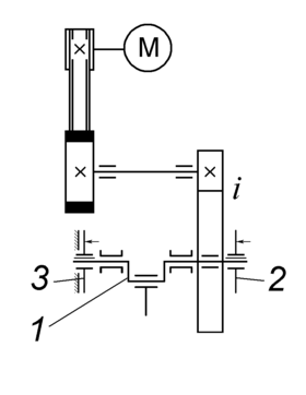
де: Mн – номинальный крутящий момент пресса; kм – коэффициент запаса сцепления муфты; i и – передаточное число и КПД зубчатой передачи от вала муфты к главному валу пресса. Для двухступенчатой зубчатой передачи (рис. 1.3)Номинальный крутящий момент пресса
где Pн - номинальная сила пресса;
- идеальное приведенное плечо крутящего момента при номинальном угле поворота кривошипа н;Номинальный ход ползуна пресса
В формулах (3) - (5) (рис. 1.4.)
– радиус кривошипа пресса;
и
– радиусы шарнирных соединений шатуна с главным валом и ползуном, соответственно,
- радиус опорной шейки главного вала,
– коэффициент трения в
кинематических парах кривошипно-ползунного механизма пресса;
У КГШП муфта установлена на главный вал, поэтому для них
. Коэффициент kм в формуле (1) учитывает снижение давления воздуха в ресивере пресса и другие явления при включении муфты.
У
КГШП муфта не является предохранителем привода по допустиму крутящеему моменту. Предохранительное устройство встроено в маховик. Для КГШП можно принять kм=1,1. Момент трения муфты Mтр определяется выражением: где
– число пар поверхностей трения (для однодисковых муфт
=2);
– сила сжатия дисков;
– коэффициент трения между ведущими дисками и фрикционными поверхностями ведомых дисков, при расчете принимается постоянным независимо от относительной скорости проскальзывания пар трения; R тр.М – средний радиус трения муфты по условию передачи расчётного момента Mр.
Кроме среднего радиуса трения R тр.М необходимо вычислить средний радиус трения муфты по работоспособности R тр.K. Величина R тр.K определяется по показателю износа K изн [1]:
где Aтр - работа трения муфты за одно включение; nвкл –число включений муфты в минуту (наибольшее число включений соответствует паспортному числу одиночных ходов пресса в минуту nод.х); kвз –коэффициент взаимного перекрытия; для муфт с кольцевыми накладками kвз=1; Fтр – суммарная площадь трения фрикционных накладок или вставок; [Kизн] – допустимое значение показателя износа, Дж/(м2 ∙мин). Физический смысл показателя износа – допустимая удельная работа трения фрикционных поверхностей муфты при паспортном числе одиночных ходов пресса.
Если не учитывать работу электродвигателя и работу сил трения в ведущей и ведомой частях привода за время включения муфты,
где
и
– моменты инерции ведущей (в основном маховика) и ведомой части привода пресса, приведенные к валу муфты; ω н.х – приведенная к валу муфты угловая скорость главного вала пресса при непрерывных ходах пресса.
К ведущей части привода относятся все элементы кинематической схемы привода от ротора двигателя до ведущей части муфты (включительно), к ведомой части – все элементы кинематической схемы привода от ведомой части муфты до ползуна пресса (включительно).
Для однокривошипных прессов, имеющих одноступенчатую зубчатую передачу между маховиком и муфтой (рис. 1.5),
, где Jм – момент инерции маховика; i – передаточное число передачи. Для однокривошипных прессов, муфта которых конструктивно встроена в маховик,
.
При определении приведенного момента инерции ведомой части привода
Характеристики
Тип файла документ
Документы такого типа открываются такими программами, как Microsoft Office Word на компьютерах Windows, Apple Pages на компьютерах Mac, Open Office - бесплатная альтернатива на различных платформах, в том числе Linux. Наиболее простым и современным решением будут Google документы, так как открываются онлайн без скачивания прямо в браузере на любой платформе. Существуют российские качественные аналоги, например от Яндекса.
Будьте внимательны на мобильных устройствах, так как там используются упрощённый функционал даже в официальном приложении от Microsoft, поэтому для просмотра скачивайте PDF-версию. А если нужно редактировать файл, то используйте оригинальный файл.
Файлы такого типа обычно разбиты на страницы, а текст может быть форматированным (жирный, курсив, выбор шрифта, таблицы и т.п.), а также в него можно добавлять изображения. Формат идеально подходит для рефератов, докладов и РПЗ курсовых проектов, которые необходимо распечатать. Кстати перед печатью также сохраняйте файл в PDF, так как принтер может начудить со шрифтами.
















