Пеленгаторы (1014418)
Текст из файла
55.
МОСКОВСКИЙ АВИАЦИОННЫЙ ИНСТИТУТ
КАФЕДРА 401
А.А СОСНОВСКИЙ
РАДИОЛОКАЦИОННЫЕ И РАДИОНАВИГАЦИОННЫЕ
ИЗМЕРИТЕЛИ УГЛОВЫХ КООРДИНАТ
Учебное пособие к курсовому проектированию
ОГЛАВЛЕНИЕ
1. ФАЗОВЫЙ СЛЕДЯЩИЙ РАДИОЛОКАТОР 2
1.1 Выбор структурных схем 3
1.2. Расчет параметров цели 8
1.3. Расчет длины волны и параметров ФАР. 9
1.4. Расчет параметров сигнала 10
1.5. Расчет полосы пропускания УПЧ 11
1.6. Расчет погрешностей 11
1.7. Расчет энергетических параметров 17
1.8. Расчет вспомогательных параметров 19
2. ФАЗОВЫЙ СУММАРНО-РАЗНОСТНЫЙ РАДИОЛОКАТОР 22
2.1. Выбор структурных схем 23
2.2.Расчет длины волны и параметров ФАР 28
2.3. Расчет параметров сигнала 29
2.4. Выбор параметров устройств обработки сигналов 29
2.5. Расчет погрешностей 30
2.6. Расчет энергетических параметров 33
2.7. Расчет вспомогательных параметров 34
3. АМПЛИТУДНЫЙ СУММАРНО-РАЗНОСТНЫЙ РАДИОЛОКАТОР 36
3.1. Выбор структурных схем 36
3.2. Расчет длины волны и параметров ФАР 40
3.3. Расчет параметров сигнала 40
3.4. Выбор параметров устройств обработки сигналов 41
3.5. Расчет погрешностей 41
3.7. Расчет вспомогательных параметров 45
4. АМПЛИТУДНО-АМПЛИТУДНЫЙ РАДИОЛОКАТОР. 46
4.1. Выбор структурных схем 46
4.2. Расчет длины волны и параметров ФАР 51
4.3. Расчет параметров сигнала 51
4.4. Выбор параметров устройств обработки сигналов 51
4.5. Расчет погрешностей 52
4.6. Расчет энергетических параметров 55
4.7. Расчет вспомогательных параметров. 56
1. ФАЗОВЫЙ СЛЕДЯЩИЙ РАДИОЛОКАТОР
Рассматриваемый фазовый следящий радиолокатор (РЛ) входит в состав наземной системы дальнего обнаружения объектов (целей), летящих на высотах порядка сотен километров над Землей. Для детальной разработки предлагается угломестный канал этого РЛ, представляющий собой фазо-фазовый моноимпульсный радиопеленгатор.
Тактическая ситуация, соответствующая этому заданию показана на рис. 1.1. Рабочая зона наземного радиолокатора НРЛ в угломестной плоскости (заштрихована) ограничена возможным в данном РЛ сектором обзора по углу места от
до
и двумя окружностями с радиусами
и
. Значение
выбирают так, чтобы РЛ мог сопровождать цели с минимальной допустимой для данного класса целей высотой полета. Максимальная дальность
должна быть равна дальности прямой видимости цели Ц с точки установки антенны РЛ. Дальность прямой видимости (в километрах) с учетом атмосферной рефракции при
, где
и
- высота подъема антенны РЛ и высота полета цели соответственно, определяется известным соотношением:
Рис. 1.1
где
выражается в километрах. Расчет
выполняется для максимальной высоты полета цели (при проектировании считается, что
).
Траектория движения цели (штриховая кривая на рис. 1.1) при постоянстве скорости цели
, является частью круговой орбиты, имеющей радиус
, где
- радиус Земли. Пересечение траектории полета цели с границей рабочей зоны, соответствующей
, определяет минимальную измеряемую дальность цели
.
При проектировании фазового следящего РЛ и его угломестного канала (УМК) требуется учет того, что:
I. Решение поставленных перед РЛ задач предполагает включение в РЛ каналов измерения дальности, скорости и двух угловых координат (азимута и угла места) цели.
2. Измерение дальности целесообразно осуществлять импульсным методом, при котором упрощается построение радиолокатора и возможно использование общей антенны, как для передачи, так и для приема сигналов. При этом длительность зондирующего импульса может быть увеличена до значения, определяемого
, что способствует повышению потенциала радиолокатора.
3. Диапазон измеряемых дальностей цели от
до
определяется заданным сектором обзора по углу места (
), причем
обычно больше
, задаваемой, как указывалось, из тактических соображений.
4. На точность определения координат и скорости цели влияет тропосферная рефракция радиоволн, причем степень этого влияния увеличивается с ростом пути радиоволн в нижних слоях атмосферы.
5. При постоянной линейной скорости цели
угловая скорость зависит от дальности до цели
(рис. I.2):
где угловую скорость
рекомендуется выражать в град/с.
Рис. 1.2
Линейную скорость следует выражать в единицах СИ, используя соотношение
1 м/с = 3,6 км/ч. (1.3)
1.1 Выбор структурных схем
Разработка любого из каналов РЛ, в том числе и УМК, требует системного подхода, когда производится оценка структуры и параметров не только данного канала, но и РЛ в целом. При таком подходе можно учесть взаимозависимость параметров отдельных каналов, проявляющуюся, в частности, в том, что сигналы и устройства, позволяющие получить наилучшие показатели канала скорости, оказываются не подходящими для канала дальности. Учет указанных взаимозависимостей приводит к структурным схемам, основанным на компромиссе между конфликтующими требованиями к отдельным каналам РЛ. Если такой компромисс достичь не удается, приходится идти по пути усложнения РЛ, например, за счет последовательного во времени решения поставленных перед РЛ задач. В этом случае на предельных дальностях может производиться поиск цели по угловым координатам, затем измеряется скорость цели, а при сближении с целью осуществляется измерение ее дальности.
В данном разделе предлагается один из вариантов разработки структурной схемы РЛ, а также схем угломестного канала и устройства коррекции неидентичностей приемных трактов этого канала, существенно влияющих на его точность. Предполагается, что в РЛ используется простой импульсный зондирующий сигнал, а модулирующие импульсы имеют прямоугольную форму.
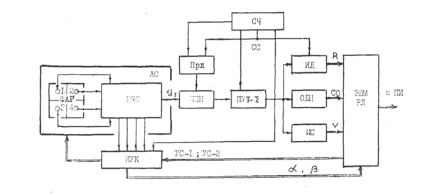
Структурная схема РЛ. В соответствии с поставленными перед РЛ задачами он должен иметь канал обнаружения движущихся целей (ОДЦ) и четыре измерительных канала, служащих для определения угла места, азимута, скорости и дальности цели. Наличие ОДЦ и необходимость измерения скорости требуют применения когерентного зондирующего сигнала. Последний, как указывалось, должен быть импульсным.
Упрощенная структурная схема такого РЛ представлена на рис.1.3. Источником когерентных колебаний служит синтезатор частот СЧ. Основой СЧ является когерентный генератор частоты, из которой путем дробно-рациональных преобразований формируются частоты всех сигналов, необходимых для работы РЛ. Передатчик Прд представляет собой умножитель частоты
выдаваемого СЧ сигнала (
-несущая частота) в k раз с последующим усилителем мощности, периодически отпирающимся при поступлении с СЧ синхронизирующих импульсов с частотой повторения
(синхросигнал СС). Полученный в Прд зондирующий сигнал через переключатель прием-передача ППП направляется к антенной системе АС.
Рис. 1.3
В состав АС входят приемно-передающая фазированная антенная решетка ФАР и радиочастотный сумматор РЧС. Антенная решетка имеет четыре модуля (рис. 1.4,а), коммутация которых производится с помощью РЧС. При передаче РЧС выполняет функцию делителя мощности зондирующего сигнала между модулями ФАР. Сфазированные соответствующим образом сигналы этих модулей позволяют сформировать суммарную диаграмму направленности антенны (ДНА) при работе радиолокатора в режиме передачи зондирующего сигнала.
При приеме РЧС формирует пять сигналов:
где
- сигнал, снимаемый с i-го модуля. Сигнал подается на приемно-усилитёльный тракт ПУТ-, а сигналы
и
используются измерителем угловых координат ИУК для нахождения соответственно азимута и угла места цели. В частности, в УМК при этом ФАР преобразуется в антенну с двумя фазовыми центрами, разнесенными в вертикальной плоскости (рис.1.4,б). Управление сканированием ДНА в процессе поиска цели осуществляется с помощью управляющего сигнала УС-2, поступающего с ЭВМ радиолокатора ЭВМ РЛ. Сигнал УС-1 служит для переключения коммутаторов ИУК при коррекции неидентичностей приемно-усилительных трактов. Информация о азимуте
и угле места
цели поступает в ЭВМ РЛ.
Рис. 1.4
Усиленный и отфильтрованный суммарный сигнал с ПУТ- подается на обнаружитель движущихся целей ОДЦ, измеритель скорости ИС и измеритель дальности ИД. Сигнал обнаружения СО, а также информация о дальности R и скорости V цели направляются (обычно в цифровой форме) в ЭВМ РЛ, а после соответствующей обработки (например, после определения траектории цели) - внешним потребителям ПИ. Входящая в состав РЛ ЭВМ может использоваться и для управления радиолокатором, в частности - для изменения длительности импульса по мере сближения с целью, что делается обычно для повышения точности дальнометрии.
Рис. 1.5
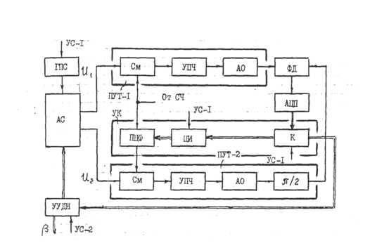
Структурная схема угломестного канала. Как указывалось выше, измеритель угловых координат ИУК должен определять азимут и угол места цели и содержит в связи с этим два идентичных по схеме канала: канал азимута и угломестный канал.
Структурная схема угломестного канала показана на рис. 1.5. Канал может работать в двух режимах: рабочем, когда измеряется угол
, и калибровочном, когда корректируются неидентичности трактов обработки сигналов. Последний режим и соответствующая схема устройства коррекции УК (выделена на рис. 1.5) будут рассмотрены отдельно. В рабочем режиме коммутатор подключает выход углового дискриминатора к устройству управления диаграммой направленности УУДН.
Угловой дискриминатор содержит два ПУТ и фазовый детектор ФД. Сигнал ФД преобразуется в цифровую форму с помощью аналого-цифрового преобразователя АЦП. Входящие в ПУТ-1 и ПУТ-2 амплитудные ограничители АО служат для устранения влияния амплитудных флуктуаций сигналов
и
на точность определения угловых координат. Фазовый сдвиг на 90° в одном из ПУТ необходим для получения дискриминационной характеристики вида
, где
- сдвиг по фазе сигналов
и
, несущий информация о угле
. На смесители См обоих ПУТ подается один и тот же сигнал гетеродина от синтезатора частот СЧ, чем обеспечивается равенство фазовых сдвигов, вносимых гетеродинирующим сигналом в сигналы, усиливаемые в УПЧ верхнего и нижнего (по схеме) приемных трактов.
Характеристики
Тип файла документ
Документы такого типа открываются такими программами, как Microsoft Office Word на компьютерах Windows, Apple Pages на компьютерах Mac, Open Office - бесплатная альтернатива на различных платформах, в том числе Linux. Наиболее простым и современным решением будут Google документы, так как открываются онлайн без скачивания прямо в браузере на любой платформе. Существуют российские качественные аналоги, например от Яндекса.
Будьте внимательны на мобильных устройствах, так как там используются упрощённый функционал даже в официальном приложении от Microsoft, поэтому для просмотра скачивайте PDF-версию. А если нужно редактировать файл, то используйте оригинальный файл.
Файлы такого типа обычно разбиты на страницы, а текст может быть форматированным (жирный, курсив, выбор шрифта, таблицы и т.п.), а также в него можно добавлять изображения. Формат идеально подходит для рефератов, докладов и РПЗ курсовых проектов, которые необходимо распечатать. Кстати перед печатью также сохраняйте файл в PDF, так как принтер может начудить со шрифтами.
















