Пеленгаторы (1014418), страница 4
Текст из файла (страница 4)
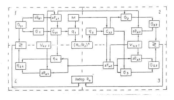
На рис. 1.9 приведена схема "алгоритма" расчета погрешностей
и выбора той дальности
, для которой целесообразно оптимизировать измеритель в заданной тактической ситуации. Соответствующие этой дальности значения полосы пропускания измерителя
и точностных параметров используются в последующих расчетах и при разработке требований к элементам следящего радиопеленгатора. Выбор
основан на сравнении (символ
на рис. 1.9) погрешностей
. Ниже приведены особенности расчета, выполняемого на разных этапах.
Этап I (
). По заданному значению
определяются с помощью (1.30) погрешности
и
. Используя табл. I.I и считая
=1с, последовательно находят
и
. Из соотношений (1.29) и (1.28) рассчитывается то значение отношения мощностей сигнала и шума на входе фазового детектора
, при котором обеспечивается заданное значение
на дальности
.
Этап 2(
) . Расчет начинается с определения
, имеющего место на дальности
, по формуле
которая справедлива для радиолокатора, работающего по отраженному от точечной цели сигналу, в котором
пропорционально
( [l] , с.65). Затем следует найти эквивалентную спектральную плотность флуктуаций
на дальности
с помощью (1.29). После этого рассчитываются погрешности
,
и
в предположении, что полоса
не изменилась.
Этап 3(
). На этом этапе производится оптимизация следящего измерителя для дальности
, т.е. определяется оптимальная для этой дальности полоса пропускания измерителя
по найденному ранее значению
. Затем по формулам табл. 1.1 рассчитываются погрешности
и
. Соотношение (1.21) используется для нахождения суммарной погрешности
.
Этап 4 (
). По полученным на предыдущих этапах значениям
и
рассчитываются с помощью табл. 1.1 и соотношения (1.21) погрешности
,
и
в предположении, что измеритель оптимизирован для дальности
, а дальность до цели равна
.
Расчеты должны иллюстрироваться графиком, на котором представляются зависимости
от относительной дальности
, одна из которых соответствует
, а вторая -
, т.е. оптимизации измерителя для дальности
или
соответственно.
Рис. 1.9
Погрешность углового шума. Погрешность
рассчитывается в предположении, что максимальный размер цели
, меньше линейной тангенциальной разрешающей способности РЛ, цель находится на расстоянии
от РЛ и на оси ДНА. Многоточечная структура отражающей поверхности цели приводит к флуктуациям наклона фазового фронта отраженной волны при изменении положения и дальности цели в процессе определения угла
. Вызываемая этими флуктуациями погрешность определяется (в радианах) соотношением
При переходе к угловым секундам (1.32) принимает вид
Тропосферная погрешность. Погрешность
, которая вызывается рефракцией радиоволн в тропосфере, носит систематический характер и определяется по графику, приведенному на рис. 1.10. Как следует из графика погрешность зависит от высоты полета цели
и угла места
(а следовательно, и от наклонной дальности до цели
). По показанным на рис. 1.10 кривым можно сразу определить зависимость погрешности
от дальности до цели
. Для этого, следуя по штриховой линии, соответствующей заданному значению высоты полета цели
, находят на пересечениях со сплошными линиями (
=const) точки, ординаты которых - искомые значения
, а абсциссы -соответствующие им дальности
. Погрешность
определяется при углах места
, лежащих в пределах рабочей зоны РЛ (см. рис. 1.1). С целью облегчения нахождения полной погрешности рекомендуется построить график
, используя указания, приведенные в § 1.2 данного пособия.
Рис. 1.10
Аппаратурная погрешность. Расчет
выполняется с помощью соотношения (1.7), которое можно использовать непосредственно или привести к более привычному виду:
Рекомендуется следовать следующему порядку расчета:
- рассчитать
при заданных значениях фазовых неидентичностей приемных трактов
и
;
- найти относительную аппаратурную погрешность
и сравнить полученный результат с допустимым значением
, указанным в исходных данных ;
-если полученная погрешность превышает заданную, то это свидетельствует о необходимости применения коррекции неидентичностей. В этом случае надо найти допустимое максимальное значение
, при котором точность будет в заданных пределах, используя формулу
Если коррекция осуществляется введением фазового сдвига
, компенсирующего фазовые неидентичности
и
, то допустимое значение этого сдвига
Значения
или
используются при проектировании устройства коррекции.
Полная погрешность. Погрешность
рассчитывается с помощью (1.22) по результатам определения составляющих этой погрешности, полученным в данном параграфе. Исключение составляет только аппаратурная погрешность
, значение которой должно соответствовать остаточной аппаратурной погрешности, имеющей место после проведения коррекции. В соотношении (1.22) используется то значение
, которое получено при выбранном варианте оптимизации следящего измерителя угла
.
Результаты расчета точностных параметров угломерного канала представляются в виде таблицы и графика, построенного с помощью этой таблицы, отображающих зависимость погрешностей от дальности. Головка таблицы должна иметь следующую форму:
где относительная дальность берется с дискретом, равным 0,1, а дальность меняется в пределах от
до
. На графике представляется зависимость относительной полной погрешности
от относительной дальности
, меняющейся с дискретом и в пределах, указанных выше.
1.7. Расчет энергетических параметров
Под энергетическими параметрами в данном разделе понимаются минимальное значение принимаемой мощности
, при котором обеспечивается заданная или расчетная точность угломерного канала, и соответствующее
значение мощности передатчика
.
Минимальная мощность принимаемого сигнала определяется известным соотношением, в котором вместо порогового отношения мощностей сигнала и шума
, обеспечивающего заданное качество обнаружения сигнала, используется значение
, при котором достигается требуемая точность:
где
- значение отношения мощностей сигнала и шума на дальности
, равное округленному до ближайшего большего целого числа значению
;
Вт/Гц - произведение постоянной Больцмана на стандартную температуру (в градусах Кельвина),при которой определяются шумовые параметры приемного тракта угломерного капала;
- шумовая полоса пропускания тракта обработки сигнала, равная в рассматриваемом радиопеленгаторе полосе пропускания
УПЧ;
- коэффициент шума приемника;
- коэффициент потерь энергии сигнала при обработке.
Требуемая мощность передатчика РЛ рассчитывается по формуле
где
- коэффициент потерь энергии во всех высокочастотных элементах РЛ, кроме антенной решетки, потери в которой учтены ранее коэффициентом полезного действия
;
- эффективная площадь рассеяния (ЭПР) цели;
- удельный коэффициент затухания в осадках;
- протяженность зоны осадков.
Расчет энергетических параметров требует учета следующих особенностей:
1. Коэффициенты, характеризующие потери энергии сигнала в аппаратуре РЛ, подставляются в формулы (1.37) и (1.38) в абсолютных единицах.
2. В исходных данных даны ориентировочные значения
и
. Поэтому требуется уточнение этих значений в процессе проектирования с использованием или других литературных источников. Особое внимание следует обратить на коэффициент потерь энергии в высокочастотных элементах РЛ
, который учитывает потери в передающем и приемном волноводных трактах (т.е. коэффициенты полезного действия
и
) и потери при делении мощности (
) принимаемого сигнала между несколькими приемными каналами. В рассматриваемом фазовом РЛ (см. рис. 1.5), в котором каждый ПУТ питается от половины ФАР, мощность принимаемого сигнала уменьшается в два раза по сравнению с РЛ, в котором используется вся апертура ФАР для приема сигнала (последняя ситуация соответствует формуле(1.38), где учтен коэффициент усиления
всей ФАР). Кроме того в
должны входить потери в радиочастотном сумматоре РЧС (см. рис. 1.3).
















