Пеленгаторы (1014418), страница 5
Текст из файла (страница 5)
3. Потери энергии сигнала при распространении, характеризуемые коэффициентом
рассчитываются следующим образом. Во-первых, определяется значение
с помощью (1.1), куда вместо
следует подставить
=8 км, где
- верхняя граница тропосферы. Полученное значение
соответствует наиболее сложной метеорологической ситуации, когда вся трасса распространения радиоволн находится в зоне осадков.
Во-вторых, необходимо задаться значением удельного коэффициента затухания в осадках
, зависящим от длины волны
и интенсивности осадков
. Если принять за опорное то значение коэффициента
, которое соответствует справочным данным, и учесть, что
пропорционально
, то
Рекомендуется принять
дБ/км, что соответствует
=15 мм/ч и
=10 см.
В соотношение (1.38) значения
и
подставляются в дБ/км и в км соответственно.
1.8. Расчет вспомогательных параметров
В данном разделе рассчитываются параметры, необходимые при разработке требований к элементам угломерного канала. При проектировании фазового РЛ к таким параметрам относятся параметры выдаваемого угломерным каналом двоичного кода сигнала рассогласования по углу места и параметры устройства коррекции неидентичностей приемных трактов.
Параметры кода угла рассогласования. Для управления ФАР целесообразно применять цифровой сигнал, т.е. сигнал рассогласования по углу
, записанный в виде кода. При использовании двоичного кода определению подлежат следующие параметры: цена младшего разряда
и число разрядов
. Значение
находят в предположении, что погрешность дискретизации
т.е. не превышает 0,1 от рассчитанной ранее минимальной угломерной погрешности. Так как
то
Полученное значение
следует округлить до ближайшего меньшего значения, которое можно записать целым числом десятых, сотых или тысячных долей градуса. Так, если расчетное значение
градуса, то следует принять
градуса, а если
, то принять
.
Число разрядов кода определяется динамическим диапазоном возможных углов
где в соответствии с § 1.3 принято, что
. Число разрядов с учетом знакового разряда
Тогда
В предшествующих соотношениях знак
означает округление до ближайшего большего целого числа.
Таким образом один разряд кода соответствует шести децибелам динамического диапазона (6 дБ на разряд). Соотношение (1.46) легко получить, используя формулу перехода от логарифма с основанием 2 к десятичному логарифму.
Заметим, что в АЦП квантуется напряжение
с выхода фазового детектора, которое согласно (1.5) пропорционально
. Поэтому при постоянном дискрете по напряжению
дискрет по углу
линейно связан
с только на начальном участке дискриминационной характеристики следящего измерителя угла
, когда
30°. При больших значениях
дискрет
будет увеличиваться с ростом
, т.е. шкала по углу
становится существенно нелинейной. Однако эта нелинейность не имеет принципиального значения, так как замкнутая система слежения за углом
всегда стремится уменьшить
и работа ведется при малых углах
или
.
Устройство коррекции. Допустим, что коррекция базовых неидентичностей ПУТ осуществляется введением компенсирующего фазового сдвига
в один из трактов. Если используется цифровая схема коррекции (см. рис. 1.5), то коррекция неидентичностей возможна в общем случае с точностью до дискрета
изменения
, т.е. остается нескомпенсированным фазовый сдвиг
Определяющими структуру канала коррекции параметрами являются:
- цена младшего разряда корректирующего кода (дискрет по фазе)
;
- максимальное значение корректирующего фазового сдвига
;
- число разрядов
кода, управляющего фазой
.
Расчет выполняется для наиболее целесообразного варианта построения устройства коррекции, когда общий АЦП используется как в угломерном канале, так и в канале коррекции.
Цена младшего разряда корректирующего кода выбирается из условия:
где
- минимальный дискрет по фазе
, который можно реализовать при использовании преобразователя цифра-фаза (ПЦФ), а
- определенное из (1.36) допустимое при заданной аппаратурной погрешности
(максимальное значение фазового сдвига в УПЧ, характеризующее допустимую остаточную (после коррекции) фазовую неидентичность приемных трактов.
Максимальное значение корректирующего фазового сдвига
, вводимого устройством коррекции, определяется с использованием соотношения (1.34). Считая, что при
угломерный канал теряет работоспособность, имеем
Число разрядов корректирующего кода
находится из (1.45) и (1.46) при замене
и
на
и
соответственно.
Таким образом при общем АЦП все разряды кода служат для управления ДНА, а младшие разряды - для коррекции фазовых неидентичностей приемных трактов.
Максимальное значение остаточной аппаратурной погрешности, как следует из (1.34), можно найти по формуле
Это значение
следует учитывать при расчете полной погрешности
с помощью соотношения (1.22).
Пример. Пусть заданы или получены при предыдущих расчетах следующие значения.параметров:
Тогда
Для корректирующего кода получаем
При выбранном значении
остаточная аппаратурная погрешность будет
.
Таким образом АЦП должен иметь 10 разрядов (с учетом знакового разряда ЗР). Шесть младших разрядов кода служат также для коррекции неидентичностей приемных трактов.
Расчету соответствует показанная ниже структура кода, где: а - разряды кода; б - значения разрядов; в- цена n-го разряда кода угла рассогласования
, которую следует домножитъ на
град ; г - цена n-го разряда корректирующего кода.
а)
| 10 | 9 | 8 | 7 | 6 | 5 | 4 | 3 | 2 | 1 |
б)
| ЗР | 28 | 27 | 26 | 25 | 24 | 23 | 22 | 21 | 20 |
в)
| ЗР | 256 | 128 | 64 | 32 | 16 | 8 | 4 | 2 | 1 |
г)
2. ФАЗОВЫЙ СУММАРНО-РАЗНОСТНЫЙ РАДИОЛОКАТОР
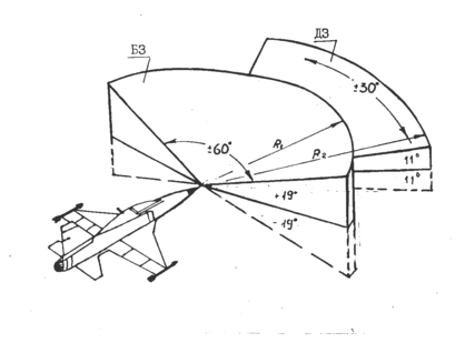
Рассматриваемый фазовый суммарно-разностный радиолокатор (РЛ) входит в состав обзорно-прицельного комплекса тактического самолета (истребителя). Для детальной разработки предлагается канал измерения азимута цели (азимутальный канал) этого РЛ, представляющий собой фазовый суммарно-разностный моноимпульсный радиопеленгатор.
Радиолокаторы самолетов-истребителей предназначены для поиска, обнаружения и определения угловых координат, дальности и скорости целей, находящихся в заданной области пространства (зоне обзора). В общем случае предполагается, что высота полета цели лежит в пределах от 60...100 м, когда цель совершает маловысотный полет (МВП) при преодолении зон противовоздушной обороны, до максимальной высоты, возможной у целей данного класса.
Тактическая ситуация, соответствующая исходным данным на проектирование, предполагает решение частной задачи, когда режим МВП цели не рассматривается, а зона обзора РЛ имеет вид, показанный на рис. 2.1. Обычно зона обзора делится на два участка. Сначала поиск ведется в наиболее опасной ближней зоне БЗ, включающей дальности от
до
, на которой выполняется условие однозначного измерения дальности цели импульсным методом, т.е.
где
и
- период и частота повторения зондирующих импульсов при работе РЛ в ближней зоне.
Рис 2.1
Если цель на дальностях
, не обнаружена, то РЛ переходит в режим обзора дальней зоны ДЗ. В этом режиме используется высокая частота повторения
(
) и уменьшаются угловые размеры зоны обзора, что способствует увеличению дальности обнаружения цели при сохранении того же значения времени обзора (несколько секунд), которое использовалось при обзоре БЗ. Если
, где
- максимальный доплеровский сдвиг частоты отраженного от цели сигнала, то в ДЗ обеспечивается однозначное измерение радиальной скорости этой цели.
При достаточных энергетических возможностях РЛ, т.е. при большой излучаемой мощности и низкой пороговой мощности, задача обнаружения цели и определения ее координат в указанной тактической ситуации может быть решена и при выборе частоты повторения импульсов из условия однозначного измерения дальности при
.
Однако при этом однозначное определение скорости цели невозможно.
В дальнейшем для упрощения задачи рекомендуется считать, что цель уже обнаружена, находится в ближней зоне и летит с постоянной скоростью на одной высоте с истребителем. При этом период повторения импульсов выбирается из условия однозначного измерения дальностей в диапазоне
:
















