11 (1013742), страница 2
Текст из файла (страница 2)
11.4. Расчет давления, температуры и состава для систем с одной химической реакцией
Для термодинамической системы с одной химической реакцией состав системы полностью определяется величиной пробега химической реакции
и СУХР-1 содержит только одну неизвестную – пробег химической реакции
, т.е. состоит из одного уравнения. Текущие значения количеств веществ реагентов равны:
, где i=1, 2, i, кс.
Вещества, не участвующие в химической реакции, влияют на состав смеси реагентов и условия перехода системы в равновесное состояние. Поэтому они формально включаются в уравнение химической реакции со стехиометрическими коэффициентами
. При этом уравнение ХР записывается в виде:
В качестве СУХР-1 для системы с одной ХР, которая содержит одну неизвестную величину ξ, и состоит из одного уравнения, можно использовать условие равенства нулю химического сродства (А = 0) или закон действующих масс в виде:
Такая форма записи более удобна, так как участники реакции при этом могут находиться в любом агрегатном состоянии. В камере сгорания ЖРД рабочее тело рассматривается как газофазная ТС, для которой xi=ni/n,
и
. Тогда
Логарифм константы равновесия (lnKx) хорошо аппроксимируется линейной зависимостью от обратной температуры 1/T:
где величина а –1 равна:
. Обозначим
. Тогда получим:
Это выражение является СУХР 1 для ТС с одной ХР. Известно, что:
а-1 – один и тот же коэффициент для аппроксимаций
и
.Подставим выражение (4) и (7) в уравнение (6). Тогда получим:
Коэффициенты а –1 и а0 находятся из решения системы уравнений для
при двух значениях температуры:
вычисляется через десятичные логарифмы констант равновесия ХР распада каждого реагента на газообразные атомы, а затем находят а –1, и а0 .
берется из таблиц справочника.
Получим уравнение баланса энтальпий для камеры сгорания ЖРД, когда заданы независимые параметры р и Нс, а искомыми величинами являются Т и ξ. При этом в СУХР входит закон действующих масс и уравнение баланса энтальпий. Уравнение баланса энтальпий имеет вид:
, или учитывая, что
, вид:
где Hтоп – энтальпия исходных веществ в начальный момент ХР.
С учетом определения теплового эффекта
уравнение (12) запишем в виде:
Тогда окончательно уравнение баланса энтальпий для камеры сгорания ЖРД будет иметь вид:
11.4.1. Графоаналитический метод решения СУХР для камеры сгорания ЖРД
Для нахождения Т и ξ в данном случае имеем СУХР из двух уравнений, в каждом из которых неизвестные разделены
Решение этой системы уравнений определяется точкой пересечения графиков зависимостей Т=Т(ξ) и ξ=ξ(Т), соответствующей равновесному состоянию термодинамической системы с координатами ξ* и Т*, как видно на следующем рисунке.
Последовательность решения данной задачи следующая:
1. Определяются пробеги ХР
и
:
где i=1, 2, …, кr; индекс кr обозначает число реагентов ХР.
2. Задаваясь табличными значениями температуры Т=2000, 3000, 5000К, по уравнению (2) СУХР определяются величины пробега ХР
и в масштабе строится график зависимости
в координатах
, которая пересекается с прямой
в точке В (как показано на рисунке), определяющей температуру Tmax.
3. Задаваясь рядом значений пробега ХР
, по уравнению (1) СУХР определяются значения температуры и строится график зависимости Т=Т(
) в координатах
.
4. Точка М пересечения кривых
и
определяет равновесные значения
.
Следует отметить, что реакция сгорания углеводородов протекает практически до конца, т.е. разность величин
является малым числом, зависящим от рода горючего и давления. Можно принять, что
, и определить для величин
и
химическое сродство
. Если А>0, то
находится правее
, а если А<0, то
находится левее значения пробега ХР
. Как показано на следующем рисунке:
При
и
, поэтому при
по уравнению СУХР (1) температура Тmax=0, что невыполнимо. Таким образом, описанная задача должна решаться графоаналитическим методом.
11.4.2. Расчет СУХР для заданного сечения сопла
В этом случае задаются два фиксированных параметра: энтропия ТС на входе в сопло – Sc=Sкс и давление рс в заданном сечении сопла.
Если состав продуктов сгорания изменяется по длине сопла, то искомыми величинами являются: пробег ХР
и температура Т, а СУХР имеет вид:
Если химический состав продуктов сгорания не изменяется вдоль сопла, то искомой величиной является только температура в рассматриваемом сечении сопла. При этом уравнение баланса энтропий (2) решается графоаналитическим способом, а энтропия в этом сечении сопла равна энтропии на входе в сопло.
Задаваясь табличными значениями температуры Т по уравнениям (3) рассчитывается энтропия и строится график зависимости
, как показано на следующем рисунке.
Температура Тс определяется графически при
. Это и есть решение уравнения (2).
11.4.3. Задание состава топлива. Коэффициент избытка окислителя
Соотношение между количествами горючего (nГ) и окислителя (nок) для двигателей летательных аппаратов принято задавать с помощью коэффициента избытка окислителя
:
где nок.ст – число молей окислителя стехиометрического состава.
В случае одной химической реакции соотношения количеств nГ и nок стехиометрического состава (
) будет равно:
vГ и vок – стехиометрические коэффициенты горючего и окислителя соответственно.
При заданном
число молей окислителя
После подстановки (3) в (2) имеем:
11.4.4. Термодинамический расчет ракетного двигателя с учетом одной ХР графоаналитическим методом
Для расчетов термодинамических процессов сгорания в камере сгорания ракетного двигателя и расширения продуктов сгорания в реактивном сопле используется метод характеристических функций и таблицы термодинамических свойств индивидуальных веществ. Этот новый метод термодинамических расчетов был разработан для исследования разомкнутых циклов авиационных и ракетных двигателей. В этом случае учитывается, что теплоемкость и другие свойства смеси газов зависят от температуры в процессах сгорания и расширения газов. В характерных точках цикла рассматривается переход термодинамической системы в состояние равновесия при значении химического сродства, равном нулю. При расчете процесса сгорания решается система уравнений, включающая уравнение баланса энтальпий и аппроксимацию закона действующих масс. Предложенное изложение дисциплины соответствует современному уровню развития термодинамики.
Исходные данные для расчета
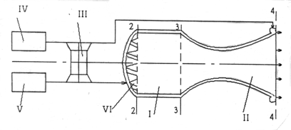
ЖРД – ракетный двигатель, который создает силу тяги за счет вытекания из его сопла газообразных продуктов сгорания топлива, состоит из камеры сгорания (I), сопла Лаваля (II) и турбонасосного агрегата - ТНА (III), который подает горючее и окислитель из баков (IV) и (V) к форсункам (VI), как показано на следующем рисунке:
Рассмотрим ЖРД, работающий на газообразных компонентах топлива. Горючее – углеводородное топливо, окислитель – смесь кислорода и азота, заданная молярными долями (
и
). Горючее и окислитель впрыскиваются в камеру сгорания ЖРД через форсунки VI и определяют состав смеси газов в сечении 2-2 камеры сгорания. Термодинамические параметры в сечениях 2-2 - вход в камеру сгорания, 3-3 – вход в сопло, 4-4 - срез сопла соответствуют термодинамическим параметрам в точках 2, 3 и 4 разомкнутого цикла ЖРД, процессы которого в координатах pV и TS имеют следующий вид:
Процесс 2-3 изобарно – адиабатно - изоэнтальпийный процесс (dp=0,
Q=0, dH=0)сгорания топлива в камере сгорания двигателя. Процесс 3-4 – адиабатно - изоэнтропийный процесс (
Q=0, dS=0) истечения продуктов сгорания из сопла в среду с заданным давлением, причем давление на срезе сопла в сечении 4-4 равно давлению окружающей среды, т.е. сопло – расчетное.
Для определения термодинамических характеристик в сечениях 2-2, 3-3, 4-4 двигателя исходными данными являются: относительное давление в камере сгорания -
=101325 Па, давление на срезе сопла p4, которое равно давлению среды – pу на заданной высоте «у» полета (p4=pу), а также природа топлива, которая характеризуется заданным элементным химическим составом и энтальпией, определяемой по справочным материалам. Элементный химический состав определяет возможный состав индивидуальных веществ, образующих продукты сгорания. Рабочее тело (топливо и продукты сгорания) рассматривается как смесь идеальных газов в расчетных сечениях двигателя. Эта многокомпонентная смесь индивидуальных веществ в газообразном состоянии является простой закрытой термодинамической системой, состояние которой задается двумя независимыми параметрами: p и Н (для камеры сгорания) и p и S (для сопла).Кроме давлений
и p4 , заданными величинами являются также коэффициент избытка окислителя ок и температура топлива в сечении 2-2, равная Т2=298,15К.
Задачей термодинамического расчета ракетного двигателя в условиях термодинамического равновесия реагирующих систем в характерных сечениях двигателя является определение химического состава продуктов сгорания и температуры, а также интегральных и дифференциальных свойств системы в этих сечениях ЖРД.
















